LEMON Manuals: Even more car manuals for everyone
Home >> Toyota >> 2014 >> Prius Two >> Repair and Diagnosis >> External Pages >> Different variant/trim >> Section 148 (Automatic Beam Level Control System (Diagnostic Codes & Circuit Tests) (Plug-In)) >> Automatic Headlight Beam Level Control System >> Circuit Tests >> Speed Signal Circuit [10/2013 - ] >> Procedure

Speed Signal Circuit [10/2013 - ]: Procedure

WARNING: This page is about a different variant/trim than selected.
  1. READ VALUE USING TECHSTREAM 
    1. Connect the Techstream to the DLC3.
    2. Turn the power switch on (IG).
    3. Turn the Techstream on.
    4. Enter the following menus: Body Electrical / HL Auto Leveling / Data List.
    5. Read the display on the Techstream.
      HL AUTO LEVELING

      Tester Display Measurement Item/Range Normal Condition Diagnostic Note
      Vehicle Speed Vehicle speed/0 to 327.67 km/h (203.61 mph) Condition can be displayed -

      OK

      Normal condition listed above is displayed.

    NG → See step   2 

    OK → See step   4 

  2. INSPECT COMBINATION METER ASSEMBLY (NO. 3 METER CIRCUIT PLATE) (OUTPUT WAVEFORM) 
    1. Check the output waveform.
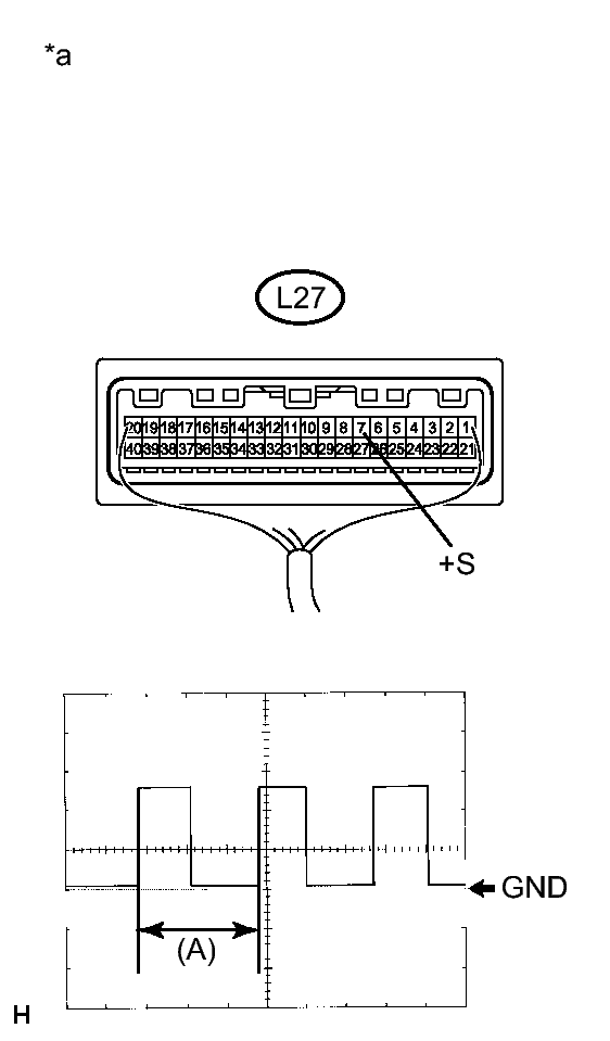
      GTY334240Courtesy of © TOYOTA, LICENSE AGREEMENT TMS1002
      1. Remove the combination meter assembly (No. 3 meter circuit plate) with the connector still connected.
      2. Connect an oscilloscope to terminal L27-7 (+S) and body ground.
      3. Turn the power switch on (IG).
      4. Check the signal waveform according to the condition(s) in the table below.
        Item Condition
        Tool setting 5 V/DIV., 20 ms./DIV.
        Vehicle condition Driving at approx. 20 km/h (12 mph)

        OK

        The waveform is displayed as shown in the illustration.

        TEXT IN ILLUSTRATION

        *a Component with harness connected
        (Combination Meter Assembly (No. 3 Meter Circuit Plate))

        HINT: 

        When the system is functioning normally, one wheel revolution generates 4 pulses. As the vehicle speed increases, the width indicated by (A) in the illustration narrows.

    NG → See step   5 

    OK: Go to next step 

  3. CHECK HARNESS AND CONNECTOR (HEADLIGHT LEVELING ECU ASSEMBLY - COMBINATION METER ASSEMBLY) 
    1. Disconnect the L27 combination meter assembly connector.
    2. Disconnect the A96 headlight leveling ECU assembly connector.
    3. Measure the resistance according to the value(s) in the table below.

      Standard Resistance

      Tester Connection Condition Specified Condition
      A96-16 (SPDR) - L27-7 (+S) Always Below 1 Ω

    NG → REPAIR OR REPLACE HARNESS OR CONNECTOR 

    OK → See step   6 

  4. PROCEED TO NEXT SUSPECTED AREA SHOWN IN PROBLEM SYMPTOMS TABLE. Refer to  PROBLEM SYMPTOMS TABLE [10/2013 - ] 
  5. GO TO METER / GAUGE SYSTEM. Refer to  Speed Signal Circuit [10/2013 - ] 
  6. REPLACE HEADLIGHT LEVELING ECU ASSEMBLY. Refer to  REMOVAL [10/2013 - ]