LEMON Manuals: Even more car manuals for everyone
Home >> Toyota >> 2014 >> Prius Two >> Repair and Diagnosis >> External Pages >> Different variant/trim >> Section 138 (Occupant Classification System (Diagnostic Codes & Symptom Tests) (Plug-In)) >> Occupant Classification System >> DTC B1782: Rear Occupant Classification Sensor LH Circuit Malfunction [10/2013 - ] >> Procedure

DTC B1782: Rear Occupant Classification Sensor LH Circuit Malfunction [10/2013 - ]: Procedure

WARNING: This page is about a different variant/trim than selected.
  1. CHECK CONNECTORS 
    1. Turn the power switch off.
    2. Disconnect the cable from the negative (-) auxiliary battery terminal.
    3. Check that the connectors are properly connected to the occupant detection ECU and rear occupant classification sensor LH.

      OK

      The connectors are properly connected.

      HINT: 

      If the connectors are not connected securely, reconnect the connectors and proceed to the next inspection.

    4. Disconnect the connectors from the occupant detection ECU and rear occupant classification sensor LH.
    5. Check that the terminals of the connectors are not damaged.

      OK

      The terminals are not deformed or damaged.

    NG → REPLACE FRONT SEAT WIRE RH 

    OK: Go to next step 

  2. CHECK FRONT SEAT WIRE RH (SHORT TO B+) 
    1. Connect the cable to the negative (-) auxiliary battery terminal.
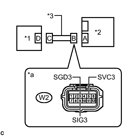
      GTY326654Courtesy of © TOYOTA, LICENSE AGREEMENT TMS1002
    2. Turn the power switch on (IG).
    3. Measure the voltage according to the value(s) in the table below.

      Standard Voltage

      Tester Connection Condition Specified Condition
      W2-3 (SGD3) - Body ground Power switch on (IG) Below 1 V
      W2-5 (SVC3) - Body ground Power switch on (IG) Below 1 V
      W2-9 (SIG3) - Body ground Power switch on (IG) Below 1 V
    4. Turn the power switch off.
    5. Disconnect the cable from the negative (-) auxiliary battery terminal.
      TEXT IN ILLUSTRATION

      *1 Rear Occupant Classification Sensor LH
      *2 Occupant Detection ECU
      *3 Front Seat Wire RH
      *a Front view of wire harness connector
      (to Occupant Detection ECU)

    NG → See step   14 

    OK: Go to next step 

  3. CHECK FRONT SEAT WIRE RH (OPEN) 
    1. Using a service wire, connect terminals 1 (SVC3) and 3 (SGD3), and connect terminals 2 (SIG3) and 3 (SGD3) of connector C.
      GTY339409Courtesy of © TOYOTA, LICENSE AGREEMENT TMS1002
      NOTE:

      Do not forcibly insert the service wire into the terminals of the connector when connecting the wire.

    2. Measure the resistance according to the value(s) in the table below.

      Standard Resistance

      Tester Connection Condition Specified Condition
      W2-5 (SVC3) - W2-3 (SGD3) Always Below 1 Ω
      W2-9 (SIG3) - W2-3 (SGD3) Always Below 1 Ω
    3. Disconnect the service wire from connector C.
      TEXT IN ILLUSTRATION

      *1 Rear Occupant Classification Sensor LH
      *2 Occupant Detection ECU
      *3 Front Seat Wire RH
      *4 Service Wire
      *a Front view of wire harness connector
      (to Occupant Detection ECU)
      *b Front view of wire harness connector
      (to Rear Occupant Classification Sensor LH)

    NG → REPLACE FRONT SEAT WIRE RH 

    OK: Go to next step 

  4. CHECK FRONT SEAT WIRE RH (SHORT) 
    1. Measure the resistance according to the value(s) in the table below.
      GTY326654Courtesy of © TOYOTA, LICENSE AGREEMENT TMS1002

      Standard Resistance

      Tester Connection Condition Specified Condition
      W2-5 (SVC3) - W2-3 (SGD3) Always 1 MΩ or higher
      W2-9 (SIG3) - W2-3 (SGD3) Always 1 MΩ or higher
      W2-5 (SVC3) - W2-9 (SIG3) Always 1 MΩ or higher
      TEXT IN ILLUSTRATION

      *1 Rear Occupant Classification Sensor LH
      *2 Occupant Detection ECU
      *3 Front Seat Wire RH
      *a Front view of wire harness connector
      (to Occupant Detection ECU)

    NG → REPLACE FRONT SEAT WIRE RH 

    OK: Go to next step 

  5. CHECK FRONT SEAT WIRE RH (SHORT TO GROUND) 
    1. Measure the resistance according to value(s) in the table below.
      GTY326654Courtesy of © TOYOTA, LICENSE AGREEMENT TMS1002

      Standard Resistance

      Tester Connection Condition Specified Condition
      W2-3 (SGD3) - Body ground Always 1 MΩ or higher
      W2-5 (SVC3) - Body ground Always 1 MΩ or higher
      W2-9 (SIG3) - Body ground Always 1 MΩ or higher
      TEXT IN ILLUSTRATION

      *1 Rear Occupant Classification Sensor LH
      *2 Occupant Detection ECU
      *3 Front Seat Wire RH
      *a Front view of wire harness connector
      (to Occupant Detection ECU)

    NG → REPLACE FRONT SEAT WIRE RH 

    OK: Go to next step 

  6. CHECK DTC 
    1. Connect the connectors to the occupant detection ECU and rear occupant classification sensor LH.
    2. Connect the cable to the negative (-) auxiliary battery terminal.
    3. Clear the DTCs stored in the occupant detection ECU. Refer to DTC CHECK / CLEAR [10/2013 - ] .
    4. Clear the DTCs stored in the airbag ECU assembly. Refer to DTC CHECK / CLEAR [10/2013 - ] .
    5. Turn the power switch off.
    6. Turn the power switch on (IG).
    7. Check for DTCs. Refer to DTC CHECK / CLEAR [10/2013 - ] .

      OK

      DTC B1782 is not output.

      HINT: 

      Codes other than DTC B1782 may be output at this time, but they are not related to this check.

    8. Turn the power switch off.

    NG → See step   7 

    OK → See step   17 

  7. CHECK OCCUPANT DETECTION ECU 
    1. Disconnect the cable from the negative (-) auxiliary battery terminal.
    2. Replace the occupant detection ECU with a known good one. Refer to REMOVAL [10/2013 - ] .

      HINT: 

      Perform the following inspection using known good parts from another vehicle if possible.

    3. Connect the cable to the negative (-) auxiliary battery terminal.
    4. Clear the DTCs stored in the occupant detection ECU. Refer to DTC CHECK / CLEAR [10/2013 - ] .
    5. Clear the DTCs stored in the airbag ECU assembly. Refer to DTC CHECK / CLEAR [10/2013 - ] .
    6. Turn the power switch off.
    7. Turn the power switch on (IG).
    8. Check for DTCs. Refer to DTC CHECK / CLEAR [10/2013 - ] .

      OK

      DTC B1782 is not output.

      HINT: 

      Codes other than DTC B1782 may be output at this time, but they are not related to this check.

    9. Turn the power switch off.
    10. Disconnect the cable from the negative (-) auxiliary battery terminal.
    11. Return the occupant detection ECU that was installed for testing to its original location. Refer to REMOVAL [10/2013 - ] .

    NG → See step   11 

    OK: Go to next step 

  8. REPLACE OCCUPANT DETECTION ECU 
    1. Disconnect the cable from the negative (-) auxiliary battery terminal.
    2. Replace the occupant detection ECU with a new one. Refer to REMOVAL [10/2013 - ] .
    3. Connect the cable to the negative (-) auxiliary battery terminal.

    NEXT: Go to next step 

  9. PERFORM ZERO POINT CALIBRATION 
    1. Using the Techstream, perform Zero Point Calibration. Refer to INITIALIZATION [10/2013 - ] .

    NEXT: Go to next step 

  10. PERFORM SENSITIVITY CHECK 
    1. Using the Techstream, perform Sensitivity Check. Refer to INITIALIZATION [10/2013 - ] .

    NEXT → END 

  11. REPLACE SEPARATE TYPE FRONT SEAT CUSHION SPRING ASSEMBLY 
    1. Disconnect the cable from the negative (-) auxiliary battery terminal.
    2. Replace the separate type front seat cushion spring assembly. Refer to REMOVAL [10/2013 - ] .
    3. Connect the cable to the negative (-) auxiliary battery terminal.

    NEXT: Go to next step 

  12. PERFORM ZERO POINT CALIBRATION 
    1. Using the Techstream, perform Zero Point Calibration. Refer to INITIALIZATION [10/2013 - ] .

    NEXT: Go to next step 

  13. PERFORM SENSITIVITY CHECK 
    1. Using the Techstream, perform Sensitivity Check. Refer to INITIALIZATION [10/2013 - ] .

    NEXT → END 

  14. REPLACE SEPARATE TYPE FRONT SEAT CUSHION SPRING ASSEMBLY 
    1. Disconnect the cable from the negative (-) auxiliary battery terminal.
    2. Replace the separate type front seat cushion spring assembly. Refer to REMOVAL [10/2013 - ] .
      NOTE:

      Replace the front seat wire RH at the same time.

      HINT: 

      When the front seat wire RH has a short to B+, the rear occupant classification sensor LH will be damaged. Therefore, replace the front seat wire RH and the separate type front seat cushion spring assembly, which includes the rear occupant classification sensor LH.

    3. Connect the cable to the negative (-) auxiliary battery terminal.

    NEXT: Go to next step 

  15. PERFORM ZERO POINT CALIBRATION 
    1. Using the Techstream, perform Zero Point Calibration. Refer to INITIALIZATION [10/2013 - ] .

    NEXT: Go to next step 

  16. PERFORM SENSITIVITY CHECK 
    1. Using the Techstream, perform Sensitivity Check. Refer to INITIALIZATION [10/2013 - ] .

    NEXT → END 

  17. USE SIMULATION METHOD TO CHECK. Refer to  HOW TO PROCEED WITH TROUBLESHOOTING [10/2013 - ]