LEMON Manuals: Even more car manuals for everyone
Home >> Toyota >> 2014 >> Prius Two >> Repair and Diagnosis >> Engine Performance >> System >> Engine Control System (Diagnostic Codes & Circuit Tests) (Except Plug-In) >> SFI System >> Circuit Tests >> EVAP System [10/2013 - ] >> Procedure

EVAP System [10/2013 - ]: Procedure

  1. CONFIRM DTC 
    1. Turn the power switch off and wait for 10 seconds.
    2. Turn the power switch on (IG).
    3. Turn the power switch off and wait for 10 seconds.
    4. Connect the Techstream to the DLC3.
    5. Turn the power switch on (IG) and turn the Techstream on.
    6. Enter the following menus: Powertrain / Engine and ECT / Trouble Codes.
    7. Confirm DTCs and freeze frame data.

      If any EVAP system DTCs are stored, the malfunctioning area can be determined using the table below.

      GTY316235Courtesy of © TOYOTA, LICENSE AGREEMENT TMS1002
      NOTE:

      If the reference pressure difference between the first and second checks is more than the specification, all the DTCs relating to the reference pressure (P043E, P043F, P2401, P2402, and P2419) will all be stored.

    NEXT: Go to next step 

  2. PERFORM EVAPORATIVE SYSTEM CHECK (AUTOMATIC MODE) 
    NOTE:
    • The Evaporative System Check (Automatic Mode) consists of 6 steps performed automatically by the Techstream. It takes a maximum of approximately 24 minutes.
    • Do not perform the Evaporative System Check when the fuel tank is higher than 90% full because the cut-off valve may be closed, making the fuel tank leak check unavailable.
    • Do not run the engine during this operation.
    • When the temperature of the fuel is 35°C (95°F) or higher, a large amount of vapor forms and any check results become inaccurate. When performing the Evaporative System Check, keep the temperature below 35°C (95°F).
    1. Connect the Techstream to the DLC3.
    2. Turn the power switch on (IG).
    3. Turn the Techstream on.
    4. Clear the DTCs. Refer to DTC CHECK / CLEAR [10/2013 - ] .
    5. Enter the following menus: Powertrain / Engine and ECT / Utility / Evaporative System Check / Automatic Mode.
    6. After the Evaporative System Check is completed, check for pending DTCs by entering the following menus: Powertrain / Engine and ECT / Trouble Codes / Pending.

      HINT: 

      If no pending DTCs are displayed, perform the Confirmation Driving Pattern. After this confirmation, check for pending DTCs. If no DTCs are displayed, the EVAP system is normal.

    NEXT: Go to next step 

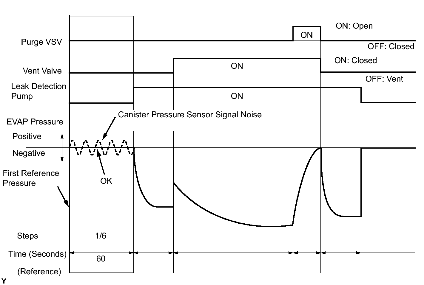
  3. PERFORM EVAPORATIVE SYSTEM CHECK (MANUAL MODE) 
    GTY340617Courtesy of © TOYOTA, LICENSE AGREEMENT TMS1002
    NOTE:
    • In the Evaporative System Check (Manual Mode), the series of 6 Evaporative System Check steps are performed manually using the Techstream.
    • Do not perform the Evaporative System Check when the fuel tank is higher than 90% full because the cut-off valve may be closed, making the fuel tank leak check unavailable.
    • Do not run the engine during this operation.
    • When the temperature of the fuel is 35°C (95°F) or higher, a large amount of vapor forms and any check results become inaccurate. When performing the Evaporative System Check, keep the temperature below 35°C (95°F).
    1. Connect the Techstream to the DLC3.
    2. Turn the power switch on (IG).
    3. Turn the Techstream on.
    4. Clear the DTCs. Refer to DTC CHECK / CLEAR [10/2013 - ] .
    5. Enter the following menus: Powertrain / Engine and ECT / Utility / Evaporative System Check / Manual Mode.

    NEXT: Go to next step 

  4. PERFORM EVAPORATIVE SYSTEM CHECK (STEP 1/6) 
    GTY341148Courtesy of © TOYOTA, LICENSE AGREEMENT TMS1002
    1. Check the EVAP pressure in step 1/6.
      RESULT

      DTC
      *1
      Result Suspected Trouble Area Proceed to
      - Virtually no variation in EVAP pressure Not yet determined A
      P0451 EVAP pressure fluctuates by +/-0.3 kPa(gauge) [2.25 mmHg(gauge)] or higher Canister pressure sensor signal noise B
      (P0452 or P0453)
      *2
      • EVAP pressure is less than 42.11 kPa(abs) [315.867 mmHg(abs)], or higher than 123.761kPa(abs) [928.331 mmHg(abs)]
      • EVAP pressure deviates +/-10 kPa [+/-75 mmHg] from actual atmosphere pressure *3
      Canister pressure sensor or its circuit has malfunction C
      • *1: These DTCs are already present in the ECM when the vehicle arrives and are confirmed in the "Confirm DTC" procedure above.
      • *2: If the canister pressure sensor circuit has an open or short, DTC P0452 or P0453 is stored 0.5 seconds after the power switch is turned on (IG).

      HINT: 

      *3: Canister pressure sensor standard output range is 70 to 111 kPa(abs) [525 to 833 mmHg(abs)]. This varies by weather.

    B → See step   38 

    C → See step   12 

    A: Go to next step 

  5. PERFORM EVAPORATIVE SYSTEM CHECK (STEP 1/6 TO 2/6) 
    GTY329078Courtesy of © TOYOTA, LICENSE AGREEMENT TMS1002
    1. Check the EVAP pressure in steps 1/6 and 2/6.
      RESULT

      DTC* Result Suspected Trouble Area Proceed to
      - Virtually no variation in EVAP pressure during step 1/6. Then decreases to reference pressure Not yet determined A
      P2402 Small difference between EVAP pressures during steps 1/6 and 2/6 Leak detection pump stuck ON B

      *: These DTCs are already present in the ECM when the vehicle arrives and are confirmed in the "Confirm DTC" procedure above.

      HINT: 

      The first reference pressure is the value determined in step 2/6.

    B → See step   31 

    A: Go to next step 

  6. PERFORM EVAPORATIVE SYSTEM CHECK (STEP 2/6) 
    GTY326379Courtesy of © TOYOTA, LICENSE AGREEMENT TMS1002

    HINT: 

    Make a note of the pressures checked in inspection items (A) and (B) below.

    1. Check the EVAP pressure 4 seconds after the leak detection pump is activated*1 (A).

      *1: The leak detection pump begins to operate as step 1/6 finishes and step 2/6 starts.

    2. Check the EVAP pressure again when it has stabilized. This pressure is the reference pressure (B).
      RESULT

      DTC*2 Result Suspected Trouble Area Proceed to
      - EVAP pressure in inspection item (B) is between -4.85 kPa(gauge) and -1.057 kPa(gauge) [-36.375 mmHg(gauge) and -7.928 mmHg(gauge)] Not yet determined A
      P043F and P2401 EVAP pressure in inspection item (B) is -1.057 kPa(gauge) [-7.928 mmHg(gauge)] or higher
      • Reference orifice high-flow
      • Leak detection pump stuck OFF
      B
      P043E EVAP pressure in inspection item (B) is less than -4.85 kPa(gauge) [-36.375 mmHg(gauge)] Reference orifice clogged C
      P2419 EVAP pressure in inspection item (A) is higher than -0.25 kPa(gauge) [-1.875 mmHg(gauge)]
      • Vent valve stuck closed
      • Leak detection pump performance deteriorates
      • Leak detection pump circuit malfunctioning (large resistance exists in the circuit)
      D

      *2: These DTCs are already present in the ECM when the vehicle arrives and are confirmed in the "Confirm DTC" procedure above.

    B → See step   11 

    C → See step   38 

    D → See step   13 

    A: Go to next step 

  7. PERFORM EVAPORATIVE SYSTEM CHECK (STEP 2/6 TO 3/6) 
    GTY339901Courtesy of © TOYOTA, LICENSE AGREEMENT TMS1002
    1. Check the EVAP pressure in step 3/6.
      RESULT

      DTC* Result Suspected Trouble Area Proceed to
      - EVAP pressure increases by 0.3 kPa(gauge) [2.25 mmHg(gauge)] or higher within 10 seconds of proceeding from step 2/6 to step 3/6 Not yet determined A
      P2420 No variation in EVAP pressure even after proceeding from step 2/6 to step 3/6
      • Vent valve stuck open (vent)
      • Canister (charcoal filter inside canister) clogged
      • No. 1 canister (charcoal filter inside canister) clogged
      B

      *: These DTCs are already present in the ECM when the vehicle arrives and are confirmed in the "Confirm DTC" procedure above.

    B → See step   27 

    A: Go to next step 

  8. PERFORM EVAPORATIVE SYSTEM CHECK (STEP 3/6) 
    GTY335280Courtesy of © TOYOTA, LICENSE AGREEMENT TMS1002
    1. Wait until the EVAP pressure change is less than 0.12 kPa(gauge) [0.9 mmHg(gauge)] for 30 seconds.
    2. Measure the EVAP pressure and record it.

      HINT: 

      A few minutes are required for the EVAP pressure to become saturated. When there is little fuel in the fuel tank, it takes up to 15 minutes.

    NEXT: Go to next step 

  9. PERFORM EVAPORATIVE SYSTEM CHECK (STEP 4/6) 
    GTY326698Courtesy of © TOYOTA, LICENSE AGREEMENT TMS1002
    1. Check the EVAP pressure in step 4/6.
      RESULT

      DTC*1 Result Suspected Trouble Area Proceed to
      - EVAP pressure increases by 0.3 kPa(gauge) [2.25 mmHg(gauge)] or higher within 10 seconds of proceeding from step 3/6 to step 4/6 Not yet determined A
      P0441
      *2
      EVAP pressure increases by 0.3 kPa(gauge) [2.25 mmHg(gauge)] or higher more than 10 seconds of proceeding from step 3/6 to step 4/6
      • Purge VSV
      • Purge VSV circuit
      • Problems in EVAP hose between purge VSV and intake manifold
      • Problems in EVAP hose between canister and purge VSV
      • ECM
      B
      P0441 Variation in EVAP pressure is less than 0.3 kPa(gauge) [2.25 mmHg(gauge)] for 10 seconds, after proceeding from step 3/6 to step 4/6
      • Purge VSV stuck closed
      • Purge VSV circuit
      • Canister (charcoal filter inside canister) clogged
      • No. 1 canister (charcoal filter inside canister) clogged
      • Problems in EVAP hose between purge VSV and intake manifold
      • Problems in EVAP hose between canister and purge VSV
      • ECM
      C
      • *1: These DTCs are already present in the ECM when the vehicle arrives and are confirmed in the "Confirm DTC" procedure above.
      • *2: This result suggests that due to purge line blockage or purge VSV malfunction, the DTC was stored by the purge flow monitor while the engine was running, or that key-off monitor test result were nearly borderline values.

    B → See step   22 

    C → See step   17 

    A: Go to next step 

  10. PERFORM EVAPORATIVE SYSTEM CHECK (STEP 5/6) 
    GTY335035Courtesy of © TOYOTA, LICENSE AGREEMENT TMS1002
    1. Check the EVAP pressure in step 5/6.
    2. Compare the EVAP pressure in step 3/6 and the second reference pressure (step 5/6).
      RESULT

      DTC* Result Suspected Trouble Area Proceed to
      - EVAP pressure from step 3/6 lower than second reference pressure (step 5/6) Not yet determined (no leakage from EVAP system) A
      P0441 and P0455 EVAP pressure from step 3/6 higher than [second reference pressure (step 5/6) x 0.2]
      • Purge VSV stuck open
      • EVAP gross leak
      B
      P0456 EVAP pressure from step 3/6 higher than second reference pressure (step 5/6) EVAP small leak B

      *: These DTCs are already present in the ECM when the vehicle arrives and are confirmed in the "Confirm DTC" procedure above.

    A → See step   43 

    B → See step   17 

  11. PERFORM EVAPORATIVE SYSTEM CHECK (STEP 3/6) 
    GTY327332Courtesy of © TOYOTA, LICENSE AGREEMENT TMS1002
    1. Check the EVAP pressure in step 3/6.
      RESULT

      DTC* Result Suspected Trouble Area Proceed to
      P043F EVAP pressure less than [reference pressure] measured in step 2/6 Reference orifice high-flow A
      P2401 EVAP pressure almost same as [reference pressure] measured in step 2/6 Leak detection pump stuck off B

      *: These DTCs are already present in the ECM when the vehicle arrives and are confirmed in the "Confirm DTC" procedure above.

      HINT: 

      The first reference pressure is the value determined in step 2/6.

    A → See step   38 

    B → See step   31 

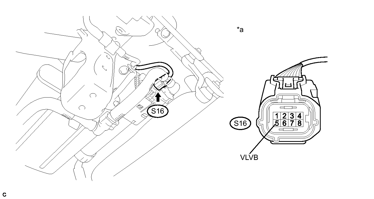
  12. INSPECT CANISTER PUMP MODULE (CANISTER PRESSURE SENSOR CIRCUIT) 
    1. Check the canister pressure sensor circuit, referring to DTC P0451 canister pressure sensor circuit inspection procedure. Refer to DTC P0451: Evaporative Emission Control System Pressure Sensor Range / Performance; DTC P0452: Evaporative Emission Control System Pressure Sensor / Switch Low Input; DTC P0453: Evaporative Emission Control System Pressure Sensor / Switch High Input [10/2013 - ] .

    NEXT → See step   48 

  13. INSPECT CANISTER PUMP MODULE (VENT VALVE OPERATION) 
    1. Turn the power switch off.
    2. Disconnect the canister pump module connector.
      GTY234546Courtesy of © TOYOTA, LICENSE AGREEMENT TMS1002
      TEXT IN ILLUSTRATION

      *1 Component without harness connected
      (Canister Pump Module)
    3. Apply the auxiliary battery voltage to terminals VLVB and VGND of the pump module.
    4. Touch the canister pump module to confirm the vent valve operation.
      RESULT

      Condition Tester Result Suspected Trouble Area Proceed to
      Apply auxiliary battery voltage to terminals VLVB and VGND Operating
      • Wire harness or connector between vent valve and ECM
      • Leak detection pump performance deteriorates
      • Leak detection pump circuit malfunctioning (large resistance exists in the circuit)
      • ECM
      A
      Not operating Vent valve B

    B → See step   38 

    A: Go to next step 

  14. CHECK HARNESS AND CONNECTOR (CANISTER PUMP MODULE - ECM) 
    1. Turn the power switch off.
    2. Disconnect the ECM connector.
    3. Disconnect the canister pump module connector.
    4. Measure the resistance according to the value(s) in the table below.

      Standard Resistance

      Tester Connection Condition Specified Condition
      A57-42 (VPMP) - S16-1 (VGND) Always Below 1 Ω
      A57-42 (VPMP) or S16-1 (VGND) - Body ground Always 10 kΩ or higher
      RESULT

      Result Suspected Trouble Area Proceed to
      OK
      • Leak detection pump performance deteriorates
      • Leak detection pump circuit malfunctioning (large resistance exists in the circuit)
      • ECM
      A
      NG Wire harness or connector between ECM and canister pump module B

    B → See step   40 

    A: Go to next step 

  15. CHECK HARNESS AND CONNECTOR (CANISTER PUMP MODULE - BODY GROUND) 
    1. Disconnect the canister pump module connector.
    2. Measure the resistance according to the value(s) in the table below.
      RESULT

      Tester Connection Condition Specified Condition Suspected Trouble Area Proceed to
      S16-4 (MGND) - Body ground Always Below 1 Ω
      • Canister pump module
      • Wire harness or connector between canister pump module and ECM
      • ECM
      A
      10 kΩ or higher Wire harness or connector between canister pump module and body ground B

    B → See step   40 

    A: Go to next step 

  16. CHECK HARNESS AND CONNECTOR (ECM - CANISTER PUMP MODULE) 
    1. Disconnect the canister pump module connector.
    2. Disconnect the ECM connector.
    3. Measure the resistance according to the value(s) in the table below.
      RESULT

      Tester Connection Condition Specified Condition Suspected Trouble Area Proceed to
      A57-34 (MPMP) - S16-3 (MTRB) Always Below 1 Ω
      • Canister pump module
      • ECM
      A
      10 kΩ or higher Wire harness or connector between ECM and canister pump module B

    A → See step   45 

    B → See step   40 

  17. PERFORM ACTIVE TEST USING TECHSTREAM (PURGE VSV) 
    1. Enter the following menus: Powertrain / Engine and ECT / Active Test / Activate the VSV for EVAP Control.
    2. Disconnect the hose (connected to the canister) from the purge VSV.
      GTY236847Courtesy of © TOYOTA, LICENSE AGREEMENT TMS1002
      TEXT IN ILLUSTRATION

      *1 Purge VSV
      *2 Hose (to Canister)
    3. Start the engine.
    4. Using the Techstream, turn off the purge VSV (Activate the VSV for Evap Control: OFF).
    5. Use your finger to confirm that the purge VSV has no suction.
    6. Using the Techstream, turn on the purge VSV (Activate the VSV for Evap Control: ON).
    7. Use your finger to confirm that the purge VSV has suction.
      RESULT

      Test Result Suspected Trouble Area Proceed to
      No suction when purge VSV turned off, and suction applied when turned on Blockage in the purge line is considered (based on result of step 9):
      • Problems with EVAP hose between canister and purge VSV
      • Canister (charcoal filter inside canister) clogged
      • ECM
      A
      Leakage is considered (based on result of step 10):
      • Fuel cap
      • Leakage from EVAP line, fuel tank, or canister
      B
      Suction applied when purge VSV turned off
      • Purge VSV stuck open
      C
      No suction when purge VSV turned on
      • Purge VSV stuck closed
      • Problems with EVAP hose between purge VSV and intake manifold
      D

    B → See step   20 

    C → See step   21 

    D → See step   23 

    A: Go to next step 

  18. INSPECT EVAP HOSE (PURGE VSV - CANISTER) 
    1. Check for blockages in the EVAP purge line between the purge VSV and canister.

      OK

      No blockages in the EVAP purge line between the purge VSV and canister.

    NG → See step   44 

    OK: Go to next step 

  19. INSPECT CANISTER (CHARCOAL FILTER INSIDE CANISTER) 
    1. Check for filter blockage in the canister. Refer to INSPECTION [10/2013 - ] .

      OK

      No blockages in the canister.

    OK → See step   47 

    NG → See step   38 

  20. CHECK FUEL CAP 
    1. Check that the fuel cap is correctly installed and confirm that the fuel cap meets OEM specifications.
    2. Tighten the fuel cap firmly (only one click sound could be heard).

      HINT: 

      If an EVAP tester is available, check the fuel cap using the tester.

      1. Remove the fuel cap and install it onto a fuel cap adapter.
      2. Connect an EVAP tester pump hose to the adapter, and pressurize the cap to 3.2 to 3.7 kPa(gauge) [24 to 28 mmHg(gauge)] using an EVAP tester pump.
      3. Seal the adapter and wait for 2 minutes.
      4. Check the pressure. If the pressure is 2 kPa(gauge) [15 mmHg(gauge)] or higher, the fuel cap is normal.
        RESULT

        Test Result Suspected Trouble Area Proceed to
        Fuel cap correctly installed - A
        Fuel cap loose
        • Fuel cap improperly installed
        • Defective fuel cap
        • Fuel cap does not meet OEM specifications
        B
        Defective fuel cap - B
        No fuel cap - C

    A → See step   37 

    B → See step   35 

    C → See step   36 

  21. INSPECT PURGE VSV 
    1. Turn the power switch off.
    2. Disconnect the purge VSV connector.
      GTY215319Courtesy of © TOYOTA, LICENSE AGREEMENT TMS1002
      TEXT IN ILLUSTRATION

      *1 Hose (to Canister)
      *2 Connector
      *3 Purge VSV
    3. Disconnect the hose (connected to the canister) from the purge VSV.
    4. Start the engine.
    5. Use your finger to confirm that the purge VSV has no suction.
      RESULT

      Test Result Suspected Trouble Area Proceed to
      No suction
      • Wire harness or connector between purge VSV and ECM
      • ECM
      A
      Suction applied Purge VSV B

    A → See step   26 

    B → See step   39 

  22. INSPECT EVAP HOSE (PURGE VSV - CANISTER) 
    1. Check for blockages in the EVAP purge line between the purge VSV and canister.

      OK

      No blockages in the EVAP purge line between the purge VSV and canister.

    NG → See step   44 

    OK: Go to next step 

  23. CHECK EVAP HOSE (PURGE VSV - INTAKE MANIFOLD) 
    1. Disconnect the hose (connected to the intake manifold) from the purge VSV.
      GTY215887Courtesy of © TOYOTA, LICENSE AGREEMENT TMS1002
      TEXT IN ILLUSTRATION

      *1 Purge VSV
      *2 Hose (to intake manifold)
    2. Start the engine.
    3. Use your finger to confirm that the hose has suction.
      RESULT

      Test Result Suspected Trouble Area Proceed to
      Suction applied EVAP hose between purge VSV and intake manifold normal
      • Purge VSV
      • Purge VSV power source
      • Wire harness or connector between purge VSV and ECM
      A
      No suction
      • Intake manifold port
      • EVAP hose between purge VSV and intake manifold
      B

    B → See step   34 

    A: Go to next step 

  24. INSPECT PURGE VSV 
    1. Remove the purge VSV.
    2. Apply auxiliary battery voltage to the terminals of the purge VSV.
      GTY325235Courtesy of © TOYOTA, LICENSE AGREEMENT TMS1002
      TEXT IN ILLUSTRATION

      *1 Purge VSV
    3. Confirm that air flows from port E to port F.
      RESULT

      Test Result Condition Suspected Trouble Area Proceed to
      Air flows Auxiliary battery voltage is applied to purge VSV terminals Purge VSV normal
      • Purge VSV power source
      • Wire harness or connector between purge VSV and ECM
      A
      No air flow Auxiliary battery voltage is applied to purge VSV terminals Purge VSV B

    B → See step   39 

    A: Go to next step 

  25. CHECK TERMINAL VOLTAGE (POWER SOURCE OF PURGE VSV) 
    1. Disconnect the purge VSV connector.
    2. Turn the power switch on (IG).
      GTY291890Courtesy of © TOYOTA, LICENSE AGREEMENT TMS1002
      TEXT IN ILLUSTRATION

      *a Front view of wire harness connector
      (to Purge VSV)
    3. Measure the voltage according to the value(s) in the table below.
      RESULT

      Tester Connection Condition Specified Condition Suspected Trouble Area Proceed to
      D11-2 - Body ground Power switch on (IG) 11 to 14 V Purge VSV power source normal
      • Wire harness or connector between purge VSV and ECM
      A
      Other than result above Wire harness or connectors between purge VSV and auxiliary battery B

    B → See step   40 

    A: Go to next step 

  26. CHECK HARNESS AND CONNECTOR (PURGE VSV - ECM) 
    1. Disconnect the ECM connector.
    2. Disconnect the purge VSV connector.
    3. Measure the resistance according to the value(s) in the table below.

      Standard Resistance

      Tester Connection Condition Specified Condition
      D11-1 - D28-28 (PRG) Always Below 1 Ω
      D11-1 or D28-28 (PRG) - Body ground Always 10 kΩ or higher

    OK → See step   47 

    NG → See step   40 

  27. INSPECT CANISTER PUMP MODULE (POWER SOURCE FOR VENT VALVE) 
    1. Turn the power switch off.
      GTY292511Courtesy of © TOYOTA, LICENSE AGREEMENT TMS1002
      TEXT IN ILLUSTRATION

      *a Front view of wire harness connector
      (to Canister Pump Module)
      - -
    2. Disconnect the canister pump module connector.
    3. Turn the power switch on (IG).
    4. Measure the voltage according to the value(s) in the table below.
      RESULT

      Tester Connection Condition Specified Condition Suspected Trouble Area Proceed to
      S16-5 (VLVB) - Body ground Power switch on (IG) 11 to 14 V
      • Wire harness or connector between vent valve and ECM
      • Vent valve
      • Canister (charcoal filter inside canister) clogged
      • No. 1 canister (charcoal filter inside canister) clogged
      • ECM
      A
      Below 3 V
      • Power source wire harness of vent valve
      B

    B → See step   40 

    A: Go to next step 

  28. INSPECT CANISTER PUMP MODULE (VENT VALVE OPERATION) 
    1. Turn the power switch off.
    2. Disconnect the canister pump module connector.
      GTY234546Courtesy of © TOYOTA, LICENSE AGREEMENT TMS1002
      TEXT IN ILLUSTRATION

      *1 Component without harness connected
      (Canister Pump Module)
    3. Apply the auxiliary battery voltage to terminals VLVB and VGND of the pump module.
    4. Touch the canister pump module to confirm the vent valve operation.
      RESULT

      Condition Tester Result Suspected Trouble Area Proceed to
      Apply auxiliary battery voltage to terminals VLVB and VGND Operating
      • Wire harness or connector between vent valve and ECM
      • Canister (charcoal filter inside canister) clogged
      • No. 1 canister (charcoal filter inside canister) clogged
      • ECM
      A
      Not operating
      • Vent valve
      B

    B → See step   38 

    A: Go to next step 

  29. CHECK HARNESS AND CONNECTOR (CANISTER PUMP MODULE - ECM) 
    1. Turn the power switch off.
    2. Disconnect the ECM connector.
    3. Disconnect the canister pump module connector.
    4. Measure the resistance according to the value(s) in the table below.
      RESULT

      Tester Connection Condition Test Result Suspected Trouble Area Proceed to
      A57-42 (VPMP) - S16-1 (VGND) Always Below 1 Ω
      • Canister (charcoal filter inside canister) clogged
      • No. 1 canister (charcoal filter inside canister) clogged
      • ECM
      A
      10 kΩ or higher Wire harness or connector between ECM and canister pump module B

    B → See step   40 

    A: Go to next step 

  30. INSPECT CANISTER (CHARCOAL FILTER INSIDE CANISTER) 
    1. Check for filter blockage in the canister. Refer to INSPECTION [10/2013 - ] .

      OK

      No blockages in the canister.

    OK → See step   47 

    NG → See step   38 

  31. CHECK TERMINAL VOLTAGE (CANISTER PUMP MODULE) 
    1. Turn the power switch off.
    2. Disconnect the canister pump module connector.
      GTY292512Courtesy of © TOYOTA, LICENSE AGREEMENT TMS1002
      TEXT IN ILLUSTRATION

      *a Front view of wire harness connector
      (to Canister Pump Module)
      - -
    3. Turn the power switch on (IG).
    4. Measure the voltage according to the value(s) in the table below.
      RESULT

      Tester Connection Condition Test Result Suspected Trouble Area Proceed to
      S16-3 (MTRB) - Body ground Power switch on (IG) 9 to 14 V
      • Wire harness or connector between leak detection pump and body ground
      • Leak detection pump
      A
      Below 3 V
      • Wire harness or connector between leak detection pump and ECM
      • ECM
      B

    B → See step   33 

    A: Go to next step 

  32. CHECK HARNESS AND CONNECTOR (CANISTER PUMP MODULE - BODY GROUND) 
    1. Turn the power switch off.
    2. Disconnect the canister pump module connector.
    3. Measure the resistance according to the value(s) in the table below.
      RESULT

      Tester Connection Condition Specified Condition Suspected Trouble Area Proceed to
      S16-4 (MGND) - Body ground Always Below 1 Ω Leak detection pump A
      10 kΩ or higher Wire harness or connector between canister pump module and body ground B

    A → See step   38 

    B → See step   40 

  33. CHECK HARNESS AND CONNECTOR (ECM - CANISTER PUMP MODULE) 
    1. Turn the power switch off.
    2. Disconnect the canister pump module connector.
    3. Disconnect the ECM connector.
    4. Measure the resistance according to the value(s) in the table below.

      Standard Resistance

      Tester Connection Condition Specified Condition
      A57-34 (MPMP) - S16-3 (MTRB) Always Below 1 Ω
      A57-34 (MPMP) or S16-3 (MTRB) - Body ground Always 10 kΩ or higher
      RESULT

      Result Suspected Trouble Area Proceed to
      OK ECM A
      NG Wire harness or connector between ECM and canister pump module B

    A → See step   47 

    B → See step   40 

  34. INSPECT INTAKE MANIFOLD (EVAP PURGE PORT) 
    1. Stop the engine.
    2. Disconnect the EVAP hose from the intake manifold.
    3. Start the engine.
    4. Use your finger to confirm that the port of the intake manifold has suction.
      RESULT

      Tester Connection Suspected Trouble Area Proceed to
      Suction applied EVAP hose between intake manifold and purge VSV A
      No suction Intake manifold B

    A → See step   41 

    B → See step   42 

  35. CORRECTLY REINSTALL OR REPLACE FUEL TANK CAP ASSEMBLY 

    HINT: 

    • When reinstalling the fuel cap, tighten it firmly (only one click sound could be head).
    • When replacing the fuel cap, use a fuel cap that meets OEM specifications, and install it firmly.

    NEXT → See step   48 

  36. REPLACE FUEL CAP 

    HINT: 

    When installing the fuel cap, tighten it firmly (only one click sound could be head).

    NEXT → See step   48 

  37. LOCATE EVAP LEAK PART 
    1. Disconnect the vent hose.
      GTY334853Courtesy of © TOYOTA, LICENSE AGREEMENT TMS1002
      TEXT IN ILLUSTRATION

      *1 Fuel Tank *2 Canister
      *3 Canister Air Filter *4 Fuel Cap
      *5 Disconnect the vent hose here *6 No. 1 Canister
      *7 No. 2 Canister *8 Canister Pump Module
    2. Connect the EVAP pressure tester tool to the canister pump module with the adapter.
      GTY224123Courtesy of © TOYOTA, LICENSE AGREEMENT TMS1002
      TEXT IN ILLUSTRATION

      *1 Canister Pump Module *2 Adapter
      *3 EVAP Pressure Tester Tool - -
    3. Pressurize the EVAP system to 3.2 to 3.7 kPa(gauge) [24 to 27.75 mmHg(gauge)].
    4. Apply soapy water to the piping and connecting parts of the EVAP system.
    5. Look for areas where bubbles appear. This indicates the leak point.
    6. Repair or replace the leak point.

      HINT: 

      Disconnect the hose between the canister and fuel tank from the canister. Block the canister side and conduct an inspection. In this way, the fuel tank can be excluded as an area suspected of causing fuel leaks.

    NEXT → See step   48 

  38. REPLACE CANISTER 
    1. Replace the canister. Refer to REMOVAL [10/2013 - ] .
      NOTE:
      • When replacing the canister, check the canister pump module interior, canister interior, No. 1 canister interior, No. 2 canister interior and related pipes for water, fuel and other liquids. If liquids are present, check for disconnections and/or cracks in the following: 1) the pipe from the canister pump module to the No. 2 canister and the pipe from the air inlet port to the No. 2 canister; 2) the canister filter; and 3) the fuel tank vent hose. If liquids are present in the canister interior or No. 1 canister interior, replace the canister, No. 1 canister and canister pump module together. If liquids are present in the No. 2 canister interior, dry the No. 2 canister.
      • Check for filter blockage in the canister and No. 1 canister. If the charcoal filter inside the canister or No. 1 canister is clogged, replace the canister and No. 1 canister together.
      • Check for filter blockage in the canister air filter. If the canister air filter has blockages, replace the canister air filter.
      • Check No. 2 canister blockage. If the No. 2 canister has blockages, replace the canister (No. 2 canister).
      GTY327054Courtesy of © TOYOTA, LICENSE AGREEMENT TMS1002
      TEXT IN ILLUSTRATION

      *1 Fuel Tank Vent Hose *2 Air Inlet Port
      *3 Vent Hose *4 Fuel Tank
      *5 No. 2 Canister *6 No. 1 Canister
      *7 Canister *8 Canister Air Filter
      *9 Canister Pump Module - -
      *a Inspection Area (Check for Disconnection and/or cracks) - -

    NEXT → See step   48 

  39. REPLACE PURGE VSV 
    1. Replace the purge VSV. Refer to REMOVAL [10/2013 - ] .

    NEXT → See step   48 

  40. REPAIR OR REPLACE HARNESS OR CONNECTOR 

    NEXT → See step   48 

  41. REPAIR OR REPLACE EVAP PURGE LINE (INTAKE MANIFOLD - PURGE VSV) 

    NEXT → See step   48 

  42. INSPECT INTAKE MANIFOLD (EVAP PURGE PORT) 
    1. Check that the EVAP purge port of the intake manifold is not clogged. If necessary, replace the intake manifold. Refer to REMOVAL [10/2013 - ] .

    NEXT → See step   48 

  43. REPAIR OR REPLACE PARTS AND COMPONENTS INDICATED BY OUTPUT DTCS 
    1. Repair the malfunctioning areas indicated by the DTCs that had been confirmed when the vehicle was brought in.

    NEXT → See step   48 

  44. REPAIR OR REPLACE EVAP PURGE LINE (PURGE VSV - CANISTER) 

    NEXT → See step   48 

  45. REPLACE CANISTER 
    1. Replace the canister. Refer to REMOVAL [10/2013 - ] .
      NOTE:
      • When replacing the canister, check the canister pump module interior, canister interior, No. 1 canister interior, No. 2 canister interior and related pipes for water, fuel and other liquids. If liquids are present, check for disconnections and/or cracks in the following: 1) the pipe from the canister pump module to the No. 2 canister and the pipe from the air inlet port to the No. 2 canister; 2) the canister filter; and 3) the fuel tank vent hose. If liquids are present in the canister interior or No. 1 canister interior, replace the canister, No. 1 canister and canister pump module together. If liquids are present in the No. 2 canister interior, dry the No. 2 canister.
      • Check for filter blockage in the canister and No. 1 canister. If the charcoal filter inside the canister or No. 1 canister is clogged, replace the canister and No. 1 canister together.
      • Check for filter blockage in the canister air filter. If the canister air filter has blockages, replace the canister air filter.
      • Check No. 2 canister blockage. If the No. 2 canister has blockages, replace the canister (No. 2 canister).
      GTY327054Courtesy of © TOYOTA, LICENSE AGREEMENT TMS1002
      TEXT IN ILLUSTRATION

      *1 Fuel Tank Vent Hose *2 Air Inlet Port
      *3 Vent Hose *4 Fuel Tank
      *5 No. 2 Canister *6 No. 1 Canister
      *7 Canister *8 Canister Air Filter
      *9 Canister Pump Module - -
      *a Inspection Area (Check for Disconnection and/or cracks) - -

    NEXT: Go to next step 

  46. PERFORM EVAPORATIVE SYSTEM CHECK (AUTOMATIC MODE) 
    NOTE:
    • The Evaporative System Check (Automatic Mode) consists of 6 steps performed automatically by the Techstream. It takes a maximum of approximately 24 minutes.
    • Do not perform the Evaporative System Check when the fuel tank is higher than 90% full because the cut-off valve may be closed, making the fuel tank leak check unavailable.
    • Do not run the engine in this step.
    • When the temperature of the fuel is 35°C (95°F) or higher, a large amount of vapor forms and any check results become inaccurate. When performing an Evaporative System Check, keep the fuel temperature below 35°C (95°F).
    1. Connect the Techstream to the DLC3.
    2. Turn the power switch on (IG).
    3. Turn the Techstream on.
    4. Clear the DTCs. Refer to DTC CHECK / CLEAR [10/2013 - ] .
    5. Enter the following menus: Powertrain / Engine and ECT / Utility / Evaporative System Check / Automatic Mode.
    6. After the Evaporative System Check is completed, check for pending DTCs by entering the following menus: Powertrain / Engine and ECT / Trouble Codes.
      RESULT

      Result Proceed to
      EVAP system DTCs are output A
      No DTCs output
      (No pending DTCs output)
      B

    B → END 

    A: Go to next step 

  47. REPLACE ECM 
    1. Replace the ECM. Refer to REMOVAL [10/2013 - ] .

    NEXT: Go to next step 

  48. PERFORM EVAPORATIVE SYSTEM CHECK (AUTOMATIC MODE) 
    NOTE:
    • The Evaporative System Check (Automatic Mode) consists of 6 steps performed automatically by the Techstream. It takes a maximum of approximately 24 minutes.
    • Do not perform the Evaporative System Check when the fuel tank is higher than 90% full because the cut-off valve may be closed, making the fuel tank leak check unavailable.
    • Do not run the engine in this step.
    • When the temperature of the fuel is 35°C (95°F) or higher, a large amount of vapor forms and any check results become inaccurate. When performing an Evaporative System Check, keep the fuel temperature below 35°C (95°F).
    1. Connect the Techstream to the DLC3.
    2. Turn the power switch on (IG).
    3. Turn the Techstream on.
    4. Clear the DTCs. Refer to DTC CHECK / CLEAR [10/2013 - ] .
    5. Enter the following menus: Powertrain / Engine and ECT / Utility / Evaporative System Check / Automatic Mode.
    6. After the Evaporative System Check is completed, check for pending DTCs by entering the following menus: Powertrain / Engine and ECT / Trouble Codes.

      HINT: 

      If no pending DTCs are found, the repair has been successfully completed.

    NEXT → END