LEMON Manuals: Even more car manuals for everyone
Home >> Toyota >> 2013 >> RAV4 LE, AWD >> Repair and Diagnosis >> External Pages >> Different variant/trim >> Section 18 (Occupant Classification System (Diagnostics - Introduction) (Electric)) >> Occupant Classification System >> System Diagram >> System Diagram

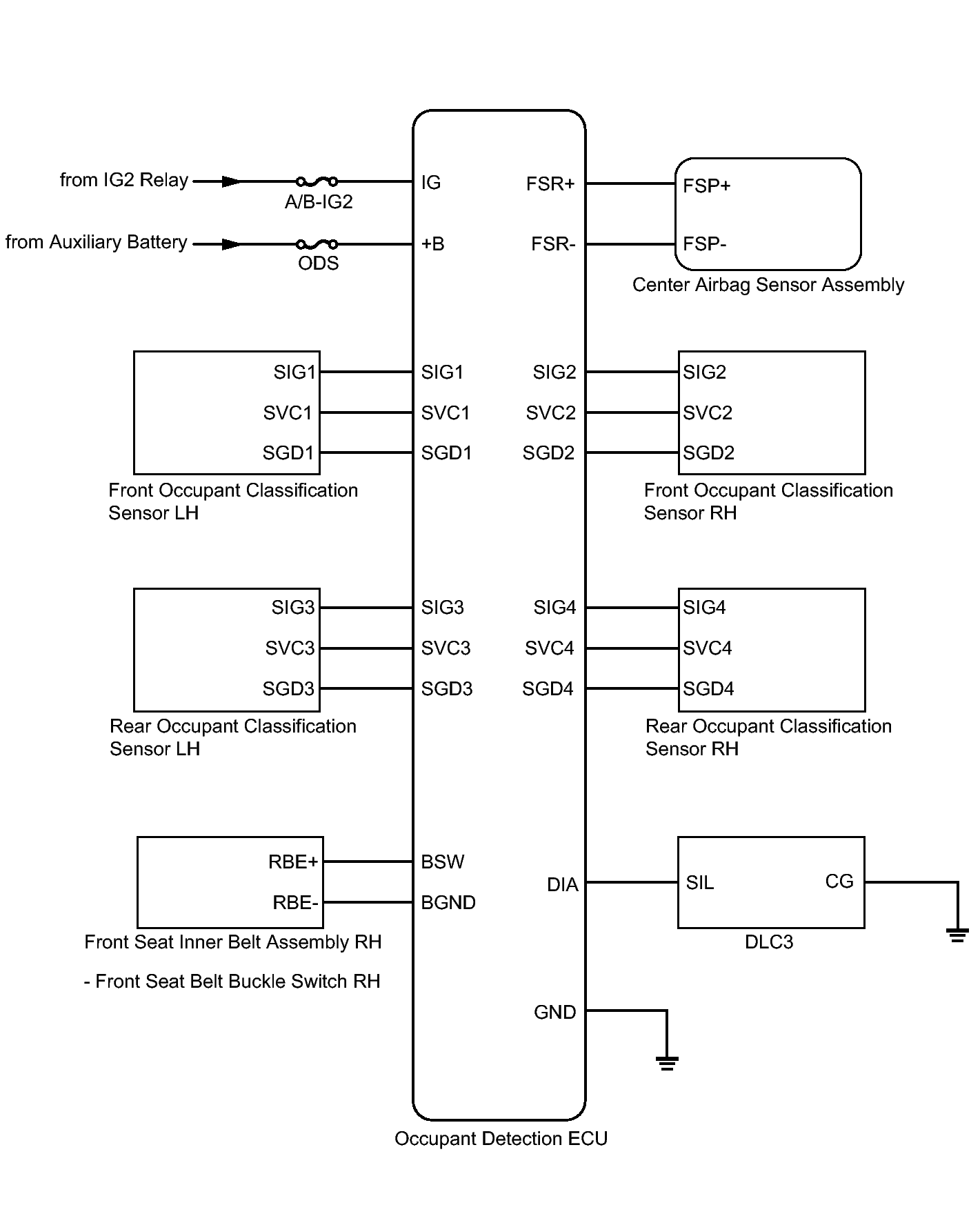
System Diagram

WARNING: This page is about a different variant/trim than selected.
Fig 1: Occupant Classification System Wiring Diagram
GTY373090Courtesy of © TOYOTA, LICENSE AGREEMENT TMS1002