LEMON Manuals: Even more car manuals for everyone
Home >> Toyota >> 2013 >> Prius Plug-in >> Repair and Diagnosis >> External Pages >> Different variant/trim >> Section 129 (Lighting System (Diagnostic Codes & Circuit Tests) (Except Plug-In)) >> Lighting System >> Circuit Tests >> Speed Signal Circuit >> Procedure

Speed Signal Circuit: Procedure

WARNING: This page is about a different variant/trim than selected.
  1. CHECK COMBINATION METER SYSTEM 
    1. The circuits that send vehicle speed signals to this system are inspected in the meter information. Refer to Speed Signal Circuit .
    2. During inspection for the meter system, if there is an instruction that indicates to go back to inspections for the lighting system, proceed to the next step.

    NEXT: Go to next step 

  2. CHECK HARNESS AND CONNECTOR (HEADLIGHT LEVELING ECU ASSEMBLY - COMBINATION METER ASSEMBLY) 
    1. Disconnect the L27 combination meter assembly connector.
    2. Disconnect the A48 headlight leveling ECU assembly connector.
    3. Measure the resistance according to the value(s) in the table below.

      Standard Resistance

      Tester Connection Condition Specified Condition
      A48-16 (SPDR) - L27-7 (+S) Always Below 1 Ω

    NG → REPAIR OR REPLACE HARNESS OR CONNECTOR 

    OK: Go to next step 

  3. INSPECT NO. 3 METER CIRCUIT PLATE (OUTPUT WAVEFORM) 
    1. Check the output waveform.
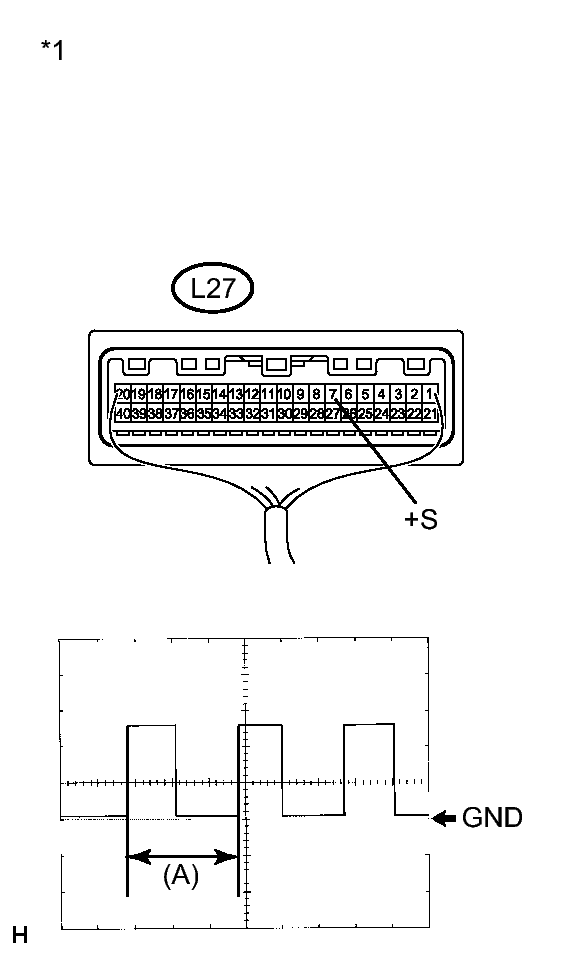
      Fig 1: Identifying No. 3 Meter Circuit Plate Waveform
      GTY223185Courtesy of © TOYOTA, LICENSE AGREEMENT TMS1002
      1. Remove the combination meter assembly with the connector still connected.
      2. Connect an oscilloscope to terminal L27-7 (+S) and body ground.
      3. Turn the power switch on (IG).
      4. Check the signal waveform according to the condition(s) in the table below.
        Item Condition
        Tool setting 5 V/DIV., 20 ms./DIV.
        Vehicle condition Driving at approx. 20 km/h (12 mph)

        OK

        The waveform is displayed as shown in the illustration.

        TEXT IN ILLUSTRATION

        *1 Component with harness connected
        (Combination Meter Assembly)

        HINT: 

        When the system is functioning normally, one wheel revolution generates 4 pulses. As the vehicle speed increases, the width indicated by (A) in the illustration narrows.

    NG → See step   5 

    OK → See step   4 

  4. PROCEED TO NEXT SUSPECTED AREA SHOWN IN PROBLEM SYMPTOMS TABLE. Refer to  PROBLEM SYMPTOMS TABLE 
  5. REPLACE NO. 3 METER CIRCUIT PLATE. Refer to  DISASSEMBLY