LEMON Manuals: Even more car manuals for everyone
Home >> Toyota >> 2013 >> Prius Plug-in >> Repair and Diagnosis >> External Pages >> Different variant/trim >> Section 129 (Lighting System (Diagnostic Codes & Circuit Tests) (Except Plug-In)) >> Lighting System >> Circuit Tests >> Low Beam Headlight Circuit >> Wiring Diagram

Low Beam Headlight Circuit: Wiring Diagram

WARNING: This page is about a different variant/trim than selected.
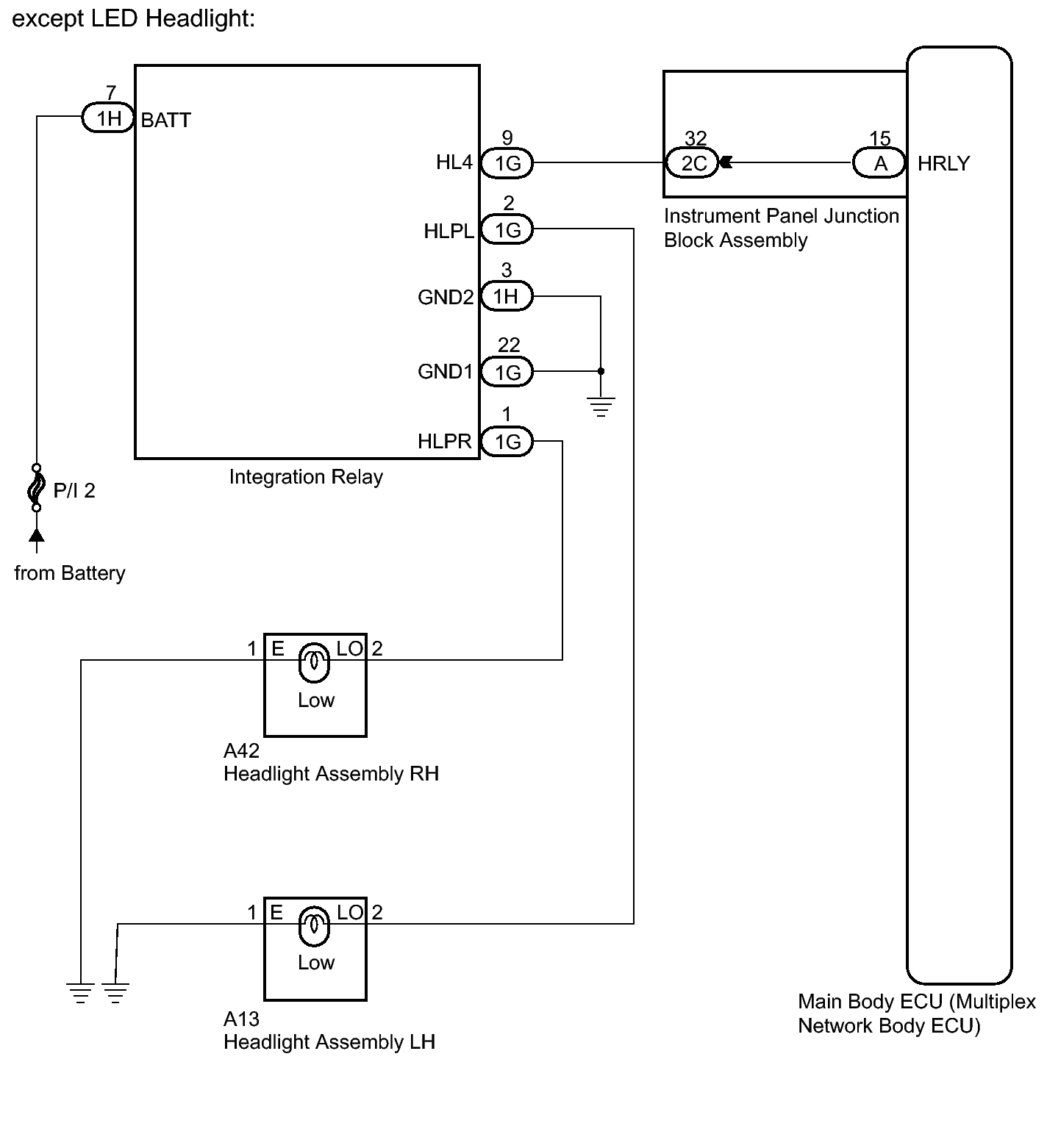
Fig 1: Identifying Low Beam Headlight Circuit Wiring Diagram (1 Of 2)
GTY215677Courtesy of © TOYOTA, LICENSE AGREEMENT TMS1002
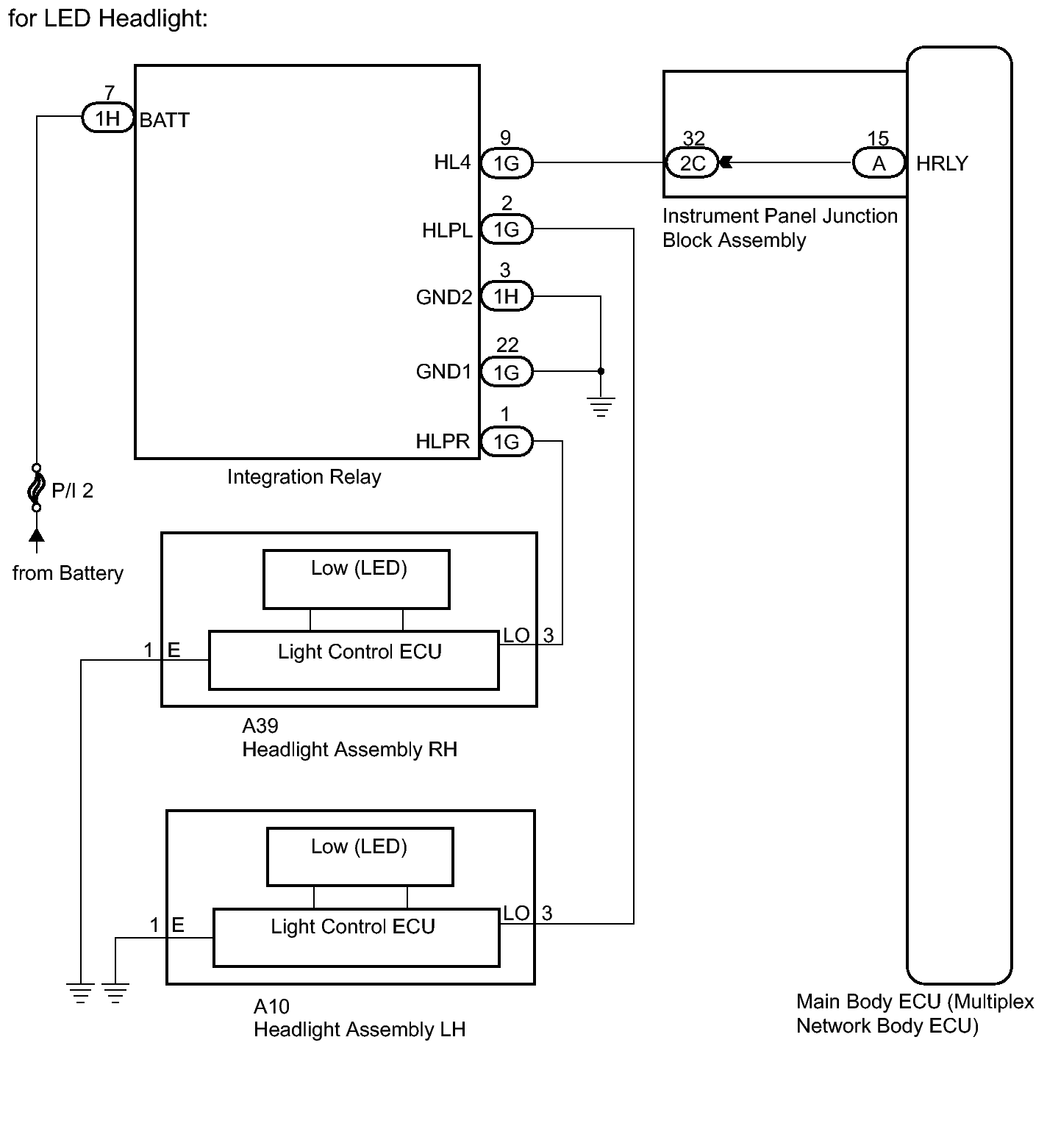
Fig 2: Identifying Low Beam Headlight Circuit Wiring Diagram (2 Of 2)
GTY217113Courtesy of © TOYOTA, LICENSE AGREEMENT TMS1002