LEMON Manuals: Even more car manuals for everyone
Home >> Toyota >> 2013 >> Prius Plug-in >> Repair and Diagnosis >> External Pages >> Different variant/trim >> Section 129 (Lighting System (Diagnostic Codes & Circuit Tests) (Except Plug-In)) >> Lighting System >> Circuit Tests >> High Beam Headlight Circuit >> Wiring Diagram

High Beam Headlight Circuit: Wiring Diagram

WARNING: This page is about a different variant/trim than selected.
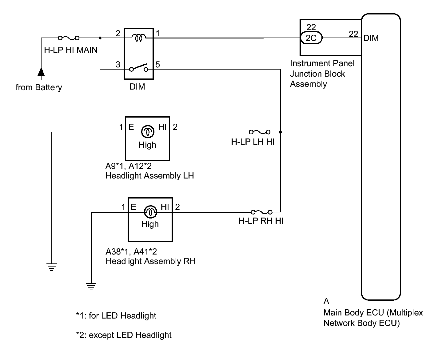
  1. for Canada 
    Fig 1: Identifying High Beam Headlight Circuit Wiring Diagram (1 Of 2)
    GTY338284Courtesy of © TOYOTA, LICENSE AGREEMENT TMS1002
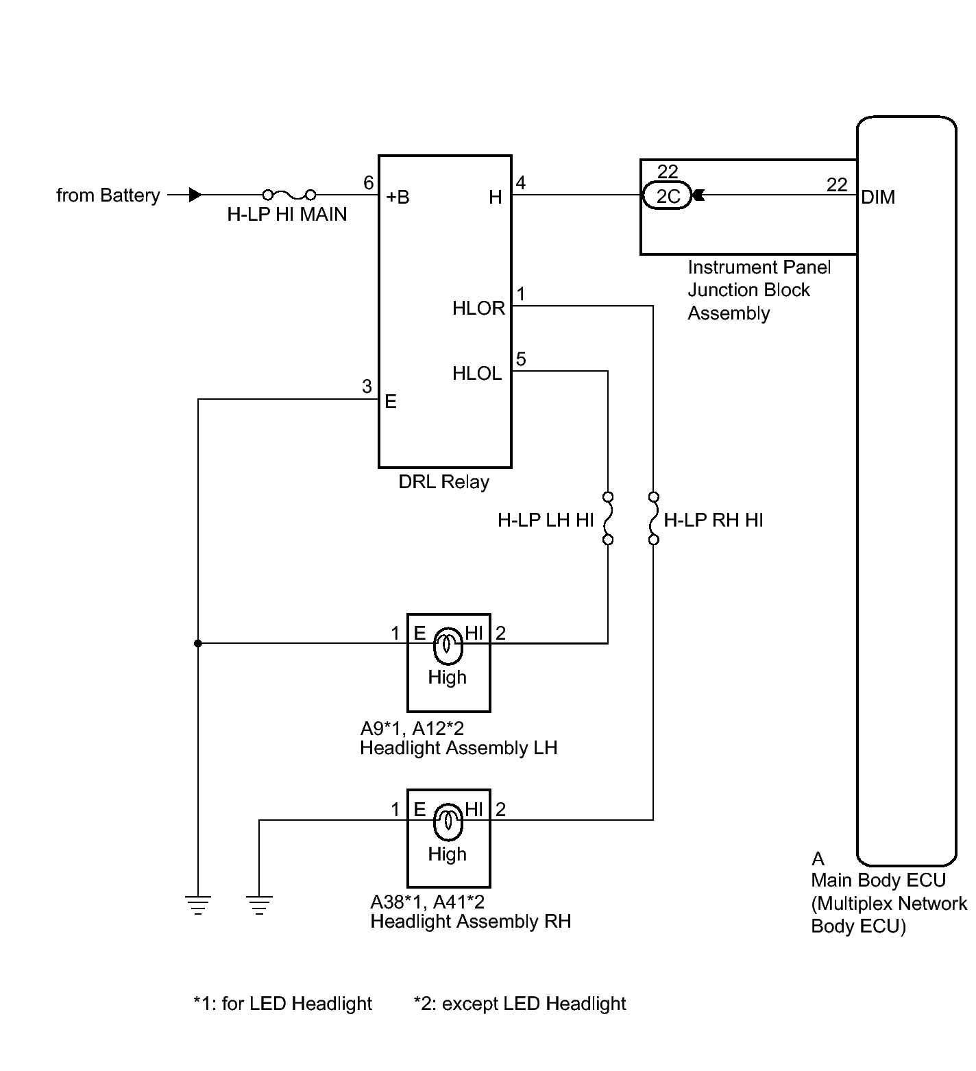
  2. except Canada 
    Fig 2: Identifying High Beam Headlight Circuit Wiring Diagram (2 Of 2)
    GTY343045Courtesy of © TOYOTA, LICENSE AGREEMENT TMS1002