LEMON Manuals: Even more car manuals for everyone
Home >> Toyota >> 2013 >> Prius Plug-in >> Repair and Diagnosis >> External Pages >> Different variant/trim >> Section 129 (Lighting System (Diagnostic Codes & Circuit Tests) (Except Plug-In)) >> Lighting System >> Circuit Tests >> Daytime Running Light Relay Circuit >> Procedure

Daytime Running Light Relay Circuit: Procedure

WARNING: This page is about a different variant/trim than selected.
  1. PERFORM ACTIVE TEST USING TECHSTREAM 
    1. Connect the Techstream to the DLC3.
    2. Turn the power switch on (IG).
    3. Turn the Techstream on.
    4. Enter the following menus: Body Electrical / Main Body / Active Test.
    5. Check that the daytime running lights operate.
      MAIN BODY

      Tester Display Test Part Control Range Diagnostic Note
      Daytime Running Light Daytime running lights ON/OFF -

      OK

      Daytime running lights illuminate.

    NG → See step   2 

    OK → See step   16 

  2. CHECK MODEL 
    1. Chose the model to be inspected.

      Result

      Result Proceed to
      for Canada A
      except Canada B

    B → See step   9 

    A: Go to next step 

  3. CHECK OPERATION (HIGH BEAM HEADLIGHTS) 
    1. Check the operation of the high beam headlights.

      OK

      High beam headlights operate normally.

    NG → See step   15 

    OK: Go to next step 

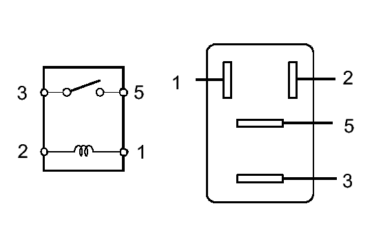
  4. INSPECT RUNNING LIGHT RELAY 
    1. Remove the running light relay.
      Fig 1: Identifying Running Light Relay Connector Terminals
      GTY231568Courtesy of © TOYOTA, LICENSE AGREEMENT TMS1002
    2. Connect a positive (+) lead from the battery to terminal 6 (+B).
    3. Connect a negative (-) lead from the battery to terminals 2 (DRLS) and 3 (E).
    4. Check for pulses according to the value(s) in the table below.

      Standard

      Tester Connection Condition Specified Condition
      1 (HLOR) - Battery negative Always Pulse generation
      5 (HLOL) - Battery negative Always Pulse generation
      TEXT IN ILLUSTRATION

      *1 Component without harness connected
      (Running Light Relay)

    NG → REPLACE RUNNING LIGHT RELAY 

    OK: Go to next step 

  5. CHECK MODEL 
    1. Chose the model to be inspected.

      Result

      Result Proceed to
      for Main body ECU (multiplex network body ECU) with 1 connector A
      for Main body ECU (multiplex network body ECU) with 3 connectors B

    B → See step   7 

    A: Go to next step 

  6. CHECK HARNESS AND CONNECTOR (RUNNING LIGHT RELAY - MAIN BODY ECU (MULTIPLEX NETWORK BODY ECU)) 
    1. Disconnect the L7 main body ECU (multiplex network body ECU) connector.
    2. Measure the resistance according to the value(s) in the table below.

      Standard Resistance

      Tester Connection Condition Specified Condition
      Relay terminal 2 (DRLS) - L7-15 (DRLE) Always Below 1 Ω
      L7-15 (DRLE) - Body ground Always 10 kΩ or higher

    NG → REPAIR OR REPLACE HARNESS OR CONNECTOR 

    OK → See step   17 

  7. CHECK HARNESS AND CONNECTOR (RUNNING LIGHT RELAY - INSTRUMENT PANEL JUNCTION BLOCK AND BODY GROUND) 
    1. Disconnect the 2C instrument panel junction block assembly connector.
    2. Measure the resistance according to the value(s) in the table below.

      Standard Resistance

      Tester Connection Condition Specified Condition
      Relay terminal 2 (DRLS) - 2C-35 Always Below 1 Ω
      2C-35 - Body ground Always 10 kΩ or higher
      Relay terminal 3 (E) - Body ground Always Below 1 Ω

    NG → REPAIR OR REPLACE HARNESS OR CONNECTOR 

    OK: Go to next step 

  8. INSPECT INSTRUMENT PANEL JUNCTION BLOCK ASSEMBLY 
    1. Remove the instrument panel junction block assembly.
      Fig 2: Identifying Instrument Panel Junction Block Assembly Connector Terminals
      GTY214523Courtesy of © TOYOTA, LICENSE AGREEMENT TMS1002
    2. Measure the resistance according to the value(s) in the table below.

      Standard Resistance

      Tester Connection Condition Specified Condition
      2C-35 - A-25 (DRL) Always Below 1 Ω
      2C-35 - Body ground Always 10 kΩ or higher
      TEXT IN ILLUSTRATION

      *1 Component without harness connected
      (Instrument Panel Junction Block Assembly)

    NG → See step   18 

    OK → See step   17 

  9. INSPECT RUNNING LIGHT RELAY (DRL) 
    1. Remove the running light relay.
      Fig 3: Identifying Fog Light Relay Connector Terminals
      GTY120671Courtesy of © TOYOTA, LICENSE AGREEMENT TMS1002
    2. Measure the resistance according to the value(s) in the table below.

      Standard Resistance

      Tester Connection Condition Specified Condition
      3 - 5 Voltage is not applied between terminals 1 and 2 10 kΩ or higher
      3 - 5 Voltage is applied between terminals 1 and 2 Below 1 Ω

    NG → REPLACE RUNNING LIGHT RELAY 

    OK: Go to next step 

  10. CHECK HARNESS AND CONNECTOR (BATTERY - RUNNING LIGHT RELAY) 
    1. Measure the voltage according to the value(s) in the table below.

      Standard Voltage

      Tester Connection Condition Specified Condition
      Relay terminal 1 - Body ground Always 11 to 14 V
      Relay terminal 3 - Body ground Always 11 to 14 V

    NG → REPAIR OR REPLACE HARNESS OR CONNECTOR 

    OK: Go to next step 

  11. CHECK MODEL 
    1. Chose the model to be inspected.

      Result

      Result Proceed to
      for Main body ECU (multiplex network body ECU) with 1 connector A
      for Main body ECU (multiplex network body ECU) with 3 connector B

    B → See step   13 

    A: Go to next step 

  12. CHECK HARNESS AND CONNECTOR (RUNNING LIGHT RELAY - MAIN BODY ECU (MULTIPLEX NETWORK BODY ECU)) 
    1. Disconnect the L7 main body ECU (multiplex network body ECU) connector.
    2. Measure the resistance according to the value(s) in the table below.

      Standard Resistance

      Tester Connection Condition Specified Condition
      Relay terminal 2 - L7-15 (DRLE) Always Below 1 Ω
      L7-15 (DRLE) - Body ground Always 10 kΩ or higher

    NG → REPAIR OR REPLACE HARNESS OR CONNECTOR 

    OK → See step   17 

  13. CHECK HARNESS AND CONNECTOR (RUNNING LIGHT RELAY - INSTRUMENT PANEL JUNCTION BLOCK AND BODY GROUND) 
    1. Disconnect the 2C instrument panel junction block assembly connector.
    2. Measure the resistance according to the value(s) in the table below.

      Standard Resistance

      Tester Connection Condition Specified Condition
      Running light relay terminal 2 - 2C-35 Always Below 1 Ω
      2C-35 - Body ground Always 10 kΩ or higher

    NG → REPAIR OR REPLACE HARNESS OR CONNECTOR 

    OK: Go to next step 

  14. INSPECT INSTRUMENT PANEL JUNCTION BLOCK ASSEMBLY 
    1. Remove the instrument panel junction block assembly.
      Fig 4: Identifying Instrument Panel Junction Block Assembly Connector Terminals
      GTY214523Courtesy of © TOYOTA, LICENSE AGREEMENT TMS1002
    2. Measure the resistance according to the value(s) in the table below.

      Standard Resistance

      Tester Connection Condition Specified Condition
      2C-35 - A-25 (DRL) Always Below 1 Ω
      2C-35 - Body ground Always 10 kΩ or higher
      TEXT IN ILLUSTRATION

      *1 Component without harness connected
      (Instrument Panel Junction Block Assembly)

    NG → See step   18 

    OK → See step   16 

  15. GO TO PROBLEM SYMPTOMS TABLE. Refer to  PROBLEM SYMPTOMS TABLE 
  16. PROCEED TO NEXT SUSPECTED AREA SHOWN IN PROBLEM SYMPTOMS TABLE. Refer to  PROBLEM SYMPTOMS TABLE 
  17. REPLACE MAIN BODY ECU (MULTIPLEX NETWORK BODY ECU). Refer to  REMOVAL 
  18. REPLACE INSTRUMENT PANEL JUNCTION BLOCK ASSEMBLY. Refer to  REMOVAL