LEMON Manuals: Even more car manuals for everyone
Home >> Toyota >> 2013 >> Prius Four >> Repair and Diagnosis >> External Pages >> Different variant/trim >> Section 38 (Wheel Alignment (Service Information) (Plug-In)) >> Front Wheel Alignment >> Adjustment >> Adjustment

Front Wheel Alignment: Adjustment: Adjustment

WARNING: This page is about a different variant/trim than selected.
NOTE:

If the wheel alignment has been adjusted, or if suspension or underbody components have been removed/installed or replaced, be sure to perform the following initialization procedure in order for the system to function normally:

  1. Perform zero point calibration of the yaw rate and acceleration sensor.
  1. INSPECT TIRES  . Refer to INSPECTION - Step 1
  2. MEASURE VEHICLE HEIGHT 
    Fig 1: Identifying Vehicle Height Dimensions
    GTY339247Courtesy of © TOYOTA, LICENSE AGREEMENT TMS1002
    NOTE:
    • Before inspecting the wheel alignment, adjust the vehicle height to the specified value.
    • Be sure to perform measurement on a level surface.
    • If it is necessary to go under the vehicle for measurement, confirm that the parking brake is applied and the vehicle is secured with chocks.
    • Inspect while the vehicle is unloaded.
    • The standard value shown here is a value that is used for adjusting the wheel alignment and does not indicate the height of an actual vehicle.
    1. Bounce the vehicle up and down at the corners to stabilize the suspension.
    2. Measure the vehicle height.

      Measurement points: 

      1. A: Ground clearance of front lower No. 1 suspension arm bushing set bolt center
      1. B: Ground clearance of rear axle beam bushing set bolt center
      1. C: Ground clearance of front wheel center
      1. D: Ground clearance of rear wheel center

      Vehicle Height (Unloaded Vehicle)

      Front C - A Rear D - B
      108 mm (4.25 in.) 26 mm (1.02 in.)
  3. INSPECT CAMBER, CASTER AND STEERING AXIS INCLINATION 
    NOTE:

    Inspect while the vehicle is unloaded.

    1. Install a camber-caster-kingpin gauge and place the front wheels on the center of a turning radius gauge.
      Fig 2: Identifying Turning Radius Gauge & Camber-Caster-Kingpin Gauge
      GTY319301Courtesy of © TOYOTA, LICENSE AGREEMENT TMS1002
      TEXT IN ILLUSTRATION

      *1 Turning Radius Gauge
      *2 Camber-caster-kingpin Gauge
    2. Inspect the camber, caster and steering axis inclination.

      Camber (Unloaded Vehicle)

      Camber Inclination Right-left Difference
      -0°13' +/- 0°45' (-0.22° +/- 0.75°) 0°45' (0.75°) or less

      Caster (Unloaded Vehicle)

      Caster Inclination Right-left Difference
      5°53' +/- 0°45' (5.88° +/- 0.75°) 0°45' (0.75°) or less

      Steering Axis (Unloaded Vehicle)

      Steering Axis Inclination Reference
      12°16' (12.27°)
  4. ADJUST CAMBER 
    NOTE:

    Inspect toe-in after the camber has been adjusted.

    1. Remove the front wheel.
    2. Remove the 2 nuts on the lower side of the front shock absorber assembly.
      Fig 3: Identifying Lower Side Of The Front Shock Absorber & Fasteners
      GTY236238Courtesy of © TOYOTA, LICENSE AGREEMENT TMS1002
      NOTE:

      Keep the bolts inserted.

    3. Remove the top and bottom bolts one at a time and confirm that the steering knuckle can move freely in the front shock absorber assembly.

      HINT: 

      • Reinstall each bolt after removing it and confirming steering knuckle movement.
      • If the steering knuckle does not move freely in the front shock absorber assembly, clean the installation surfaces of the front shock absorber assembly and the steering knuckle.
    4. Temporarily install the 2 nuts. (Step A)
    5. Fully push or pull the front axle hub in the direction of the required adjustment. (Step B)
      Fig 4: Pulling Front Axle Hub
      GTY166872Courtesy of © TOYOTA, LICENSE AGREEMENT TMS1002
    6. Tighten the nuts.
      Fig 5: Identifying Lower Side Of The Front Shock Absorber & Fasteners
      GTY236238Courtesy of © TOYOTA, LICENSE AGREEMENT TMS1002

      Torque: 240 N*m (2447 kgf*cm, 177 ft.*lbf) 

      NOTE:

      Keep the bolts from rotating when tightening the nuts.

    7. Install the front wheel.

      Torque: 103 N*m (1050 kgf*cm, 76 ft.*lbf) 

    8. Check the camber.
      Fig 6: Identifying Strut, Steering Knuckle, Bolts & Nuts
      GTY335199Courtesy of © TOYOTA, LICENSE AGREEMENT TMS1002

      If the measured value is not within the specification, calculate the required adjustment amount using the formula below.

      Camber adjustment amount = center of the specified range - measured value

      Check the combination of the installed bolts. Select appropriate bolts from the tables below to adjust the camber to the specified values.

      HINT: 

      Try to adjust the camber to the center of the specified values.

      To move the axle hub toward (+) in step B To move the axle hub toward (-) in step B
      Refer to table (1) (To move the axle hub toward the positive side) Refer to table (2) (To move the axle hub toward the negative side)

      The body and suspension may be damaged if the camber cannot be correctly adjusted according to the table above.

      NOTE:

      Replace the nut with a new one when replacing the bolt.

      1. Table (1) (To move the axle hub toward the positive side)
        Fig 7: Table 1: (Move The Axle Hub Toward The Positive Side) Selected Bolt Combination
        GTY265958Courtesy of © TOYOTA, LICENSE AGREEMENT TMS1002
        TEXT IN ILLUSTRATION

        *A Table (1) (To move the axle hub toward the positive side) *B Selected Bolt Combination
        *a Installed Bolt *b Adjusting Value
        *c 90105-17019 *d 90105-17016
        *e 90105-17017 *f 90105-17018
      2. Table (2) (To move the axle hub toward the negative side)
        Fig 8: Table 2 (move The Axle Hub Toward The Negative Side) Selected Bolt Combination
        GTY255471Courtesy of © TOYOTA, LICENSE AGREEMENT TMS1002
        TEXT IN ILLUSTRATION

        *A Table (2) (To move the axle hub toward the negative side) *B Selected Bolt Combination
        *a Installed Bolt *b Adjusting Value
        *c 90105-17019 *d 90105-17016
        *e 90105-17017 *f 90105-17018
    9. If the camber was out of adjustment in the previous step, perform the adjust camber steps mentioned above. In step (A), replace the existing bolts with the selected bolts.

      HINT: 

      Replace one bolt at a time when replacing both bolts.

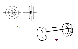
  5. INSPECT TOE-IN 
    NOTE:

    Inspect while the vehicle is unloaded.

    1. Bounce the vehicle up and down at the corners to stabilize the suspension.
    2. Release the parking brake and move the shift lever to N.
    3. Push the vehicle straight ahead approximately 5 m (16.4 ft.). (Step C)
    4. Put tread center marks on the rearmost points of the front wheels and measure the distance between the marks (dimension B).
      Fig 9: Checking Toe In
      GTY317487Courtesy of © TOYOTA, LICENSE AGREEMENT TMS1002
      TEXT IN ILLUSTRATION

      *a Tread Center Mark
      *b Dimension B
      Front of the Vehicle
    5. Slowly push the vehicle straight ahead to cause the front wheels to rotate 180°. Use the front tire valve as a reference point.

      HINT: 

      Do not allow the wheels to rotate more than 180°. If the wheels rotate more than 180°, perform the procedure from Step C again.

    6. Measure the distance between the tread center marks on the front of the wheels (dimension A).
      Fig 10: View Of Measuring Distance Between Tread Center Marks
      GTY323290Courtesy of © TOYOTA, LICENSE AGREEMENT TMS1002
      TEXT IN ILLUSTRATION

      *a Dimension A
      Front of the Vehicle

      Toe-in (Unloaded Vehicle)

      Specified Condition
      C + D: 0°12' +/- 0°12' (0.20° +/- 0.20°)
      B - A: 2.0 +/- 2.0 mm (0.0787 +/- 0.0787 in.)

      HINT: 

      Measure "B - A" only when "C + D" cannot be measured.

      If the toe-in is not within the specified range, adjust it at the rack ends.

  6. ADJUST TOE-IN 
    1. Make sure that the thread length of the right and left rack ends are approximately the same.
      Fig 11: Identifying Thread Length
      GTY329698Courtesy of © TOYOTA, LICENSE AGREEMENT TMS1002
      TEXT IN ILLUSTRATION

      *a Thread Length

      Standard difference

      1.5 mm (0.0591 in.) or less

    2. Remove the boot clips.
    3. Loosen the tie rod end lock nuts.
      Fig 12: Adjusting Rack Ends
      GTY332335Courtesy of © TOYOTA, LICENSE AGREEMENT TMS1002
    4. Adjust the rack ends if the difference in thread length between the right and left rack ends is not within the specified range.
      1. Extend the shorter rack end if the measured toe-in deviates toward the outer-side.
      2. Shorten the longer rack end if the measured toe-in deviates toward the inner-side.
    5. Turn the right and left rack ends by an equal amount to adjust the toe-in.
    6. Make sure that the thread lengths of the right and left rack ends are the same.
    7. Tighten the tie rod end lock nuts.

      Torque: 74 N*m (755 kgf*cm, 55 ft.*lbf) 

    8. Place the boots on the seats and install the clips.

      HINT: 

      Make sure that the boots are not twisted.

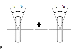
  7. INSPECT WHEEL ANGLE 
    1. Put tread center marks on the rearmost points of a turning radius gauge.
      Fig 13: Identifying Rearmost Points Of A Turning Radius Gauge
      GTY257633Courtesy of © TOYOTA, LICENSE AGREEMENT TMS1002
      TEXT IN ILLUSTRATION

      *a Inside
      *b Outside
      Front of the Vehicle
    2. Turn the steering wheel fully to the left and right and measure the turning angle.
      NOTE:

      Inspect while the vehicle is unloaded.

      Wheel Turning Angle (Unloaded Vehicle)

      Inside Wheel Outside Wheel Reference
      40°50' +/- 2° (40.83° +/- 2°) 33°50' (33.83°)
      1. If the right and left inside wheel angles differ from the specified value, check and adjust the right and left rack end lengths.
  8. PLACE FRONT WHEELS FACING STRAIGHT AHEAD 
  9. PERFORM YAW RATE AND ACCELERATION SENSOR CALIBRATION 

    Refer to CALIBRATION