LEMON Manuals: Even more car manuals for everyone
Home >> Toyota >> 2013 >> Matrix S, AWD >> Repair and Diagnosis (Single Page) >> Transmission >> Transfer Case >> Transfer Case (Service Information) >> Transfer Assembly >> Reassembly >> Reassembly

Transfer Assembly: Reassembly: Reassembly

  1. INSTALL TRANSFER DRIVEN PINION REAR BEARING 
    1. Using SST and a press, press the driven pinion rear bearing (outer race) into the case.
      Fig 1: Installing Transfer Driven Pinion Rear Bearing
      GTY224548Courtesy of © TOYOTA, LICENSE AGREEMENT TMS1002
      • SST: 09950-60010 
        • 09951-00620
      • SST: 09950-70010 
        • 09951-07150
      NOTE:

      Use wooden blocks or similar objects under the case to keep it level.

    2. Apply gear oil to the driven pinion rear bearing (outer race).
  2. INSTALL TRANSFER OUTPUT SHAFT WASHER 
    1. Install the transfer output shaft washer to the transfer case.

      HINT: 

      Install the same washer as the one removed.

    2. Apply gear oil to the transfer output shaft washer.
  3. INSTALL TRANSFER DRIVEN PINION FRONT BEARING 
    1. Apply gear oil to the inner surface of the transfer case.
      Fig 2: Installing Transfer Driven Pinion Front Bearing (Outer Race) To Transfer Case
      GTY244699Courtesy of © TOYOTA, LICENSE AGREEMENT TMS1002
    2. Using SST, install the transfer driven pinion front bearing (outer race) to the transfer case.
      • SST: 09950-60010 
        • 09951-00610
        • 09951-00620
        • 09951-00650
      • SST: 09950-60020 
        • 09951-00680
    3. Using SST and a press, press the driven pinion front bearing (inner race) into the driven pinion.
      Fig 3: Pressing Driven Pinion Front Bearing (Inner Race)
      GTY244337Courtesy of © TOYOTA, LICENSE AGREEMENT TMS1002
      • SST: 09506-30012 
  4. INSTALL DRIVEN PINION 
    1. Install the driven pinion to the transfer case.
      Fig 4: Installing Driven Pinion
      GTY242637Courtesy of © TOYOTA, LICENSE AGREEMENT TMS1002
    2. Install a new transfer pinion bearing spacer and driven pinion rear bearing (inner race) to the driven pinion.
      Fig 5: Identifying Transfer Pinion Bearing Spacer And Driven Pinion Rear Bearing (Inner Race)
      GTY242667Courtesy of © TOYOTA, LICENSE AGREEMENT TMS1002

      HINT: 

      Install the pinion bearing spacer with the larger inner diameter facing forward as shown in the illustration.

    3. Using SST, install a new gear nut.
      • SST: 09326-20011 
      • SST: 09556-16030 

      without SST 

      Torque: 270 to 420 N*m (2751 to 4280 kgf*cm, 198 to 308 ft.*lbf) 

      with SST 

      Torque: 254 to 396 N*m (2588 to 4035 kgf*cm, 186 to 291 ft.*lbf) 

      Fig 6: Installing Gear Nut
      GTY221456Courtesy of © TOYOTA, LICENSE AGREEMENT TMS1002

      HINT: 

      Using a torque wrench with a fulcrum length of 840 mm (33.07 ft.).

      NOTE:

      Do not stake the nut until the final preload, tooth contact and backlash adjustments are completed.

  5. ADJUST DRIVEN PINION PRELOAD 
    1. Using SST and a torque wrench, measure the driven pinion preload.
      Fig 7: Measuring Total Preload
      GTY222410Courtesy of © TOYOTA, LICENSE AGREEMENT TMS1002
      • SST: 09326-20011 

      Preload (at Starting)

      Item Preload
      New bearing (without SST) 0.68 to 1.13 N*m (7 to 11 kgf*cm, 6 to 10 in.*lbf)
      New bearing (with SST) 0.49 to 0.81 N*m (5 to 8 kgf*cm, 5 to 7 in.*lbf)
      Reused bearing (without SST) 0.56 to 0.94 N*m (6 to 9 kgf*cm, 5 to 8 in.*lbf)
      Reused bearing (with SST) 0.40 to 0.67 N*m (4 to 6 kgf*cm, 4 to 5 in.*lbf)

      HINT: 

      • Use a torque wrench with a fulcrum length of 130 mm (5.12 in.).
      • If the preload is more than the specification, replace the pinion bearing spacer with a new one.
      • If the preload is not sufficient, adjust the driven pinion by tightening the lock nut 5° to 10° and measuring the preload until the preload is within the specification.
      • Even if the tightening torque of the gear nut exceeds the specified torque, if the preload is insufficient, loosen the gear nut once and apply rust preventive oil or hypoid gear oil to the gear nut and to the screw or bearing surface of the driven pinion. Then perform the procedure again. If the tightening torque is less than the specified torque, replace the pinon bearing spacer with a new one and adjust it.
      • Do not loosen the pinion nut to reduce the preload.
  6. INSTALL RING GEAR 
    1. Clean the contact surface of the ring gear and transfer ring gear mounting case.
      Fig 8: Heating Ring Gear In Boiling Water
      GTY217900Courtesy of © TOYOTA, LICENSE AGREEMENT TMS1002
    2. Heat the ring gear in boiling water.
    3. Carefully remove the ring gear from the boiling water.
    4. Align the matchmarks and quickly install the ring gear to the transfer ring gear mounting case.
      Fig 9: Locating Ring Gear Bolts
      GTY219402Courtesy of © TOYOTA, LICENSE AGREEMENT TMS1002
    5. for Precoated Bolt:
      1. Apply adhesive to the 10 bolts.

        Adhesive

        Toyota Genuine Adhesive 1324, Three Bond 1324 or equivalent

    6. After the moisture on the ring gear has completely evaporated, install the 10 bolts.

      Precoated Bolt 

      Torque: 112 N*m (1142 kgf*cm, 82 ft.*lbf) 

      Uncoated Bolt 

      Torque: 78 N*m (790 kgf*cm, 57 ft.*lbf) 

      NOTE:
      • Tighten the bolts evenly in a diagonal pattern using several steps.
      • Tighten the bolts after the ring gear has cooled down sufficiently.
      • Confirm whether the bolts are precoated or uncoated as the tightening torque is different for each type.
      • In order to ensure proper sealing of the bolts, apply adhesive to the bolts and install them within 10 minutes of adhesive application.
  7. INSTALL RING GEAR MOUNTING CASE BEARING 
    1. Using SST and a press, press the ring gear mounting case bearing (inner race) RH into the transfer ring gear mounting case.
      Fig 10: Installing Ring Gear Mounting Case Bearing
      GTY242758Courtesy of © TOYOTA, LICENSE AGREEMENT TMS1002
      • SST: 09950-60010 
        • 09951-00420
    2. Install the ring gear mounting case bearing (outer race) RH to the transfer ring gear mounting case.
    3. Apply gear oil to the ring gear mounting case bearing (inner race) RH.
    4. Using SST and a press, press the ring gear mounting case bearing (inner race) LH into the transfer ring gear mounting case.
      Fig 11: Pressing Ring Gear Mounting Case Bearing (Inner Race)
      GTY230945Courtesy of © TOYOTA, LICENSE AGREEMENT TMS1002
      • SST: 09223-00010 
      • SST: 09726-40010 
    5. Install the ring gear mounting case plate washer to the case.

      HINT: 

      Use a new washer with the same thickness as the one removed when installing the bearing.

    6. Using SST and a press, press the ring gear mounting case bearing (outer race) LH into the transfer case.
      Fig 12: Applying Gear Oil To Ring Gear Mounting Case Bearing
      GTY242759Courtesy of © TOYOTA, LICENSE AGREEMENT TMS1002
      • SST: 09950-60010 
        • 09951-00620
      • SST: 09950-70010 
        • 09951-07200
    7. Apply gear oil to the ring gear mounting case bearing (outer race).
  8. INSTALL TRANSFER RING GEAR MOUNTING CASE 
    1. Apply gear oil to the transfer ring gear mounting case.
      Fig 13: Identifying Transfer Ring Gear Mounting Case
      GTY242636Courtesy of © TOYOTA, LICENSE AGREEMENT TMS1002
    2. Install the transfer ring gear mounting case to the transfer case.
  9. INSTALL NO. 1 TRANSFER OUTPUT SHAFT SPACER 
    1. Align the cutout on a new No. 1 transfer output shaft spacer with the transfer case hole to install it as shown in the illustration.
      Fig 14: Aligning Cutout On No. 1 Transfer Output Shaft Spacer With Transfer Case Hole
      GTY244700Courtesy of © TOYOTA, LICENSE AGREEMENT TMS1002
  10. INSTALL NO. 2 TRANSFER RING GEAR MOUNTING CASE WASHER 
    1. Using a brass bar and a hammer, install a new No. 2 transfer ring gear mounting case washer.
      Fig 15: Installing No. 2 Transfer Ring Gear Mounting Case Washer
      GTY242642Courtesy of © TOYOTA, LICENSE AGREEMENT TMS1002

      HINT: 

      Install a new No. 2 washer with the same thickness as the one removed.

  11. INSTALL BEARING CAP 
    1. Install the bearing cap with the 2 bolts.
      Fig 16: Locating Bearing Cap Bolts
      GTY214833Courtesy of © TOYOTA, LICENSE AGREEMENT TMS1002

      Torque: 63 N*m (644 kgf*cm, 47 ft.*lbf) 

  12. INSPECT RING GEAR BACKLASH 
    1. Set a dial indicator perpendicular to a ring gear tooth tip. Secure the driven pinion in place and move the ring gear back and forth to measure the backlash.
      Fig 17: Inspecting Ring Gear Backlash
      GTY226404Courtesy of © TOYOTA, LICENSE AGREEMENT TMS1002

      Backlash

      0.14 to 0.25 mm (0.00551 to 0.00984 in.)

      NOTE:

      Check at least 3 positions on the circumference of the ring gear.

    2. If the backlash is outside the specified range, select a ring gear mounting case bearing LH side washer from the table and install it to meet the specified range.
      Fig 18: Identifying Ring Gear Mounting Case Bearing LH Side Washer
      GTY243916Courtesy of © TOYOTA, LICENSE AGREEMENT TMS1002
      WASHER THICKNESS: MM (IN.)

      Mark Thickness Mark Thickness
      0F 2.05 (0.0807) 1N 2.57 (0.1012)
      0G 2.07 (0.0815) 1P 2.59 (0.1020)
      0H 2.09 (0.0823) 1Q 2.61 (0.1028)
      0J 2.11 (0.0831) 1R 2.63 (0.1035)
      0K 2.13 (0.0839) 1S 2.65 (0.1043)
      0L 2.15 (0.0846) 1T 2.67 (0.1051)
      0M 2.17 (0.0854) 1U 2.69 (0.1059)
      0N 2.19 (0.0862) 1V 2.71 (0.1067)
      0P 2.21 (0.0870) 1W 2.73 (0.1075)
      0Q 2.23 (0.0878) 1X 2.75 (0.1083)
      0R 2.25 (0.0886) 1Y 2.77 (0.1091)
      0S 2.27 (0.0894) 1Z 2.79 (0.1098)
      0T 2.29 (0.0902) 2F 2.81 (0.1106)
      0U 2.31 (0.0910) 2G 2.83 (0.1114)
      0V 2.33 (0.0917) 2H 2.85 (0.1122)
      0W 2.35 (0.0925) 2J 2.87 (0.1130)
      0X 2.37 (0.0933) 2K 2.89 (0.1138)
      0Y 2.39 (0.0941) 2L 2.91 (0.1146)
      0Z 2.41 (0.0949) 2M 2.93 (0.1154)
      1F 2.43 (0.0957) 2N 2.95 (0.1161)
      1G 2.45 (0.0965) 2P 2.97 (0.1169)
      1H 2.47 (0.0972) 2Q 2.99 (0.1177)
      1J 2.49 (0.0980) 2R 3.01 (0.1185)
      1K 2.51 (0.0988) 2S 3.03 (0.1193)
      1L 2.53 (0.0996) 2T 3.05 (0.1201)
      1M 2.55 (0.1004) 2U 3.07 (0.1209)
  13. INSPECT TOOTH CONTACT BETWEEN RING GEAR AND DRIVE PINION 
    1. Coat 3 or 4 teeth at the 4 different positions on the ring gear with red lead primer.
      Fig 19: Applying Prussian Blue To Ring Gear Teeth
      GTY216211Courtesy of © TOYOTA, LICENSE AGREEMENT TMS1002
    2. Rotate the ring gear to inspect the tooth contact pattern.
      Fig 20: Tooth Contact Pattern Chart
      GTY242676Courtesy of © TOYOTA, LICENSE AGREEMENT TMS1002
    3. If the tooth contact pattern is not correct, select a new transfer output shaft washer that is thicker or thinner as necessary and recheck.
      Fig 21: Identifying Transfer Output Shaft Washer
      GTY214760Courtesy of © TOYOTA, LICENSE AGREEMENT TMS1002
      WASHER THICKNESS

      Mark Thickness mm (in.) Mark Thickness mm (in.)
      AA 2.10 (0.0827) JA 2.34 (0.0921)
      AC 2.12 (0.0835) JC 2.36 (0.0929)
      BB 2.14 (0.0843) KB 2.38 (0.0937)
      CA 2.16 (0.0850) LA 2.40 (0.0945)
      CC 2.18 (0.0858) LC 2.42 (0.0953)
      DB 2.20 (0.0866) MB 2.44 (0.0961)
      EA 2.22 (0.0874) NA 2.46 (0.0969)
      EC 2.24 (0.0882) NC 2.48 (0.0976)
      FB 2.26 (0.0890) PB 2.50 (0.0984)
      GA 2.28 (0.0898) QA 2.52 (0.0992)
      GC 2.30 (0.0906) QC 2.54 (0.1000)
      HB 2.32 (0.0913) - -
      NOTE:

      When the washer thickness is changed, readjust the backlash. See step  2.

  14. INSPECT AND ADJUST TOTAL PRELOAD 
    1. Using SST and a torque wrench, measure the total preload.
      Fig 22: Measuring Total Preload
      GTY222410Courtesy of © TOYOTA, LICENSE AGREEMENT TMS1002
      • SST: 09326-20011 

      Total Preload (at Starting)

      Item Preload
      New bearing (without SST) 0.39 to 0.59 N*m (4 to 6 kgf*cm, 4 to 5 in.*lbf) + Driven pinion preload
      New bearing (with SST) 0.28 to 0.43 N*m (3 to 4 kgf*cm, 3 to 3.8 in.*lbf) + Driven pinion preload
      Reused bearing (without SST) 0.25 to 0.49 N*m (3 to 4 kgf*cm, 3 to 4 in.*lbf) + Driven pinion preload
      Reused bearing (with SST) 0.18 to 0.35 N*m (2 to 3 kgf*cm, 2 to 3 in.*lbf) + Driven pinion preload

      HINT: 

      • Use a torque wrench with a fulcrum length of 130 mm (5.12 in.).
      • Turn the driven pinion counterclockwise and clockwise several times.

      If the preload is outside the specified range, replace the No. 2 transfer ring gear mounting case washer with one that is thicker or thinner as necessary and recheck.

      Fig 23: Identifying No. 2 Transfer Ring Gear Mounting Case Washer
      GTY212110Courtesy of © TOYOTA, LICENSE AGREEMENT TMS1002
      WASHER THICKNESS: MM (IN.)

      Mark Thickness Mark Thickness
      G7 2.47 (0.0972) M7 3.47 (0.1366)
      G8 2.49 (0.0980) M8 3.49 (0.1374)
      G9 2.51 (0.0988) M9 3.51 (0.1382)
      H0 2.53 (0.0996) N0 3.53 (0.1390)
      H1 2.55 (0.1004) N1 3.55 (0.1398)
      H2 2.57 (0.1012) N2 3.57 (0.1406)
      H3 2.59 (0.1020) N3 3.59 (0.1413)
      H4 2.61 (0.1028) N4 3.61 (0.1421)
      H5 2.63 (0.1035) N5 3.63 (0.1429)
      H6 2.65 (0.1043) N6 3.65 (0.1437)
      H7 2.67 (0.1051) N7 3.67 (0.1445)
      H8 2.69 (0.1059) N8 3.69 (0.1453)
      H9 2.71 (0.1067) N9 3.71 (0.1461)
      J0 2.73 (0.1075) P0 3.73 (0.1469)
      J1 2.75 (0.1083) P1 3.75 (0.1476)
      J2 2.77 (0.1091) P2 3.77 (0.1484)
      J3 2.79 (0.1098) P3 3.79 (0.1492)
      J4 2.81 (0.1106) P4 3.81 (0.1500)
      J5 2.83 (0.1114) P5 3.83 (0.1508)
      J6 2.85 (0.1122) P6 3.85 (0.1516)
      J7 2.87 (0.1130) P7 3.87 (0.1524)
      J8 2.89 (0.1138) P8 3.89 (0.1531)
      J9 2.91 (0.1146) P9 3.91 (0.1539)
      K0 2.93 (0.1154) Q0 3.93 (0.1547)
      K1 2.95 (0.1161) Q1 3.95 (0.1555)
      K2 2.97 (0.1169) Q2 3.97 (0.1563)
      K3 2.99 (0.1177) Q3 3.99 (0.1571)
      K4 3.01 (0.1185) Q4 4.01 (0.1579)
      K5 3.03 (0.1193) Q5 4.03 (0.1587)
      K6 3.05 (0.1201) Q6 4.05 (0.1594)
      K7 3.07 (0.1209) Q7 4.07 (0.1602)
      K8 3.09 (0.1217) Q8 4.09 (0.1610)
      K9 3.11 (0.1224) Q9 4.11 (0.1618)
      L0 3.13 (0.1232) R0 4.13 (0.1626)
      L1 3.15 (0.1240) R1 4.15 (0.1634)
      L2 3.17 (0.1248) R2 4.17 (0.1642)
      L3 3.19 (0.1256) R3 4.19 (0.1650)
      L4 3.21 (0.1264) R4 4.21 (0.1657)
      L5 3.23 (0.1272) R5 4.23 (0.1665)
      L6 3.25 (0.1280) R6 4.25 (0.1673)
      L7 3.27 (0.1287) R7 4.27 (0.1681)
      L8 3.29 (0.1295) R8 4.29 (0.1689)
      L9 3.31 (0.1303) R9 4.31 (0.1697)
      M0 3.33 (0.1311) S0 4.33 (0.1705)
      M1 3.35 (0.1319) S1 4.35 (0.1713)
      M2 3.37 (0.1327) S2 4.37 (0.1720)
      M3 3.39 (0.1335) S3 4.39 (0.1728)
      M4 3.41 (0.1343) S4 4.41 (0.1736)
      M5 3.43 (0.1350) S5 4.43 (0.1744)
      M6 3.45 (0.1358) S6 4.45 (0.1752)
    2. Using a chisel and a hammer, stake the gear nut.
      Fig 24: Staking Gear Nut
      GTY226643Courtesy of © TOYOTA, LICENSE AGREEMENT TMS1002
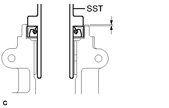
  15. INSTALL TRANSFER CASE OIL SEAL RH (for RH Side) 
    1. Using SST and a hammer, drive a new transfer case oil seal RH into the case until it reaches the position shown in the illustration.
      Fig 25: Driving New Transfer Case Oil Seal RH Into Case Using SST
      GTY215560Courtesy of © TOYOTA, LICENSE AGREEMENT TMS1002
      • SST: 09950-60010 
        • 09951-00350
        • 09951-00580
        • 09952-06010
      • SST: 09950-70010 
        • 09951-07150

      Drive in depth

      33.5 to 34.5 mm (1.319 to 1.358 in.)

      NOTE:

      Do not install the oil seal at an angle.

    2. Apply a small amount of MP grease to the lip of the transfer case oil seal RH.
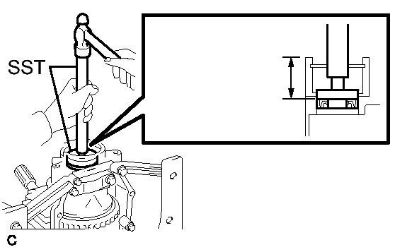
  16. INSTALL TRANSFER CASE OIL SEAL 
    1. Using SST and a hammer, drive a new transfer case oil seal into the transfer case until it reaches the position shown in the illustration.
      Fig 26: Installing Transfer Case Front Oil Seal Into Transfer Case
      GTY245532Courtesy of © TOYOTA, LICENSE AGREEMENT TMS1002
      • SST: 09608-10010 
      • SST: 09950-70010 
        • 09951-07150

      Drive in depth

      9.5 to 10.5 mm (0.374 to 0.413 in.)

    2. Apply a small amount of MP grease to the lip of the transfer case oil seal.
  17. INSTALL TRANSFER CASE REAR OIL SEAL 
    1. Using SST and a hammer, drive a new transfer case rear oil seal into the extension housing until it reaches the position shown in the illustration.
      Fig 27: Driving New Transfer Case Rear Oil Seal Into Extension Housing Using SST & Hammer
      GTY233090Courtesy of © TOYOTA, LICENSE AGREEMENT TMS1002
      • SST: 09325-20010 

      Drive in depth

      1.1 to 1.9 mm (0.0433 to 0.0748 in.)

    2. Apply a small amount of MP grease to the lip of the transfer case rear oil seal.
  18. INSTALL TRANSFER EXTENSION HOUSING DUST DEFLECTOR 
    1. Using SST and a press, press in the extension housing dust deflector until it contacts the installation surface as shown in the illustration.
      • SST: 09950-60020 
        • 09951-00810
      • SST: 09950-70010 
        • 09951-07150
      Fig 28: Pressing In Extension Housing Dust Deflector
      GTY230717Courtesy of © TOYOTA, LICENSE AGREEMENT TMS1002
  19. INSTALL TRANSFER EXTENSION HOUSING SUB-ASSEMBLY 
    1. Remove any FIPG material and be careful not to drop oil on the contact surfaces of the transfer extension housing sub-assembly and the transfer case.
      Fig 29: Applying FIPG To Transfer Extension Housing Sub-Assembly
      GTY221337Courtesy of © TOYOTA, LICENSE AGREEMENT TMS1002
    2. Degrease the surface with a non-residue solvent.
    3. Apply FIPG to the transfer extension housing sub-assembly.

      FIPG

      Toyota Genuine Seal Packing 1281, Three Bond 1281 or equivalent

    4. Install the transfer extension housing sub-assembly with the 4 bolts to the transfer case.
      Fig 30: Locating Transfer Extension Housing Bolts
      GTY244696Courtesy of © TOYOTA, LICENSE AGREEMENT TMS1002

      Torque: 26 N*m (260 kgf*cm, 19 ft.*lbf) 

      NOTE:

      Assemble transfer extension housing sub-assembly within 10 minutes after the FIPG application.

  20. SEPARATE TRANSFER ASSEMBLY 
    1. Remove the transfer assembly from the overhaul attachment.
  21. INSTALL TRANSFER CASE STRAIGHT PIN 
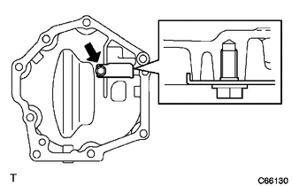
    1. Using a plastic hammer, drive the 4 transfer case straight pins into the transfer case positions shown in the illustration.
      Fig 31: Locating Transfer Case Straight Pins
      GTY244701Courtesy of © TOYOTA, LICENSE AGREEMENT TMS1002
  22. INSTALL TRANSFER DYNAMIC DAMPER 
    1. Install the transfer dynamic damper with the 3 bolts to the transfer extension housing sub-assembly.
      Fig 32: Locating Transfer Dynamic Damper Bolts
      GTY220314Courtesy of © TOYOTA, LICENSE AGREEMENT TMS1002

      Torque: 26 N*m (260 kgf*cm, 19 ft.*lbf) 

  23. INSTALL TRANSFER CASE BREATHER PLUG 
    1. Using SST and a hammer, tap in a new breather plug.
      Fig 33: Tapping In Breather Plug
      GTY218521Courtesy of © TOYOTA, LICENSE AGREEMENT TMS1002
      • SST: 09820-00031 
  24. INSTALL BREATHER OIL DEFLECTOR 
    1. Install the breather oil deflector with the bolt.
      Fig 34: Locating Breather Oil Deflector And Bolt
      GTY222187Courtesy of © TOYOTA, LICENSE AGREEMENT TMS1002

      Torque: 6.5 N*m (66 kgf*cm, 58 in.*lbf) 

  25. INSTALL NO. 1 TRANSFER CASE COVER 
    1. Remove any FIPG material and be careful not to drop oil on the contact surfaces of the No. 1 transfer case cover and the transfer case.
      Fig 35: Applying FIPG To No. 1 Transfer Case Cover
      GTY315377Courtesy of © TOYOTA, LICENSE AGREEMENT TMS1002
    2. Degrease the surface with a non-residue solvent.
    3. Apply FIPG to the No. 1 transfer case cover.

      FIPG

      Toyota Genuine Seal Packing 1281, Three Bond 1281 or equivalent

    4. Clean and degrease the 2 bolts (A) and the installation hole in the transfer case.
      Fig 36: Identifying No. 1 Transfer Case Cover Bolts
      GTY317952Courtesy of © TOYOTA, LICENSE AGREEMENT TMS1002
    5. Apply adhesive to 2 or 3 threads on the ends of the bolt (A).

      Adhesive

      Toyota Genuine Adhesive 1324, Three Bond 1324 or equivalent

    6. Install the No. 1 transfer case cover with the 8 bolts.

      Torque: 20 N*m (200 kgf*cm, 14 ft.*lbf) 

      NOTE:
      • Before pouring transfer oil, leave it at least an hour.
      • Assemble the No. 1 transfer case cover within 10 minutes after the FIPG application.
  26. INSTALL TRANSFER DRAIN PLUG 
    1. Install a new gasket to the transfer drain plug.
      Fig 37: Locating Transfer Drain Plug
      GTY231907Courtesy of © TOYOTA, LICENSE AGREEMENT TMS1002
    2. Install the transfer drain plug to the transfer assembly.

      Torque: 49 N*m (500 kgf*cm, 36 ft.*lbf) 

  27. INSTALL NO. 1 TRANSFER CASE PLUG 
    1. Install a new gasket to the No. 1 transfer case plug.
      Fig 38: Locating No. 1 Transfer Case Plug
      GTY212046Courtesy of © TOYOTA, LICENSE AGREEMENT TMS1002
    2. Install the No. 1 transfer case plug to the transfer assembly.

      Torque: 49 N*m (500 kgf*cm, 36 ft.*lbf) 

  28. INSTALL NO. 2 TRANSFER CASE PLUG 
    1. Install a new gasket to the No. 2 transfer case plug.
      Fig 39: Locating No. 2 Transfer Case Plug
      GTY245327Courtesy of © TOYOTA, LICENSE AGREEMENT TMS1002
    2. Install the No. 2 transfer case plug to the transfer assembly.

      Torque: 49 N*m (500 kgf*cm, 36 ft.*lbf) 

  29. INSTALL TRANSFER AND TRANSAXLE SETTING STUD BOLT 
    1. Install the 4 transfer and transaxle setting stud bolts to the transfer case positions shown in the illustration.

      Torque: 39 N*m (400 kgf*cm, 29 ft.*lbf) 

      HINT: 

      Install the shorter end of the stud bolts to the transfer.

      Fig 40: Locating Transaxle Setting Stud Bolts
      GTY244702Courtesy of © TOYOTA, LICENSE AGREEMENT TMS1002

      Stud bolt length

      30 mm (1.1811 in.)

      12 mm (0.4724 in.)

      22 mm (0.8661 in.)