LEMON Manuals: Even more car manuals for everyone
Home >> Toyota >> 2012 >> Prius Two >> Repair and Diagnosis >> Restraints >> Restraints Control Systems >> Supplemental Restraint System (Except Plug-In) (Service Information) >> Curtain Shield Airbag Assembly >> Installation >> Installation

Curtain Shield Airbag Assembly: Installation: Installation

HINT: 

  1. INSTALL CURTAIN SHIELD AIRBAG ASSEMBLY 
    1. Check that the power switch is off.
    2. Check that the cable is disconnected from the negative (-) battery terminal.
      WARNING:

      Wait at least 90 seconds after disconnecting the cable from the negative (-) battery terminal to disable the SRS system.

    3. Temporarily install the curtain shield airbag assembly with the 5 hooks.
      Fig 1: Locating Curtain Shield Airbag Hooks And Clips
      GTY226033Courtesy of © TOYOTA, LICENSE AGREEMENT TMS1002
      NOTE:

      Do not twist the curtain shield airbag assembly when installing it.

    4. Install the curtain shield airbag assembly to the body panel with 4 new clips and 4 new spacers.
      Fig 2: Locating Curtain Shield Airbag Pins
      GTY217829Courtesy of © TOYOTA, LICENSE AGREEMENT TMS1002
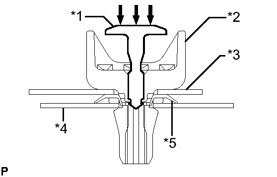
      1. Install 4 new pins as shown in the illustration.
        Fig 3: Identifying Curtain Shield Airbag, Clips And Body
        GTY222915Courtesy of © TOYOTA, LICENSE AGREEMENT TMS1002
        TEXT IN ILLUSTRATION

        *1 Pin
        *2 Clip
        *3 Airbag
        *4 Body
        *5 Spacer
        NOTE:

        Make sure that the pins of the clips are pushed in firmly.

    5. Install the 5 bolts.
      Fig 4: Locating Curtain Shield Airbag Bolts
      GTY218357Courtesy of © TOYOTA, LICENSE AGREEMENT TMS1002

      Torque: 9.8 N*m (100 kgf*cm, 87 in.*lbf) 

    6. Connect the curtain shield airbag connector.
      Fig 5: Identifying Curtain Shield Airbag Connector
      GTY233052Courtesy of © TOYOTA, LICENSE AGREEMENT TMS1002
      NOTE:

      When connecting any airbag connector, take care not to damage the airbag wire harness.

    7. Push in the lock to install the airbag connector.
  2. INSTALL ROOF HEADLINING ASSEMBLY 

    HINT: 

    Refer to the procedure from Install Roof Headlining Assembly. Refer to INSTALLATION .

  3. PERFORM DIAGNOSTIC SYSTEM CHECK 
    1. Perform a diagnostic system check. Refer to DTC CHECK / CLEAR .