LEMON Manuals: Even more car manuals for everyone
Home >> Toyota >> 2012 >> Prius Two >> Repair and Diagnosis >> External Pages >> Different variant/trim >> Section 119 (Smart Key System (For Entry Function) (Plug-In) (Diagnostic Codes & Symptom Tests)) >> SMART KEY SYSTEM (for Entry Function) >> Symptom Tests >> Room Oscillator does not Recognize Key >> Wiring Diagram

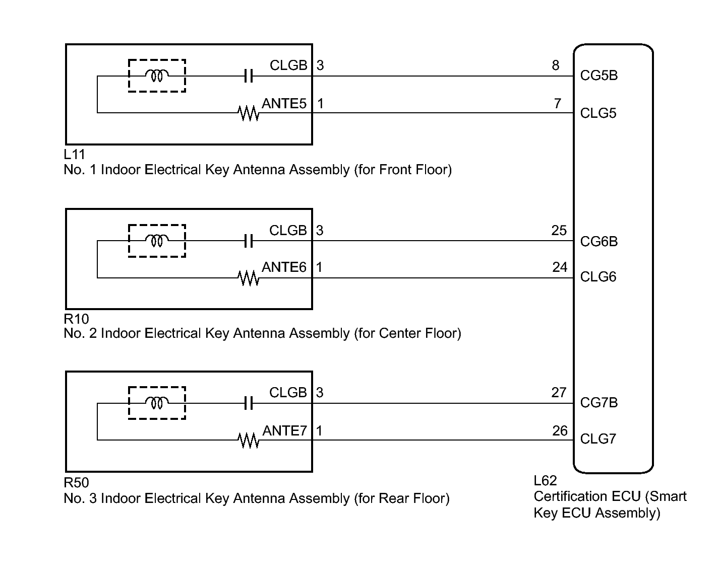
Room Oscillator does not Recognize Key: Wiring Diagram

WARNING: This page is about a different variant/trim than selected.
Fig 1: Identifying Indoor Electrical Key Antenna Circuit Diagram
GTY333136Courtesy of © TOYOTA, LICENSE AGREEMENT TMS1002