LEMON Manuals: Even more car manuals for everyone
Home >> Toyota >> 2012 >> Prius Two >> Repair and Diagnosis >> External Pages >> Different variant/trim >> Section 10 (Theft Deterrent / Keyless Entry System (Diagnostics & Service Information) (Plug-In)) >> Push-Button Start >> Symptom Tests >> Room Oscillator does not Recognize Key >> Wiring Diagram

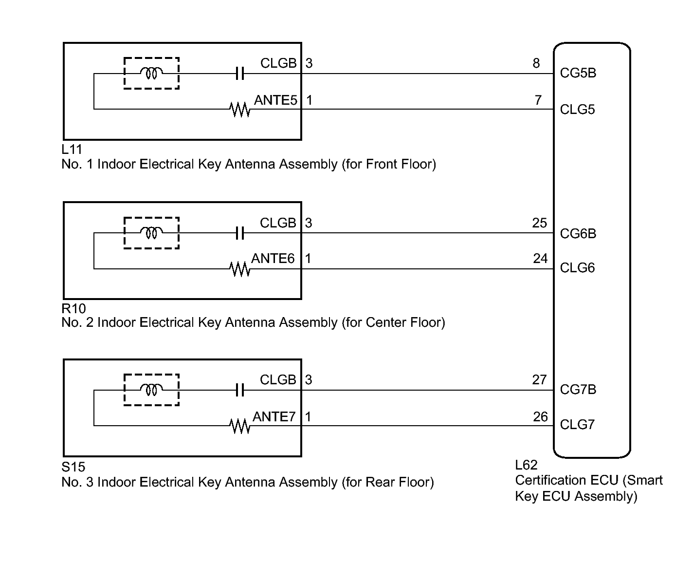
Room Oscillator does not Recognize Key: Wiring Diagram

WARNING: This page is about a different variant/trim than selected.
Fig 1: Identifying Certification ECU & Electrical Key Antenna Circuit Diagram
GTY326230Courtesy of © TOYOTA, LICENSE AGREEMENT TMS1002