LEMON Manuals: Even more car manuals for everyone
Home >> Toyota >> 2012 >> Prius Two >> Repair and Diagnosis (Single Page) >> Hybrid/Electric Powertrain >> Testing and Diagnosis >> Hybrid Control System (Except Plug-In)) (Diagnostic Codes (P0069-273 - P0A78-113)) >> Hybrid Control System >> DTC P0A1A-200: Generator Control Module; DTC P0A1A-792: Generator Control Module; DTC P0A1A-793: Generator Control Module >> Wiring Diagram

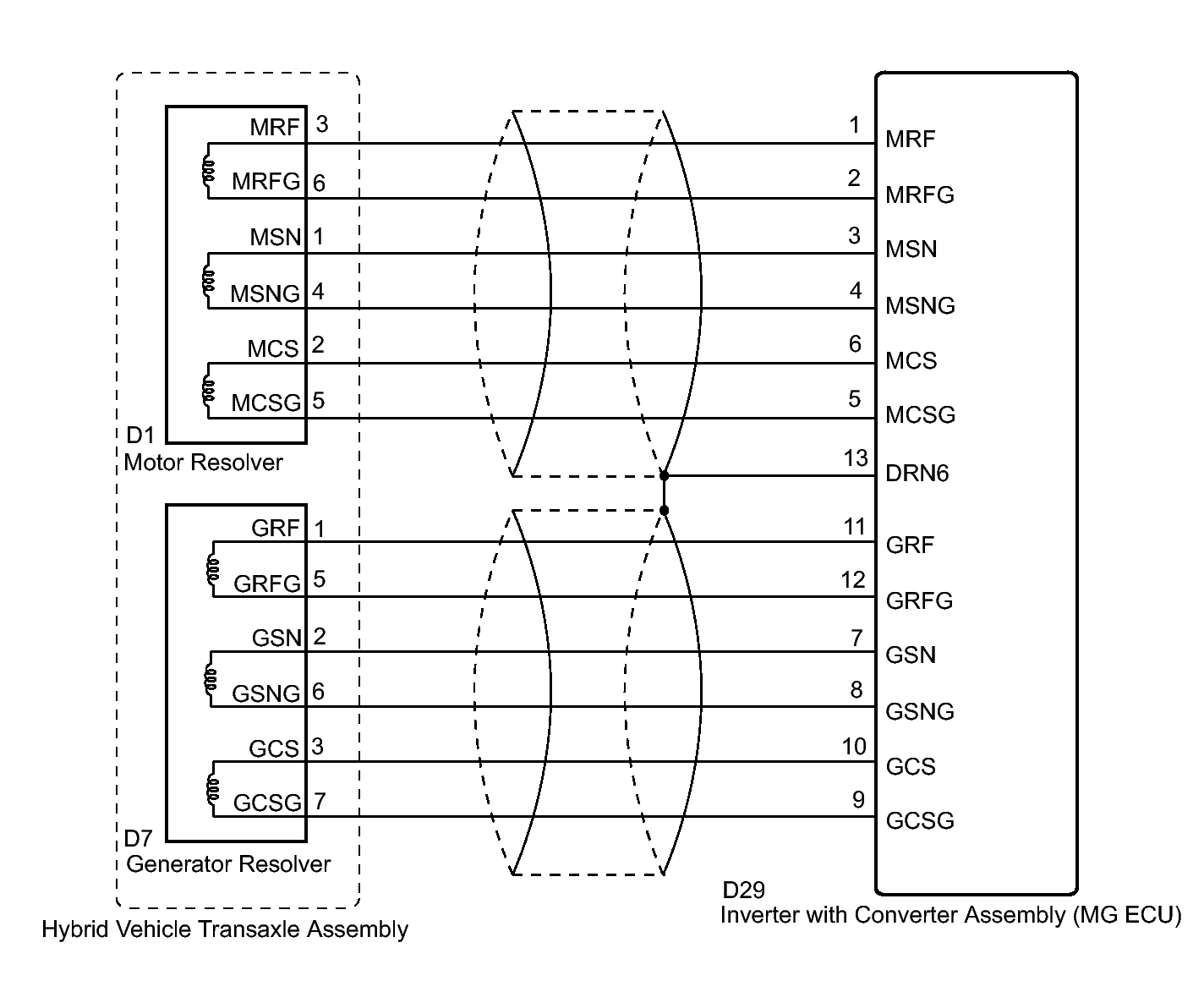
DTC P0A1A-200: Generator Control Module; DTC P0A1A-792: Generator Control Module; DTC P0A1A-793: Generator Control Module: Wiring Diagram

Fig 1: Hybrid Vehicle Transaxle Assembly - Wiring Diagram
GTY230598Courtesy of © TOYOTA, LICENSE AGREEMENT TMS1002