LEMON Manuals: Even more car manuals for everyone
Home >> Toyota >> 2012 >> Prius Three >> Repair and Diagnosis >> External Pages >> Different variant/trim >> Section 53 (Can Communication System (Plug-In) (Diagnostics - Introduction)) >> Can Communication System >> Terminals Of Ecu >> Terminals Of Ecu

Terminals Of Ecu

WARNING: This page is about a different variant/trim than selected.
NOTE:
  • Turn the power switch off before measuring the resistances between CAN main bus wires and between CAN main bus branch wires.
  • Turn the power switch off before inspecting CAN bus wires for a ground short.
  • After the power switch is turned off, check that the key reminder warning system and light reminder warning system are not operating.
  • Before measuring the resistance, leave the vehicle as is for at least 1 minute and do not operate the power switch, any other switches or the doors. If any doors need to be opened in order to check connectors, open the doors and leave them open.
  • This information describes the standard CAN values for all CAN related components.

HINT: 

  1. CAN NO. 1 JUNCTION CONNECTOR 
    1. Check the CAN No. 1 junction connector.
      1. Connection diagram
        Fig 1: CAN No. 1 Junction Connector Terminal Identification
        GTY341789Courtesy of © TOYOTA, LICENSE AGREEMENT TMS1002
        TEXT IN ILLUSTRATION

        *a Component with harness connected
        (CAN No. 1 Junction Connector)
        *b to CAN No. 2 Junction Connector
        *c to Main Body ECU *d to Steering Angle Sensor
        *e to Combination Meter Assembly *f to Power Steering ECU Assembly
        *g to Brake booster with master cylinder (Skid control ECU) *h to DLC3
        *i to ECM - -
    2. Check the connection diagram of the components which are connected to the CAN No. 1 junction connector.
      Terminal No. (Symbol) Wiring Color Connected to
      L174-1 (CANH) V CAN No. 2 junction connector
      L174-2 (CANL) W
      L173-1 (CANH) BR Main body ECU
      L173-2 (CANL) W
      L172-1 (CANH) L Steering angle sensor
      L172-2 (CANL) W
      L171-1 (CANH) P Combination meter assembly
      L171-2 (CANL) W
      L170-1 (CANH) R Power steering ECU assembly
      L170-2 (CANL) W
      L169-1 (CANH) LG Brake booster with master cylinder (Skid control ECU)
      L169-2 (CANL) L
      L168-1 (CANH) W DLC3
      L168-2 (CANL) Y
      L167-1 (CANH) P ECM
      L167-2 (CANL) V
  2. CAN NO. 2 JUNCTION CONNECTOR 
    1. Check the CAN No. 2 junction connector.
      1. Connection diagram
        Fig 2: CAN No. 2 Junction Connector Terminal Identification
        GTY335413Courtesy of © TOYOTA, LICENSE AGREEMENT TMS1002
        TEXT IN ILLUSTRATION

        *a Component with harness connected
        (CAN No. 2 Junction Connector)
        *b to DCM (Telematics Transceiver)*1
        *c to CAN No. 1 Junction Connector *d to Power Management Control ECU
        *e to Plugin Charge Control ECU Assembly *f to Yaw Rate and Acceleration Sensor
        *g to Certification ECU (Smart Key ECU Assembly) *h
        • to Navigation ECU Sub-assembly (Navigation Receiver Assembly)*2
        • to Radio and Display Receiver Assembly*3
    2. Check the connection diagram of the components which are connected to the CAN No. 2 junction connector.
      Terminal No. (Symbol) Wiring Color Connected to
      L181-1 (CANH) L DCM (Telematics transceiver)*1
      L181-2 (CANL) W
      L180-1 (CANH) V CAN No. 1 junction connector
      L180-2 (CANL) W
      L179-1 (CANH) B Power management control ECU
      L179-2 (CANL) W
      L178-1 (CANH) B Plugin charge control ECU assembly
      L178-2 (CANL) W
      L177-1 (CANH) Y Yaw rate and acceleration sensor
      L177-2 (CANL) L
      L176-1 (CANH) BE Certification ECU (Smart key ECU assembly)
      L176-2 (CANL) P
      L175-1 (CANH) G
      • Navigation ECU sub-assembly (Navigation receiver assembly)*2
      • Radio and display receiver assembly*3
      L175-2 (CANL) W

      *1: w/ Manual (SOS) Switch

      *2: for Navigation receiver type

      *3: for Radio and display type

  3. CAN NO. 3 JUNCTION CONNECTOR 
    1. Check the CAN No. 3 junction connector.
      1. Connection diagram
        Fig 3: CAN No. 3 Junction Connector Terminal Identification
        GTY338422Courtesy of © TOYOTA, LICENSE AGREEMENT TMS1002
        TEXT IN ILLUSTRATION

        *a Front view of wire harness connector
        (to CAN No. 3 Junction Connector)
        *b to Transmission Control ECU Assembly
        *c to Power Management Control ECU *d to CAN No. 4 Junction Connector
    2. Check the connection diagram of the components which are connected to the CAN No. 3 junction connector.
      Terminal No. (Symbol) Wiring Color Connected to
      L183-1 (CANH) BE Transmission control ECU assembly
      L183-12 (CANL) P
      L183-2 (CANH) P Power management control ECU
      L183-13 (CANL) V
      L183-3 (CANH) V CAN No. 4 junction connector
      L183-14 (CANL) W
  4. CAN NO. 4 JUNCTION CONNECTOR 
    1. Check the CAN No. 4 junction connector.
      1. Connection diagram
        Fig 4: CAN No. 4 Junction Connector Terminal Identification
        GTY332898Courtesy of © TOYOTA, LICENSE AGREEMENT TMS1002
        TEXT IN ILLUSTRATION

        *a CAN No. 4 Junction Connector *b Junction Connector B Side
        *c Junction Connector A Side *d Earth Terminal
        *e Front view of wire harness connector
        (to CAN No. 4 Junction Connector)
        - -
    2. Check the connection diagram of the components which are connected to the CAN No. 4 junction connector.
      Terminal No. (Symbol) Wiring Color Connected to
      L98-1 (CANH) LG Seat belt control ECU
      L98-2 (CANL) L
      L164-1 (CANH) B Driving support ECU
      L164-2 (CANL) W
      L97-1 (CANH) V CAN No. 3 junction connector
      L97-2 (CANL) W
      L166-1 (CANH) Y Air conditioning amplifier assembly
      L166-2 (CANL) BR
      L165-1 (CANH) R Center airbag sensor assembly
      L165-2 (CANL) G
  5. CAN NO. 5 JUNCTION CONNECTOR 
    1. Check the CAN No. 5 junction connector.
      1. Connection diagram
        Fig 5: CAN No. 5 Junction Connector Terminal Identification
        GTY338421Courtesy of © TOYOTA, LICENSE AGREEMENT TMS1002
        TEXT IN ILLUSTRATION

        *a Front view of wire harness connector
        (to CAN No. 5 Junction Connector)
        *b to Power Management Control ECU
        *c to Brake Booster with Master Cylinder (Skid Control ECU) *d to ECM
    2. Check the connection diagram of the components which are connected to the CAN No. 5 junction connector.
      Terminal No. (Symbol) Wiring Color Connected to
      L182-12 (CANH) LG Power management control ECU
      L182-1 (CANL) L
      L182-14 (CANH) P Brake booster with master cylinder (Skid control ECU)
      L182-3 (CANL) V
      L182-15 (CANH) B ECM
      L182-4 (CANL) W
  6. DLC3 
    1. Disconnect the cable from the negative (-) auxiliary battery terminal.
    2. Measure the resistance according to the value(s) in the table below.
      Fig 6: DLC3 Connector Terminal Identification
      GTY323881Courtesy of © TOYOTA, LICENSE AGREEMENT TMS1002
      TEXT IN ILLUSTRATION

      *1 DLC3 - -

      Standard Resistance

      Terminal No. (Symbol) Wiring Color Terminal Description Condition Specified Condition
      L61-6 (CANH) - L61-14 (CANL) W - Y HIGH-level CAN bus wire - LOW-level CAN bus wire Cable disconnected from negative (-) auxiliary battery terminal 54 to 69 Ω
      L61-6 (CANH) - L61-4 (CG) W - G HIGH-level CAN bus wire - Ground Cable disconnected from negative (-) auxiliary battery terminal 200 Ω or higher
      L61-14 (CANL) - L61-4 (CG) Y - G LOW-level CAN bus wire - Ground Cable disconnected from negative (-) auxiliary battery terminal 200 Ω or higher
      L61-6 (CANH) - L61-16 (BAT) W - R HIGH-level CAN bus wire - Battery positive (+) Cable disconnected from negative (-) auxiliary battery terminal 6 kΩ or higher
      L61-14 (CANL) - L61-16 (BAT) Y - R LOW-level CAN bus wire - Battery positive (+) Cable disconnected from negative (-) auxiliary battery terminal 6 kΩ or higher
  7. ECM 
    Fig 7: ECM Connector Terminal Identification
    GTY338627Courtesy of © TOYOTA, LICENSE AGREEMENT TMS1002
    TEXT IN ILLUSTRATION

    *a Component without harness connected
    (ECM)
    - -
    1. Disconnect the cable from the negative (-) auxiliary battery terminal.
    2. Disconnect the ECM connectors.
      Fig 8: A57 & D28 Connector Terminal Identification
      GTY337132Courtesy of © TOYOTA, LICENSE AGREEMENT TMS1002
      TEXT IN ILLUSTRATION

      *a Front view of wire harness connector
      (to ECM)
      - -
    3. Measure the resistance according to the value(s) in the table below.

      Standard Resistance

      V1 BUS MAIN WIRE

      Terminal No. (Symbol) Wiring Color Terminal Description Condition Specified Condition
      A57-13 (CANH) - A57-5 (CANL) P - V HIGH-level CAN bus wire - LOW-level CAN bus wire Cable disconnected from negative (-) auxiliary battery terminal 108 to 132 Ω
      A57-13 (CANH) - D28-104 (E1) P - BR HIGH-level CAN bus wire - Ground Cable disconnected from negative (-) auxiliary battery terminal 200 Ω or higher
      A57-5 (CANL) - D28-104 (E1) V - BR LOW-level CAN bus wire - Ground Cable disconnected from negative (-) auxiliary battery terminal 200 Ω or higher
      A57-13 (CANH) - A57-20 (BATT) P - R HIGH-level CAN bus wire - Battery positive (+) Cable disconnected from negative (-) auxiliary battery terminal 6 kΩ or higher
      A57-5 (CANL) - A57-20 (BATT) V - R LOW-level CAN bus wire - Battery positive (+) Cable disconnected from negative (-) auxiliary battery terminal 6 kΩ or higher
      POWER MANAGEMENT BUS MAIN WIRE

      Terminal No. (Symbol) Wiring Color Terminal Description Condition Specified Condition
      A57-12 (CANP) - A57-4 (CANN) B - W HIGH-level CAN bus wire - LOW-level CAN bus wire Cable disconnected from negative (-) auxiliary battery terminal 108 to 132 Ω
      A57-12 (CANP) - D28-104 (E1) B - BR HIGH-level CAN bus wire - Ground Cable disconnected from negative (-) auxiliary battery terminal 200 Ω or higher
      A57-4 (CANN) - D28-104 (E1) W - BR LOW-level CAN bus wire - Ground Cable disconnected from negative (-) auxiliary battery terminal 200 Ω or higher
      A57-12 (CANP) - A57-20 (BATT) B - R HIGH-level CAN bus wire - Battery positive (+) Cable disconnected from negative (-) auxiliary battery terminal 6 kΩ or higher
      A57-4 (CANN) - A57-20 (BATT) W - R LOW-level CAN bus wire - Battery positive (+) Cable disconnected from negative (-) auxiliary battery terminal 6 kΩ or higher
  8. COMBINATION METER ASSEMBLY 
    Fig 9: Combination Meter Assembly Connector Terminal Identification
    GTY329289Courtesy of © TOYOTA, LICENSE AGREEMENT TMS1002
    TEXT IN ILLUSTRATION

    *a Component without harness connected
    (Combination Meter Assembly)
    - -
    1. Disconnect the cable from the negative (-) auxiliary battery terminal.
    2. Disconnect the combination meter assembly connector.
      Fig 10: L27 Connector Terminal Identification
      GTY336902Courtesy of © TOYOTA, LICENSE AGREEMENT TMS1002
      TEXT IN ILLUSTRATION

      *a Front view of wire harness connector
      (to Combination Meter Assembly)
      - -
    3. Measure the resistance according to the value(s) in the table below.

      Standard Resistance

      Terminal No. (Symbol) Wiring Color Terminal Description Condition Specified Condition
      L27-10 (CANH) - L27-11 (CANL) P - W HIGH-level CAN bus wire - LOW-level CAN bus wire Cable disconnected from negative (-) auxiliary battery terminal 54 to 69 Ω
      L27-10 (CANH) - L27-30 (ES) P - BR HIGH-level CAN bus wire - Ground Cable disconnected from negative (-) auxiliary battery terminal 200 Ω or higher
      L27-11 (CANL) - L27-30 (ES) W - BR LOW-level CAN bus wire - Ground Cable disconnected from negative (-) auxiliary battery terminal 200 Ω or higher
      L27-10 (CANH) - L27-18 (B) P - R HIGH-level CAN bus wire - Battery positive (+) Cable disconnected from negative (-) auxiliary battery terminal 6 kΩ or higher
      L27-11 (CANL) - L27-18 (B) W - R LOW-level CAN bus wire - Battery positive (+) Cable disconnected from negative (-) auxiliary battery terminal 6 kΩ or higher
  9. POWER MANAGEMENT CONTROL ECU 
    Fig 11: Power Management Control ECU Connector Terminal Identification
    GTY324650Courtesy of © TOYOTA, LICENSE AGREEMENT TMS1002
    TEXT IN ILLUSTRATION

    *a Component without harness connected
    (Power Management Control ECU)
    - -
    1. V1 Bus Branch Wire
      1. Disconnect the cable from the negative (-) auxiliary battery terminal.
      2. Disconnect the power management control ECU connector.
        Fig 12: Power Management Control ECU Connector Terminal Identification
        GTY328029Courtesy of © TOYOTA, LICENSE AGREEMENT TMS1002
        TEXT IN ILLUSTRATION

        *a Rear view of wire harness connector
        (to Power Management Control ECU)
      3. Measure the resistance according to the value(s) in the table below.

        Standard Resistance

        V1 BUS BRANCH WIRE

        Terminal No. (Symbol) Wiring Color Terminal Description Condition Specified Condition
        L136-25 (CA1H) - L136-24 (CA1L) B - W HIGH-level CAN bus wire - LOW-level CAN bus wire Cable disconnected from negative (-) auxiliary battery terminal 54 to 69 Ω
        L136-25 (CA1H) - L136-4 (E12) B - BR HIGH-level CAN bus wire - Ground Cable disconnected from negative (-) auxiliary battery terminal 200 Ω or higher
        L136-24 (CA1L) - L136-4 (E12) W - BR LOW-level CAN bus wire - Ground Cable disconnected from negative (-) auxiliary battery terminal 200 Ω or higher
        L136-25 (CA1H) - L136-7 (AM21) B - W HIGH-level CAN bus wire - Battery positive (+) Cable disconnected from negative (-) auxiliary battery terminal 6 kΩ or higher
        L136-24 (CA1L) - L136-7 (AM21) W - W LOW-level CAN bus wire - Battery positive (+) Cable disconnected from negative (-) auxiliary battery terminal 6 kΩ or higher
    2. V2 Bus Main Wire
      1. Disconnect the cable from the negative (-) auxiliary battery terminal.
      2. Disconnect the power management control ECU connector.
        Fig 13: Power Management Control ECU Connector Terminal Identification
        GTY324227Courtesy of © TOYOTA, LICENSE AGREEMENT TMS1002
        TEXT IN ILLUSTRATION

        *a Rear view of wire harness connector
        (to Power Management Control ECU)
      3. Measure the resistance according to the value(s) in the table below.

        Standard Resistance

        V2 BUS MAIN WIRE

        Terminal No. (Symbol) Wiring Color Terminal Description Condition Specified Condition
        L135-34 (CA2H) - L135-35 (CA2L) P - V HIGH-level CAN bus wire - LOW-level CAN bus wire Cable disconnected from negative (-) auxiliary battery terminal 108 to 132 Ω
        L135-34 (CA2H) - L135-6 (E1) P - BR HIGH-level CAN bus wire - Ground Cable disconnected from negative (-) auxiliary battery terminal 200 Ω or higher
        L135-35 (CA2L) - L135-6 (E1) V - BR LOW-level CAN bus wire - Ground Cable disconnected from negative (-) auxiliary battery terminal 200 Ω or higher
        L135-34 (CA2H) - L135-1 (AM22) P - W HIGH-level CAN bus wire - Battery positive (+) Cable disconnected from negative (-) auxiliary battery terminal 6 kΩ or higher
        L135-35 (CA2L) - L135-1 (AM22) V - W LOW-level CAN bus wire - Battery positive (+) Cable disconnected from negative (-) auxiliary battery terminal 6 kΩ or higher
    3. Power Management Bus Main Wire
      1. Disconnect the cable from the negative (-) auxiliary battery terminal.
      2. Disconnect the power management control ECU connector.
        Fig 14: Power Management Control ECU Connector Terminal Identification
        GTY328034Courtesy of © TOYOTA, LICENSE AGREEMENT TMS1002
        TEXT IN ILLUSTRATION

        *a Rear view of wire harness connector
        (to Power Management Control ECU)
      3. Measure the resistance according to the value(s) in the table below.

        Standard Resistance

        POWER MANAGEMENT BUS MAIN WIRE

        Terminal No. (Symbol) Wiring Color Terminal Description Condition Specified Condition
        L136-31 (CA3P) -L136-30 (CA3N) LG - L HIGH-level CAN bus wire - LOW-level CAN bus wire Cable disconnected from negative (-) auxiliary battery terminal 108 to 132 Ω
        L136-31 (CA3P) - L136-4 (E12) LG - BR HIGH-level CAN bus wire - Ground Cable disconnected from negative (-) auxiliary battery terminal 200 Ω or higher
        L136-30 (CA3N) - L136-4 (E12) L - BR LOW-level CAN bus wire - Ground Cable disconnected from negative (-) auxiliary battery terminal 200 Ω or higher
        L136-31 (CA3P) - L136-7 (AM21) LG - W HIGH-level CAN bus wire - Battery positive (+) Cable disconnected from negative (-) auxiliary battery terminal 6 kΩ or higher
        L136-30 (CA3N) - L136-7 (AM21) L - W LOW-level CAN bus wire - Battery positive (+) Cable disconnected from negative (-) auxiliary battery terminal 6 kΩ or higher
  10. MAIN BODY ECU 
    Fig 15: Main Body ECU Connector Terminal Identification
    GTY325379Courtesy of © TOYOTA, LICENSE AGREEMENT TMS1002
    TEXT IN ILLUSTRATION

    *a Component without harness connected
    (Instrument Panel Junction Block Assembly and Main Body ECU)
    - -
    1. Disconnect the cable from the negative (-) auxiliary battery terminal.
    2. Disconnect the main body ECU connector.
      Fig 16: L7 & L61 Connector Terminal Identification
      GTY331802Courtesy of © TOYOTA, LICENSE AGREEMENT TMS1002
      TEXT IN ILLUSTRATION

      *1 DLC3 - -
      *a Front view of wire harness connector
      (to Main Body ECU)
      - -
    3. Measure the resistance according to the value(s) in the table below.

      Standard Resistance

      Terminal No. (Symbol) Wiring Color Terminal Description Condition Specified Condition
      L7-14 (CANH) - L7-13 (CANL) BR - W HIGH-level CAN bus wire - LOW-level CAN bus wire Cable disconnected from negative (-) auxiliary battery terminal 54 to 69 Ω
      L7-14 (CANH) - L61-4 (CG) BR - G HIGH-level CAN bus wire - Ground Cable disconnected from negative (-) auxiliary battery terminal 200 Ω or higher
      L7-13 (CANL) - L61-4 (CG) W - G LOW-level CAN bus wire - Ground Cable disconnected from negative (-) auxiliary battery terminal 200 Ω or higher
      L7-14 (CANH) - L61-16 (BAT) BR - R HIGH-level CAN bus wire - Battery positive (+) Cable disconnected from negative (-) auxiliary battery terminal 6 kΩ or higher
      L7-13 (CANL) - L61-16 (BAT) W - R LOW-level CAN bus wire - Battery positive (+) Cable disconnected from negative (-) auxiliary battery terminal 6 kΩ or higher
  11. BRAKE BOOSTER WITH MASTER CYLINDER (SKID CONTROL ECU) 
    Fig 17: Brake Booster With Master Cylinder (Skid Control ECU) Connector Terminal Identification
    GTY336496Courtesy of © TOYOTA, LICENSE AGREEMENT TMS1002
    TEXT IN ILLUSTRATION

    *a Component without harness connected
    (Brake Booster with Master Cylinder (Skid Control ECU))
    - -
    1. Disconnect the cable from the negative (-) auxiliary battery terminal.
    2. Disconnect the brake booster with master cylinder (skid control ECU) connector.
      Fig 18: A58 Connector Terminal Identification
      GTY332706Courtesy of © TOYOTA, LICENSE AGREEMENT TMS1002
      TEXT IN ILLUSTRATION

      *a Front view of wire harness connector
      (to Brake Booster with Master Cylinder (Skid Control ECU))
    3. Measure the resistance according to the value(s) in the table below.

      Standard Resistance

      V1 BUS BRANCH WIRE

      Terminal No. (Symbol) Wiring Color Terminal Description Condition Specified Condition
      A58-37 (CA1H) - A58-38 (CA1L) LG - L HIGH-level CAN bus wire - LOW-level CAN bus wire Cable disconnected from negative (-) auxiliary battery terminal 54 to 69 Ω
      A58-37 (CA1H) - A58-28 (GND) LG - W HIGH-level CAN bus wire - Ground Cable disconnected from negative (-) auxiliary battery terminal 200 Ω or higher
      A58-38 (CA1L) - A58-28 (GND) L - W LOW-level CAN bus wire - Ground Cable disconnected from negative (-) auxiliary battery terminal 200 Ω or higher
      A58-37 (CA1H) - A58-15 (BS) LG - B HIGH-level CAN bus wire - Battery positive (+) Cable disconnected from negative (-) auxiliary battery terminal 6 kΩ or higher
      A58-38 (CA1L) - A58-15 (BS) L - B LOW-level CAN bus wire - Battery positive (+) Cable disconnected from negative (-) auxiliary battery terminal 6 kΩ or higher
      POWER MANAGEMENT BUS BRANCH WIRE

      Terminal No. (Symbol) Wiring Color Terminal Description Condition Specified Condition
      A58-35 (CA2H) - A58-34 (CA2L) P - V HIGH-level CAN bus wire - LOW-level CAN bus wire Cable disconnected from negative (-) auxiliary battery terminal 54 to 69 Ω
      A58-35 (CA2H) - A58-28 (GND) P - W HIGH-level CAN bus wire - Ground Cable disconnected from negative (-) auxiliary battery terminal 200 Ω or higher
      A58-34 (CA2L) - A58-28 (GND) V - W LOW-level CAN bus wire - Ground Power switch off 200 Ω or higher
      A58-35 (CA2H) - A58-15 (BS) P - B HIGH-level CAN bus wire - Battery positive (+) Cable disconnected from negative (-) auxiliary battery terminal 6 kΩ or higher
      A58-34 (CA2L) - A58-15 (BS) V - B LOW-level CAN bus wire - Battery positive (+) Cable disconnected from negative (-) auxiliary battery terminal 6 kΩ or higher
  12. STEERING ANGLE SENSOR 
    1. Disconnect the cable from the negative (-) auxiliary battery terminal.
    2. Disconnect the steering angle sensor connector.
      Fig 19: Steering Angle Sensor Connector Terminal Identification
      GTY328793Courtesy of © TOYOTA, LICENSE AGREEMENT TMS1002
      TEXT IN ILLUSTRATION

      *a Front view of wire harness connector
      (to Steering Angle Sensor)
    3. Measure the resistance according to the value(s) in the table below.

      Standard Resistance

      Terminal No. (Symbol) Wiring Color Terminal Description Condition Specified Condition
      L51-4 (CANH) - L51-3 (CANL) L - W HIGH-level CAN bus wire - LOW-level CAN bus wire Cable disconnected from negative (-) auxiliary battery terminal 54 to 69 Ω
      L51-4 (CANH) - L51-2 (ESS) L - W-B HIGH-level CAN bus wire - Ground Cable disconnected from negative (-) auxiliary battery terminal 200 Ω or higher
      L51-3 (CANL) - L51-2 (ESS) W - W-B LOW-level CAN bus wire - Ground Cable disconnected from negative (-) auxiliary battery terminal 200 Ω or higher
      L51-4 (CANH) - L51-6 (BAT) L - R HIGH-level CAN bus wire - Battery positive (+) Cable disconnected from negative (-) auxiliary battery terminal 6 kΩ or higher
      L51-3 (CANL) - L51-6 (BAT) W - R LOW-level CAN bus wire - Battery positive (+) Cable disconnected from negative (-) auxiliary battery terminal 6 kΩ or higher
  13. YAW RATE AND ACCELERATION SENSOR 
    1. Disconnect the cable from the negative (-) auxiliary battery terminal.
    2. Disconnect the yaw rate and acceleration sensor connector.
      Fig 20: Yaw Rate & Acceleration Sensor Connector Terminal Identification
      GTY333416Courtesy of © TOYOTA, LICENSE AGREEMENT TMS1002
      TEXT IN ILLUSTRATION

      *1 DLC3
      *a Front view of wire harness connector
      (to Yaw Rate and Acceleration Sensor)
    3. Measure the resistance according to the value(s) in the table below.

      Standard Resistance

      Terminal No. (Symbol) Wiring Color Terminal Description Condition Specified Condition
      L12-3 (CANH) - L12-2 (CANL) Y - L HIGH-level CAN bus wire - LOW-level CAN bus wire Cable disconnected from negative (-) auxiliary battery terminal 54 to 69 Ω
      L12-3 (CANH) - L12-1 (GND) Y - W-B HIGH-level CAN bus wire - Ground Cable disconnected from negative (-) auxiliary battery terminal 200 Ω or higher
      L12-2 (CANL) - L12-1 (GND) L - W-B LOW-level CAN bus wire - Ground Cable disconnected from negative (-) auxiliary battery terminal 200 Ω or higher
      L12-3 (CANH) - L61-16 (BAT) Y - R HIGH-level CAN bus wire - Battery positive (+) Cable disconnected from negative (-) auxiliary battery terminal 6 kΩ or higher
      L12-2 (CANL) - L61-16 (BAT) L - R LOW-level CAN bus wire - Battery positive (+) Cable disconnected from negative (-) auxiliary battery terminal 6 kΩ or higher
  14. POWER STEERING ECU ASSEMBLY 
    Fig 21: Power Steering ECU Assembly Connector Terminal Identification
    GTY340270Courtesy of © TOYOTA, LICENSE AGREEMENT TMS1002
    TEXT IN ILLUSTRATION

    *a Component without harness connected
    (Power Steering ECU Assembly)
    - -
    1. Disconnect the cable from the negative (-) auxiliary battery terminal.
    2. Disconnect the power steering ECU assembly connectors.
      Fig 22: L188 & A27 Connector Terminal Identification
      GTY332102Courtesy of © TOYOTA, LICENSE AGREEMENT TMS1002
      TEXT IN ILLUSTRATION

      *a Front view of wire harness connector
      (to Power Steering ECU Assembly)
      - -
    3. Measure the resistance according to the value(s) in the table below.

      Standard Resistance

      Terminal No. (Symbol) Wiring Color Terminal Description Condition Specified Condition
      L188-1 (CANH) - L188-7 (CANL) R - W HIGH-level CAN bus wire - LOW-level CAN bus wire Cable disconnected from negative (-) auxiliary battery terminal 54 to 69 Ω
      L188-1 (CANH) - A27-2 (PGND) R - W-B HIGH-level CAN bus wire - Ground Cable disconnected from negative (-) auxiliary battery terminal 200 Ω or higher
      L188-7 (CANL) - A27-2 (PGND) W - W-B LOW-level CAN bus wire - Ground Cable disconnected from negative (-) auxiliary battery terminal 200 Ω or higher
      L188-1 (CANH) - A27-1 (PIG) R - W HIGH-level CAN bus wire - Battery positive (+) Cable disconnected from negative (-) auxiliary battery terminal 6 kΩ or higher
      L188-7 (CANL) - A27-1 (PIG) W - W LOW-level CAN bus wire - Battery positive (+) Cable disconnected from negative (-) auxiliary battery terminal 6 kΩ or higher
  15. CENTER AIRBAG SENSOR ASSEMBLY 
    1. Disconnect the cable from the negative (-) auxiliary battery terminal.
    2. Disconnect the center airbag sensor assembly connector.
      Fig 23: Center Airbag Sensor Assembly Connector Terminal Identification
      GTY339705Courtesy of © TOYOTA, LICENSE AGREEMENT TMS1002
      TEXT IN ILLUSTRATION

      *1 DLC3 - -
      *a Front view of wire harness connector
      (to Center Airbag Sensor Assembly)
      - -
    3. Measure the resistance according to the value(s) in the table below.

      Standard Resistance

      Terminal No. (Symbol) Wiring Color Terminal Description Condition Specified Condition
      L16-13 (CANH) - L16-22 (CANL) R - G HIGH-level CAN bus wire - LOW-level CAN bus wire Cable disconnected from negative (-) auxiliary battery terminal 54 to 69 Ω
      L16-13 (CANH) - L16-25 (E1) R - W-B HIGH-level CAN bus wire - Ground Cable disconnected from negative (-) auxiliary battery terminal 200 Ω or higher
      L16-22 (CANL) - L16-25 (E1) G - W-B LOW-level CAN bus wire - Ground Cable disconnected from negative (-) auxiliary battery terminal 200 Ω or higher
      L16-13 (CANH) - L61-16 (BAT) R - R HIGH-level CAN bus wire - Battery positive (+) Cable disconnected from negative (-) auxiliary battery terminal 6 kΩ or higher
      L16-22 (CANL) - L61-16 (BAT) G - R LOW-level CAN bus wire - Battery positive (+) Cable disconnected from negative (-) auxiliary battery terminal 6 kΩ or higher
  16. CERTIFICATION ECU (SMART KEY ECU ASSEMBLY) 
    Fig 24: Certification ECU (Smart Key ECU Assembly) Connector Terminal Identification
    GTY336870Courtesy of © TOYOTA, LICENSE AGREEMENT TMS1002
    TEXT IN ILLUSTRATION

    *a Component without harness connected
    (Certification ECU (Smart Key ECU Assembly))
    - -
    1. Disconnect the cable from the negative (-) auxiliary battery terminal.
    2. Disconnect the certification ECU (smart key ECU assembly) connector.
      Fig 25: L62 Connector Terminal Identification
      GTY328147Courtesy of © TOYOTA, LICENSE AGREEMENT TMS1002
      TEXT IN ILLUSTRATION

      *a Front view of wire harness connector
      (to Certification ECU (Smart Key ECU Assembly))
      - -
    3. Measure the resistance according to the value(s) in the table below.

      Standard Resistance

      Terminal No. (Symbol) Wiring Color Terminal Description Condition Specified Condition
      L62-9 (CANH) - L62-10 (CANL) BE - P HIGH-level CAN bus wire - LOW-level CAN bus wire Cable disconnected from negative (-) auxiliary battery terminal 54 to 69 Ω
      L62-9 (CANH) - L62-15 (E) BE - W-B HIGH-level CAN bus wire - Ground Cable disconnected from negative (-) auxiliary battery terminal 200 Ω or higher
      L62-10 (CANL) - L62-15 (E) P - W-B LOW-level CAN bus wire - Ground Cable disconnected from negative (-) auxiliary battery terminal 200 Ω or higher
      L62-9 (CANH) - L62-1 (+B) BE - B HIGH-level CAN bus wire - Battery positive (+) Cable disconnected from negative (-) auxiliary battery terminal 6 kΩ or higher
      L62-10 (CANL) - L62-1 (+B) P - B LOW-level CAN bus wire - Battery positive (+) Cable disconnected from negative (-) auxiliary battery terminal 6 kΩ or higher
  17. TRANSMISSION CONTROL ECU ASSEMBLY 
    Fig 26: Transmission Control ECU Assembly Connector Terminal Identification
    GTY341911Courtesy of © TOYOTA, LICENSE AGREEMENT TMS1002
    TEXT IN ILLUSTRATION

    *a Component without harness connected
    (Transmission Control ECU Assembly)
    - -
    1. Disconnect the cable from the negative (-) auxiliary battery terminal.
    2. Disconnect the transmission control ECU assembly connectors.
      Fig 27: A24 & A23 Connector Terminal Identification
      GTY332506Courtesy of © TOYOTA, LICENSE AGREEMENT TMS1002
      TEXT IN ILLUSTRATION

      *a Front view of wire harness connector
      (to Transmission Control ECU Assembly)
    3. Measure the resistance according to the value(s) in the table below.

      Standard Resistance

      Terminal No. (Symbol) Wiring Color Terminal Description Condition Specified Condition
      A24-16 (CA1H) - A24-15 (CA1L) BE - P HIGH-level CAN bus wire - LOW-level CAN bus wire Cable disconnected from negative (-) auxiliary battery terminal 54 to 69 Ω
      A24-16 (CA1H) - A24-1 (E1) BE - BR HIGH-level CAN bus wire - Ground Cable disconnected from negative (-) auxiliary battery terminal 200 Ω or higher
      A24-15 (CA1L) - A24-1 (E1) P - BR LOW-level CAN bus wire - Ground Cable disconnected from negative (-) auxiliary battery terminal 200 Ω or higher
      A24-16 (CA1H) - A23-15 (BATT) BE - SB HIGH-level CAN bus wire - Battery positive (+) Cable disconnected from negative (-) auxiliary battery terminal 6 kΩ or higher
      A24-15 (CA1L) - A23-15 (BATT) P - SB LOW-level CAN bus wire - Battery positive (+) Cable disconnected from negative (-) auxiliary battery terminal 6 kΩ or higher
  18. RADIO AND DISPLAY RECEIVER ASSEMBLY (for Radio and Display Type) 
    Fig 28: Radio & Display Receiver Assembly (For Radio & Display Type) Connector Terminal Identification
    GTY326395Courtesy of © TOYOTA, LICENSE AGREEMENT TMS1002
    TEXT IN ILLUSTRATION

    *A for 6 Speakers *B for 8 Speakers
    *C w/ Extension Module - -
    *a Component without harness connected
    (Radio and Display Receiver Assembly)
    - -
    1. Disconnect the cable from the negative (-) auxiliary battery terminal.
    2. Disconnect the radio and display receiver assembly connectors.
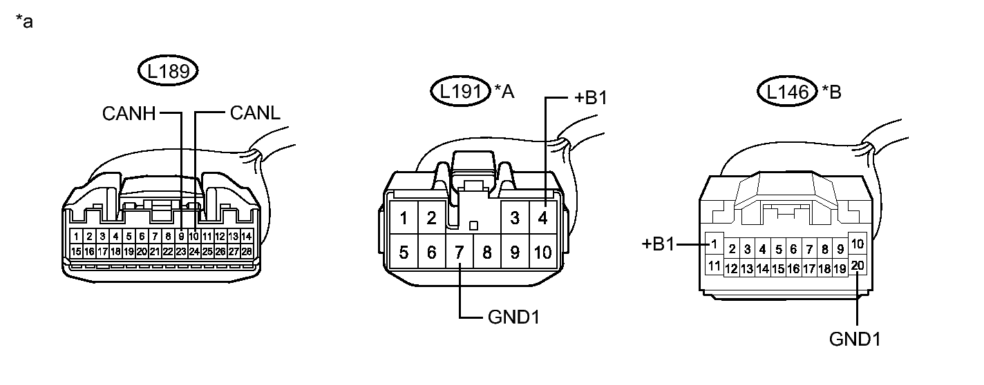
      Fig 29: L189, L191 & L146 Connector Terminal Identification
      GTY330794Courtesy of © TOYOTA, LICENSE AGREEMENT TMS1002
      TEXT IN ILLUSTRATION

      *A for 6 Speakers *B for 8 Speakers
      *a Front view of wire harness connector
      (to Radio and Display Receiver Assembly)
      - -
      1. Measure the resistance according to the value(s) in the table below.

        Standard Resistance

        Terminal No. (Symbol) Wiring Color Terminal Description Condition Specified Condition
        L189-9 (CANH) - L189-10 (CANL) G - W HIGH-level CAN bus wire - LOW-level CAN bus wire Cable disconnected from negative (-) auxiliary battery terminal 54 to 69 Ω
        L189-9 (CANH) - L191-7 (GND1)*1
        L189-9 (CANH) - L146-20 (GND1)*2
        G - BR HIGH-level CAN bus wire - Ground Cable disconnected from negative (-) auxiliary battery terminal 200 Ω or higher
        L189-10 (CANL) - L191-7 (GND1)*1
        L189-10 (CANL) - L146-20 (GND1)*2
        W - BR LOW-level CAN bus wire - Ground Cable disconnected from negative (-) auxiliary battery terminal 200 Ω or higher
        L189-9 (CANH) - L191-4 (+B1)*1
        L189-9 (CANH) - L146-1 (+B1)*2
        G - SB HIGH-level CAN bus wire - Battery positive (+) Cable disconnected from negative (-) auxiliary battery terminal 6 kΩ or higher
        L189-10 (CANL) - L191-4 (+B1)*1
        L189-10 (CANL) - L146-1 (+B1)*2
        W - SB LOW-level CAN bus wire - Battery positive (+) Cable disconnected from negative (-) auxiliary battery terminal 6 kΩ or higher

        *1: for 6 speakers

        *2: for 8 speakers

  19. NAVIGATION ECU SUB-ASSEMBLY (NAVIGATION RECEIVER ASSEMBLY) (for Navigation Receiver Type) 
    Fig 30: Navigation ECU Sub-Assembly (Navigation Receiver Assembly) (For Navigation Receiver Type) Connector Terminal Identification
    GTY338592Courtesy of © TOYOTA, LICENSE AGREEMENT TMS1002
    TEXT IN ILLUSTRATION

    *a Component without harness connected
    (Navigation ECU Sub-assembly (Navigation Receiver Assembly))
    - -
    1. Disconnect the cable from the negative (-) auxiliary battery terminal.
    2. Disconnect the navigation ECU sub-assembly (navigation receiver assembly) connectors.
      Fig 31: L145 & L156 Connector Terminal Identification
      GTY336264Courtesy of © TOYOTA, LICENSE AGREEMENT TMS1002
      TEXT IN ILLUSTRATION

      *a Front view of wire harness connector
      (to Navigation ECU Sub-assembly (Navigation Receiver Assembly))
      - -
      1. Measure the resistance according to the value(s) in the table below.

        Standard Resistance

        Terminal No. (Symbol) Wiring Color Terminal Description Condition Specified Condition
        L145-9 (CANH) - L145-10 (CANL) G - W HIGH-level CAN bus wire - LOW-level CAN bus wire Cable disconnected from negative (-) auxiliary battery terminal 54 to 69 Ω
        L145-9 (CANH) - L156-7 (GND1) G - BR HIGH-level CAN bus wire - Ground Cable disconnected from negative (-) auxiliary battery terminal 200 Ω or higher
        L145-10 (CANL) - L156-7 (GND1) W - BR LOW-level CAN bus wire - Ground Cable disconnected from negative (-) auxiliary battery terminal 200 Ω or higher
        L145-9 (CANH) - L156-4 (+B1) G - SB HIGH-level CAN bus wire - Battery positive (+) Cable disconnected from negative (-) auxiliary battery terminal 6 kΩ or higher
        L145-10 (CANL) - L156-4 (+B1) W - SB LOW-level CAN bus wire - Battery positive (+) Cable disconnected from negative (-) auxiliary battery terminal 6 kΩ or higher
  20. AIR CONDITIONING AMPLIFIER ASSEMBLY 
    Fig 32: Air Conditioning Amplifier Assembly Connector Terminal Identification
    GTY336846Courtesy of © TOYOTA, LICENSE AGREEMENT TMS1002
    TEXT IN ILLUSTRATION

    *a Component without harness connected
    (Air Conditioning Amplifier Assembly)
    - -
    1. Disconnect the cable from the negative (-) auxiliary battery terminal.
    2. Disconnect the air conditioning amplifier assembly connector.
      Fig 33: L113 Connector Terminal Identification
      GTY336901Courtesy of © TOYOTA, LICENSE AGREEMENT TMS1002
      TEXT IN ILLUSTRATION

      *a Front view of wire harness connector
      (to Air Conditioning Amplifier Assembly)
      - -
    3. Measure the resistance according to the value(s) in the table below.

      Standard Resistance

      Terminal No. (Symbol) Wiring Color Terminal Description Condition Specified Condition
      L113-11 (CANH) - L113-12 (CANL) Y - BR HIGH-level CAN bus wire - LOW-level CAN bus wire Cable disconnected from negative (-) auxiliary battery terminal 54 to 69 Ω
      L113-11 (CANH) - L113-14 (GND) Y - W-B HIGH-level CAN bus wire - Ground Cable disconnected from negative (-) auxiliary battery terminal 200 Ω or higher
      L113-12 (CANL) - L113-14 (GND) BR - W-B LOW-level CAN bus wire - Ground Cable disconnected from negative (-) auxiliary battery terminal 200 Ω or higher
      L113-11 (CANH) - L113-21 (B) Y - Y HIGH-level CAN bus wire - Battery positive (+) Cable disconnected from negative (-) auxiliary battery terminal 6 kΩ or higher
      L113-12 (CANL) - L113-21 (B) BR - Y LOW-level CAN bus wire - Battery positive (+) Cable disconnected from negative (-) auxiliary battery terminal 6 kΩ or higher
  21. SEAT BELT CONTROL ECU (w/ Pre-collision System) 
    Fig 34: Seat Belt Control ECU (W/ Pre-Collision System) Connector Terminal Identification
    GTY333720Courtesy of © TOYOTA, LICENSE AGREEMENT TMS1002
    TEXT IN ILLUSTRATION

    *a Component without harness connected
    (Seat Belt Control ECU)
    - -
    1. Disconnect the cable from the negative (-) auxiliary battery terminal.
    2. Disconnect the seat belt control ECU connectors.
      Fig 35: L134 & L133 Connector Terminal Identification.
      GTY335112Courtesy of © TOYOTA, LICENSE AGREEMENT TMS1002
      TEXT IN ILLUSTRATION

      *a Front view of wire harness connector
      (to Seat Belt Control ECU)
    3. Measure the resistance according to the value(s) in the table below.

      Standard Resistance

      Terminal No. (Symbol) Wiring Color Terminal Description Condition Specified Condition
      L134-1 (CANH) - L134-2 (CANL) LG - L HIGH-level CAN bus wire - LOW-level CAN bus wire Cable disconnected from negative (-) auxiliary battery terminal 54 to 69 Ω
      L134-1 (CANH) - L133-8 (PGND) LG - W-B HIGH-level CAN bus wire - Ground Cable disconnected from negative (-) auxiliary battery terminal 200 Ω or higher
      L134-2 (CANL) - L133-8 (PGND) L - W-B LOW-level CAN bus wire - Ground Cable disconnected from negative (-) auxiliary battery terminal 200 Ω or higher
      L134-1 (CANH) - L133-7 (+B) LG - B HIGH-level CAN bus wire - Battery positive (+) Cable disconnected from negative (-) auxiliary battery terminal 6 kΩ or higher
      L134-2 (CANL) - L133-7 (+B) L - B LOW-level CAN bus wire - Battery positive (+) Cable disconnected from negative (-) auxiliary battery terminal 6 kΩ or higher
  22. DCM (TELEMATICS TRANSCEIVER) (w/ Manual (SOS) Switch) 
    Fig 36: DCM (Telematics Transceiver) (W/ Manual (SOS) Switch) Connector Terminal Identification
    GTY326884Courtesy of © TOYOTA, LICENSE AGREEMENT TMS1002
    TEXT IN ILLUSTRATION

    *a Component without harness connected
    (DCM (Telematics Transceiver))
    *b Connector Color: Blue (to Telephone Antenna)
    *c Connector Color: Gray (to GPS Antenna) - -
    1. Disconnect the cable from the negative (-) auxiliary battery terminal.
    2. Disconnect the DCM (telematics transceiver) connector.
      Fig 37: L160 Connector Terminal Identification
      GTY330757Courtesy of © TOYOTA, LICENSE AGREEMENT TMS1002
      TEXT IN ILLUSTRATION

      *a Front view of wire harness connector
      (to DCM (Telematics Transceiver))
    3. Measure the resistance according to the value(s) in the table below.

      Standard Resistance

      Terminal No. (Symbol) Wiring Color Terminal Description Condition Specified Condition
      L160-15 (CANP) - L160-16 (CANN) L - W HIGH-level CAN bus wire - LOW-level CAN bus wire Cable disconnected from negative (-) auxiliary battery terminal 54 to 69 Ω
      L160-15 (CANP) - L160-4 (E) L - BR HIGH-level CAN bus wire - Ground Cable disconnected from negative (-) auxiliary battery terminal 200 Ω or higher
      L160-16 (CANN) - L160-4 (E) W - BR LOW-level CAN bus wire - Ground Cable disconnected from negative (-) auxiliary battery terminal 200 Ω or higher
      L160-15 (CANP) - L160-1 (+B) L - SB HIGH-level CAN bus wire - Battery positive (+) Cable disconnected from negative (-) auxiliary battery terminal 6 kΩ or higher
      L160-16 (CANN) - L160-1 (+B) W - SB LOW-level CAN bus wire - Battery positive (+) Cable disconnected from negative (-) auxiliary battery terminal 6 kΩ or higher
  23. DRIVING SUPPORT ECU (w/ Dynamic Radar Cruise Control System) 
    Fig 38: Driving Support ECU (W/ Dynamic Radar Cruise Control System) Connector Terminal Identification
    GTY341900Courtesy of © TOYOTA, LICENSE AGREEMENT TMS1002
    TEXT IN ILLUSTRATION

    *a Component without harness connected
    (Driving Support ECU)
    - -
    1. Disconnect the cable from the negative (-) auxiliary battery terminal.
    2. Disconnect the driving support ECU connector.
      Fig 39: L151 Connector Terminal Identification
      GTY329187Courtesy of © TOYOTA, LICENSE AGREEMENT TMS1002
      TEXT IN ILLUSTRATION

      *a Front view of wire harness connector
      (to Driving Support ECU)
    3. Measure the resistance according to the value(s) in the table below.

      Standard Resistance

      V2 BUS BRANCH WIRE

      Terminal No. (Symbol) Wiring Color Terminal Description Condition Specified Condition
      L151-39 (CA2H) - L151-17 (CA2L) B - W HIGH-level CAN bus wire - LOW-level CAN bus wire Cable disconnected from negative (-) auxiliary battery terminal 54 to 69 Ω
      L151-39 (CA2H) - L151-25 (GND) B - W-B HIGH-level CAN bus wire - Ground Cable disconnected from negative (-) auxiliary battery terminal 200 Ω or higher
      L151-17 (CA2L) - L151-25 (GND) W - W-B LOW-level CAN bus wire - Ground Cable disconnected from negative (-) auxiliary battery terminal 200 Ω or higher
      L151-39 (CA2H) - L151-30 (B) B - B HIGH-level CAN bus wire - Battery positive (+) Cable disconnected from negative (-) auxiliary battery terminal 6 kΩ or higher
      L151-17 (CA2L) - L151-30 (B) W - B LOW-level CAN bus wire - Battery positive (+) Cable disconnected from negative (-) auxiliary battery terminal 6 kΩ or higher

      Standard Resistance

      PARKING ASSIST BUS MAIN WIRE

      Terminal No. (Symbol) Wiring Color Terminal Description Condition Specified Condition
      L151-40 (CA1P) - L151-18 (CA1N) LG - P HIGH-level CAN bus wire - LOW-level CAN bus wire Cable disconnected from negative (-) auxiliary battery terminal 108 to 132 Ω
      L151-40 (CA1P) - L151-25 (GND) LG - W-B HIGH-level CAN bus wire - Ground Cable disconnected from negative (-) auxiliary battery terminal 200 Ω or higher
      L151-18 (CA1N) - L151-25 (GND) P - W-B LOW-level CAN bus wire - Ground Cable disconnected from negative (-) auxiliary battery terminal 200 Ω or higher
      L151-40 (CA1P) - L151-30 (B) LG - B HIGH-level CAN bus wire - Battery positive (+) Cable disconnected from negative (-) auxiliary battery terminal 6 kΩ or higher
      L151-18 (CA1N) - L151-30 (B) P - B LOW-level CAN bus wire - Battery positive (+) Cable disconnected from negative (-) auxiliary battery terminal 6 kΩ or higher
  24. MILLIMETER WAVE RADAR SENSOR ASSEMBLY (w/ Dynamic Radar Cruise Control System) 
    1. Disconnect the cable from the negative (-) auxiliary battery terminal.
    2. Disconnect the millimeter wave radar sensor assembly connector.
      Fig 40: Millimeter Wave Radar Sensor Assembly (W/ Dynamic Radar Cruise Control System) Connector Terminal Identification
      GTY333973Courtesy of © TOYOTA, LICENSE AGREEMENT TMS1002
      TEXT IN ILLUSTRATION

      *1 DLC3
      *a Front view of wire harness connector
      (to Millimeter Wave Radar Sensor Assembly)
    3. Measure the resistance according to the value(s) in the table below.

      Standard Resistance

      Terminal No. (Symbol) Wiring Color Terminal Description Condition Specified Condition
      A77-4 (CA1P) - A77-3 (CA1N) LG - P HIGH-level CAN bus wire - LOW-level CAN bus wire Cable disconnected from negative (-) auxiliary battery terminal 108 to 132 Ω
      A77-4 (CA1P)- L61-4 (CG) LG - G HIGH-level CAN bus wire - Ground Cable disconnected from negative (-) auxiliary battery terminal 200 Ω or higher
      A77-3 (CA1N) - L61-4 (CG) P - G LOW-level CAN bus wire - Ground Cable disconnected from negative (-) auxiliary battery terminal 200 Ω or higher
      A77-4 (CA1P) - L61-16 (BAT) LG - R HIGH-level CAN bus wire - Battery positive (+) Cable disconnected from negative (-) auxiliary battery terminal 6 kΩ or higher
      A77-3 (CA1N) - L61-16 (BAT) P - R LOW-level CAN bus wire - Battery positive (+) Cable disconnected from negative (-) auxiliary battery terminal 6 kΩ or higher
  25. PLUGIN CHARGE CONTROL ECU ASSEMBLY 
    Fig 41: Plugin Charge Control ECU Assembly Connector Terminal Identification
    GTY331210Courtesy of © TOYOTA, LICENSE AGREEMENT TMS1002
    TEXT IN ILLUSTRATION

    *a Component without harness connected
    (Plugin Charge Control ECU Assembly)
    - -
    1. Disconnect the cable from the negative (-) auxiliary battery terminal.
    2. Disconnect the plugin charge control ECU assembly connector.
      Fig 42: S31 Connector Terminal Identification
      GTY333324Courtesy of © TOYOTA, LICENSE AGREEMENT TMS1002
      TEXT IN ILLUSTRATION

      *a Rear view of wire harness connector
      (to Plugin Charge Control ECU Assembly)
    3. Measure the resistance according to the value(s) in the table below.

      Standard Resistance

      Terminal No. (Symbol) Wiring Color Terminal Description Condition Specified Condition
      S31-25 (CA1H) - S31-26 (CA1L) B - W HIGH-level CAN bus wire - LOW-level CAN bus wire Cable disconnected from negative (-) auxiliary battery terminal 108 to 132 Ω
      S31-25 (CA1H)- S31-14 (E1) B - W-B HIGH-level CAN bus wire - Ground Cable disconnected from negative (-) auxiliary battery terminal 200 Ω or higher
      S31-26 (CA1L) - S31-14 (E1) W - W-B LOW-level CAN bus wire - Ground Cable disconnected from negative (-) auxiliary battery terminal 200 Ω or higher
      S31-25 (CA1H) - S31-11 (AM21) B - SB HIGH-level CAN bus wire - Battery positive (+) Cable disconnected from negative (-) auxiliary battery terminal 6 kΩ or higher
      S31-26 (CA1L) - S31-11 (AM21) W - SB LOW-level CAN bus wire - Battery positive (+) Cable disconnected from negative (-) auxiliary battery terminal 6 kΩ or higher