LEMON Manuals: Even more car manuals for everyone
Home >> Toyota >> 2012 >> Prius Plug-in >> Repair and Diagnosis >> External Pages >> Different variant/trim >> Section 44 (Intake System / Exhaust System (Except Plug-In) (Service Information)) >> Exhaust Pipe And Catalytic Converter >> Installation >> Installation

Exhaust Pipe And Catalytic Converter: Installation: Installation

WARNING: This page is about a different variant/trim than selected.
  1. INSTALL FRONT EXHAUST PIPE ASSEMBLY (w/ Exhaust Heat Recirculation System) 
    NOTE:

    When installing the water hose, ensure that the exhaust heat recirculation system is filled with coolant. Otherwise, the engine water pump assembly may be damaged.

    1. Using a vernier caliper, measure the free length of the compression springs.
      Fig 1: Measuring Free Length Of Compression Spring
      GTY104505Courtesy of © TOYOTA, LICENSE AGREEMENT TMS1002
      Minimum 41.5 mm (1.64 in.)

      HINT: 

      If the free length is less than minimum, replace the compression spring.

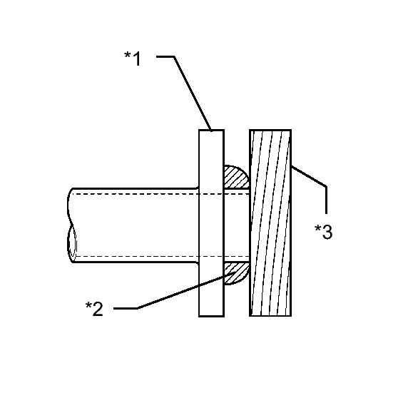
    2. Fully insert a new gasket to the exhaust manifold.
    3. Using a plastic hammer and wooden block, tap in the new gasket until its surface is flush with the exhaust manifold.
      Fig 2: Identifying Center Exhaust Pipe Assembly, Wooden Block And Gasket
      GTY238166Courtesy of © TOYOTA, LICENSE AGREEMENT TMS1002
      TEXT IN ILLUSTRATION

      *1 Exhaust Manifold
      *2 Gasket
      *3 Wooden Block
      NOTE:
      • Be careful with the installation direction of the gasket.
      • Do not reuse the gasket.
      • Do not damage the gasket.
      • Do not push in the gasket by using the exhaust pipe when connecting it.
    4. Connect the front exhaust pipe assembly to the 3 exhaust pipe supports.
    5. Install the front exhaust pipe assembly with the 2 bolts and 2 compression springs.
      Fig 3: Identifying Front Exhaust Pipe Assembly Compression Springs And Bolts
      GTY216423Courtesy of © TOYOTA, LICENSE AGREEMENT TMS1002

      Torque: 43 N*m (440 kgf*cm, 32 ft.*lbf) 

    6. Connect the 2 heater water hoses.
      Fig 4: Identifying Heater Water Hoses
      GTY216272Courtesy of © TOYOTA, LICENSE AGREEMENT TMS1002
  2. INSTALL FRONT EXHAUST PIPE ASSEMBLY (w/o Exhaust Heat Recirculation System) 
    1. Using a vernier caliper, measure the free length of the compression springs.
      Fig 5: Measuring Free Length Of Compression Spring
      GTY104505Courtesy of © TOYOTA, LICENSE AGREEMENT TMS1002
      Minimum 41.5 mm (1.64 in.)

      HINT: 

      If the free length is less than minimum, replace the compression spring.

    2. Fully insert a new gasket to the exhaust manifold.
    3. Using a plastic hammer and wooden block, tap in the new gasket until its surface is flush with the exhaust manifold.
      Fig 6: Identifying Center Exhaust Pipe Assembly, Wooden Block And Gasket
      GTY238166Courtesy of © TOYOTA, LICENSE AGREEMENT TMS1002
      TEXT IN ILLUSTRATION

      *1 Exhaust Manifold
      *2 Gasket
      *3 Wooden Block
      NOTE:
      • Be careful with the installation direction of the gasket.
      • Do not reuse the gasket.
      • Do not damage the gasket.
      • Do not push in the gasket by using the exhaust pipe when connecting it.
    4. Connect the front exhaust pipe assembly to the 3 exhaust pipe supports.
    5. Install the front exhaust pipe assembly with the 2 bolts and 2 compression springs.
      Fig 7: Identifying Front Exhaust Pipe Assembly Compression Springs And Bolts
      GTY216423Courtesy of © TOYOTA, LICENSE AGREEMENT TMS1002

      Torque: 43 N*m (440 kgf*cm, 32 ft.*lbf) 

  3. INSTALL OXYGEN SENSOR  . Refer to INSTALLATION - Step 1
  4. INSTALL FRONT CENTER FLOOR BRACE 
    1. Install the front center floor brace with the 4 bolts.
      Fig 8: Identifying Front Center Floor Brace
      GTY327349Courtesy of © TOYOTA, LICENSE AGREEMENT TMS1002

      Torque: 51 N*m (520 kgf*cm, 38 ft.*lbf) 

  5. INSTALL FRONT NO. 3 ENGINE UNDER COVER 
    1. Install the front No. 3 engine under cover with the 4 clips.
      Fig 9: Removing The 4 Clips And Front No. 3 Engine Under Cover
      GTY232834Courtesy of © TOYOTA, LICENSE AGREEMENT TMS1002
  6. INSTALL TAIL EXHAUST PIPE ASSEMBLY 
    1. Using a vernier caliper, measure the free length of the compression springs.
      Fig 10: Measuring Free Length Of Compression Spring
      GTY104505Courtesy of © TOYOTA, LICENSE AGREEMENT TMS1002
      Minimum 38.5 mm (1.52 in.)

      HINT: 

      If the free length is less than minimum, replace the compression spring.

    2. Fully insert a new gasket to the front exhaust pipe assembly.
    3. Using a plastic hammer and wooden block, tap in the new gasket until its surface is flush with the front exhaust pipe assembly.
      Fig 11: Identifying Center Exhaust Pipe Assembly, Wooden Block And Gasket
      GTY238166Courtesy of © TOYOTA, LICENSE AGREEMENT TMS1002
      TEXT IN ILLUSTRATION

      *1 Front Exhaust Pipe Assembly
      *2 Gasket
      *3 Wooden Block
      NOTE:
      • Be careful with the installation direction of the gasket.
      • Do not reuse the gasket.
      • Do not damage the gasket.
      • Do not push in the gasket by using the exhaust pipe when connecting it.
    4. Connect the tail exhaust pipe assembly to the 2 exhaust pipe supports.
    5. Install the tail exhaust pipe assembly with the 2 bolts and 2 compression springs.
      Fig 12: Identifying Tail Exhaust Pipe Assembly, Compression Springs & Bolts
      GTY217007Courtesy of © TOYOTA, LICENSE AGREEMENT TMS1002

      Torque: 43 N*m (440 kgf*cm, 32 ft.*lbf) 

  7. ADD COOLANT (for Engine with Exhaust Heat Recirculation System)  . Refer to REPLACEMENT - Step 3
  8. INSPECT FOR COOLANT LEAK (for Engine with Exhaust Heat Recirculation System)  . Refer to ON-VEHICLE INSPECTION - Step 1
  9. INSPECT FOR EXHAUST GAS LEAK