LEMON Manuals: Even more car manuals for everyone
Home >> Toyota >> 2012 >> Prius Plug-in >> Repair and Diagnosis >> External Pages >> Different variant/trim >> Section 130 (Occupant Classification System (Except Plug-In) (Diagnostic Codes & Symptom Tests)) >> Occupant Classification System >> DTC B1780: Front Occupant Classification Sensor LH Circuit Malfunction >> Procedure

DTC B1780: Front Occupant Classification Sensor LH Circuit Malfunction: Procedure

WARNING: This page is about a different variant/trim than selected.
  1. CHECK CONNECTORS 
    1. Turn the power switch off.
    2. Disconnect the cable from the negative (-) battery terminal.
    3. Check that the connectors are properly connected to the occupant classification ECU and front occupant classification sensor LH.

      OK

      The connectors are properly connected.

      HINT: 

      If the connectors are not connected securely, reconnect the connectors and proceed to the next inspection.

    4. Disconnect the connectors from the occupant classification ECU and front occupant classification sensor LH.
    5. Check that the terminals of connectors are not damaged.

      OK

      The terminals are not deformed or damaged.

    NG → REPLACE FRONT SEAT WIRE RH 

    OK: Go to next step 

  2. CHECK FRONT SEAT WIRE RH (SHORT TO B+) 
    1. Connect the cable to the negative (-) battery terminal.
      Fig 1: Identifying Front Seat Wire RH (Short To B+)
      GTY229751Courtesy of © TOYOTA, LICENSE AGREEMENT TMS1002
    2. Turn the power switch on (IG).
    3. Measure the voltage according to the value(s) in the table below.

      Standard Voltage

      Tester Connection Condition Specified Condition
      W2-1 (SGD1) - Body ground Power switch on (IG) Below 1 V
      W2-7 (SIG1) - Body ground Power switch on (IG) Below 1 V
      W2-11 (SVC1) - Body ground Power switch on (IG) Below 1 V
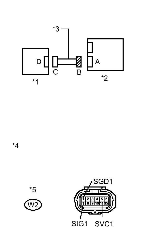
      TEXT IN ILLUSTRATION

      *1 Front Occupant Classification Sensor LH
      *2 Occupant Classification ECU
      *3 Front Seat Wire RH
      *4 Front view of wire harness connector
      (to Occupant Classification ECU)
      *5 Connector B

    NG → REPLACE FRONT SEAT WIRE RH 

    OK: Go to next step 

  3. CHECK FRONT SEAT WIRE RH (OPEN) 
    1. Turn the power switch off.
      Fig 2: Identifying Front Seat Wire RH (Open)
      GTY223731Courtesy of © TOYOTA, LICENSE AGREEMENT TMS1002
    2. Disconnect the cable from the negative (-) battery terminal.
    3. Using SST, connect terminals 1 (SVC1) and 3 (SGD1), and connect terminals 2 (SIG1) and 3 (SGD1) of connector C.
      NOTE:

      Do not forcibly insert SST into the terminals of the connector when connecting.

      • SST: 09843-18040 
    4. Measure the resistance according to the value(s) in the table below.

      Standard Resistance

      Tester Connection Condition Specified Condition
      W2-7 (SIG1) - W2-1 (SGD1) Always Below 1 Ω
      W2-11 (SVC1) - W2-1 (SGD1) Always Below 1 Ω
      TEXT IN ILLUSTRATION

      *1 Front Occupant Classification Sensor LH *2 Occupant Classification ECU
      *3 Front Seat Wire RH *4 Front view of wire harness connector
      (to Occupant Classification ECU)
      *5 Front view of wire harness connector
      (to Front Occupant Classification Sensor LH)
      *6 Connector B
      *7 Connector C - -

    NG → REPLACE FRONT SEAT WIRE RH 

    OK: Go to next step 

  4. CHECK FRONT SEAT WIRE RH (SHORT) 
    1. Disconnect SST from connector C.
      Fig 3: Identifying Front Seat Wire RH (Short To B+)
      GTY229751Courtesy of © TOYOTA, LICENSE AGREEMENT TMS1002
    2. Measure the resistance according to the value(s) in the table below.

      Standard Resistance

      Tester Connection Condition Specified Condition
      W2-7 (SIG1) - W2-1 (SGD1) Always 1 MΩ or higher
      W2-11 (SVC1) - W2-1 (SGD1) Always 1 MΩ or higher
      W2-7 (SIG1) - W2-11 (SVC1) Always 1 MΩ or higher
      TEXT IN ILLUSTRATION

      *1 Front Occupant Classification Sensor LH
      *2 Occupant Classification ECU
      *3 Front Seat Wire RH
      *4 Front view of wire harness connector
      (to Occupant Classification ECU)
      *5 Connector B

    NG → REPLACE FRONT SEAT WIRE RH 

    OK: Go to next step 

  5. CHECK FRONT SEAT WIRE RH (SHORT TO GROUND) 
    1. Measure the resistance according to the value(s) in the table below.
      Fig 4: Identifying Front Seat Wire RH (Short To B+)
      GTY229751Courtesy of © TOYOTA, LICENSE AGREEMENT TMS1002

      Standard Resistance

      Tester Connection Condition Specified Condition
      W2-1 (SGD1) - Body ground Always 1 MΩ or higher
      W2-7 (SIG1) - Body ground Always 1 MΩ or higher
      W2-11 (SVC1) - Body ground Always 1 MΩ or higher
      TEXT IN ILLUSTRATION

      *1 Front Occupant Classification Sensor LH
      *2 Occupant Classification ECU
      *3 Front Seat Wire RH
      *4 Front view of wire harness connector
      (to Occupant Classification ECU)
      *5 Connector B

    NG → REPLACE FRONT SEAT WIRE RH 

    OK: Go to next step 

  6. CHECK DTC 
    1. Connect the connectors to the occupant classification ECU and front occupant classification sensor LH.
    2. Connect the cable to the negative (-) battery terminal.
    3. Turn the power switch on (IG).
    4. Clear the DTCs stored in the occupant classification ECU. Refer to DTC CHECK / CLEAR .
    5. Clear the DTCs stored in the center airbag sensor assembly. Refer to DTC CHECK / CLEAR .
    6. Turn the power switch off.
    7. Turn the power switch on (IG).
    8. Check for DTCs. Refer to DTC CHECK / CLEAR .

      OK

      DTC B1780 is not output.

      HINT: 

      Codes other than DTC B1780 may be output at this time, but they are not related to this check.

    NG → See step   7 

    OK → See step   10 

  7. REPLACE FRONT SEAT CUSHION SPRING ASSEMBLY 
    1. Turn the power switch off.
    2. Disconnect the cable from the negative (-) battery terminal.
    3. Replace the front seat cushion spring assembly. Refer to DISASSEMBLY .

    NEXT: Go to next step 

  8. PERFORM ZERO POINT CALIBRATION 
    1. Connect the cable to the negative (-) battery terminal.
    2. Connect the Techstream to the DLC3.
    3. Turn the power switch on (IG).
    4. Using the Techstream, perform Zero Point Calibration. Refer to INITIALIZATION .

      OK

      "Zero Point Calibration is complete." is displayed.

    NEXT: Go to next step 

  9. PERFORM SENSITIVITY CHECK 
    1. Using the Techstream, perform Sensitivity Check. Refer to INITIALIZATION .

      Standard

      27 to 33 kg (59.5 to 72.8 lb)

    NEXT → END 

  10. USE SIMULATION METHOD TO CHECK. Refer to  HOW TO PROCEED WITH TROUBLESHOOTING