LEMON Manuals: Even more car manuals for everyone
Home >> Toyota >> 2012 >> Prius Plug-in >> Repair and Diagnosis >> External Pages >> Different variant/trim >> Section 116 (Lin Communication System (Except Plug-In) (Diagnostic Codes)) >> Lin Communication System >> DTC B2287: LIN Communication Master Malfunction >> Procedure

DTC B2287: LIN Communication Master Malfunction: Procedure

WARNING: This page is about a different variant/trim than selected.
  1. CHECK DTC OUTPUT 
    1. Clear the DTC. Refer to DTC CHECK / CLEAR .
    2. Recheck for DTCs.

      HINT: 

      Check the both "Smart Key" and "Power Source Control" DTCs.

      Result

      Result Proceed to
      Only DTC B2287 is output. A
      DTC B2287 and B2785 are output simultaneously. B

      HINT: 

      When DTC B2287 and B2785 are output simultaneously, perform troubleshooting for DTC B2785 first.

    B → See step   6 

    A: Go to next step 

  2. CHECK HARNESS AND CONNECTOR (CERTIFICATION ECU - POWER MANAGEMENT CONTROL ECU) 
    1. Disconnect the L6 power management control ECU and L62 certification ECU (smart key ECU assembly) connectors.
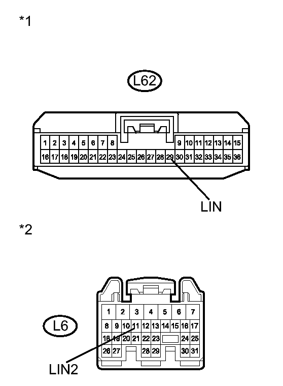
      Fig 1: Identifying Certification ECU And Power Management Control ECU Connector Terminals
      GTY215965Courtesy of © TOYOTA, LICENSE AGREEMENT TMS1002
    2. Measure the resistance according to the value(s) in the table below.

      Standard Resistance

      Tester Connection Condition Specified Condition
      L6-11 (LIN2) - L62-29 (LIN) Always Below 1 Ω
      L6-11 (LIN2) - Body ground Always 10 kΩ or higher
      TEXT IN ILLUSTRATION

      *1 Front view of wire harness connector
      (to Certification ECU (Smart Key ECU Assembly))
      *2 Front view of wire harness connector
      (to Power Management Control ECU)

    NG → REPAIR OR REPLACE HARNESS OR CONNECTOR 

    OK: Go to next step 

  3. REPLACE POWER MANAGEMENT CONTROL ECU 
    1. Replace the power management control ECU. Refer to REMOVAL .

    NEXT: Go to next step 

  4. CHECK DTC OUTPUT 
    1. Clear the DTC. Refer to DTC CHECK / CLEAR .
    2. Recheck for DTCs.

      OK

      DTC B2287 is not output.

    NG → See step   5 

    OK → END (POWER MANAGEMENT CONTROL ECU WAS DEFECTIVE) 

  5. REPLACE CERTIFICATION ECU (SMART KEY ECU ASSEMBLY). Refer to  REMOVAL 
  6. GO TO DTC B2785. Refer to  DTC B2785: Communication Malfunction between ECUs Connected by LIN