LEMON Manuals: Even more car manuals for everyone
Home >> Toyota >> 2012 >> Matrix Base, Standard Trans >> Repair and Diagnosis >> External Pages >> Different variant/trim >> Section 27 (Intake System / Exhaust System (2AZ-FE) (Service Information)) >> Exhaust Manifold >> Components >> Illustration

Exhaust Manifold: Components: Illustration

WARNING: This page is about a different variant/trim than selected.
Fig 1: Identifying Exhaust Manifold Replacement Components With Torque Specifications (1 Of 5)
GTY227907Courtesy of © TOYOTA, LICENSE AGREEMENT TMS1002


Fig 1: Identifying Exhaust Manifold Replacement Components With Torque Specifications (2 Of 5)
GTY233350Courtesy of © TOYOTA, LICENSE AGREEMENT TMS1002


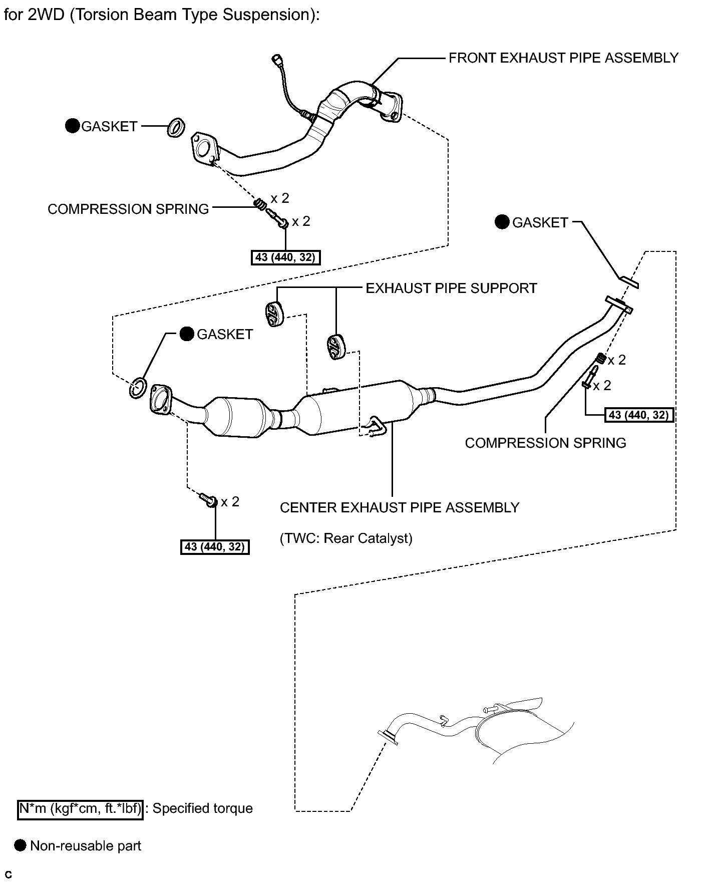
Fig 1: Identifying Exhaust Manifold Replacement Components With Torque Specifications (2WD) (For Torsion Beam Type Suspension) (3 Of 5)
GTY218690Courtesy of © TOYOTA, LICENSE AGREEMENT TMS1002


Fig 1: Identifying Exhaust Manifold Replacement Components With Torque Specifications (4 Of 5)
GTY234361Courtesy of © TOYOTA, LICENSE AGREEMENT TMS1002


Fig 1: Identifying Exhaust Manifold Replacement Components With Torque Specifications (5 Of 5)
GTY218965Courtesy of © TOYOTA, LICENSE AGREEMENT TMS1002