LEMON Manuals: Even more car manuals for everyone
Home >> Toyota >> 2012 >> Matrix Base, Automatic Trans >> Repair and Diagnosis >> General Information >> OEM General Information >> Introduction >> How To Troubleshoot Ecu Controlled Systems >> Electronic Circuit Inspection Procedure >> Electronic Circuit Inspection Procedure

Electronic Circuit Inspection Procedure

  1. BASIC INSPECTION 
    1. WHEN MEASURING RESISTANCE OF ELECTRONIC PARTS
      1. Unless otherwise stated, all resistance measurements are standard values measured at an ambient temperature of 20°C (68°F). Resistance measurements may be inaccurate if measured at high temperatures, i.e. immediately after the vehicle has been running. Measurements should be made after the engine has cooled down.
    2. HANDLING CONNECTORS
      Fig 1: Precaution For Handling Connectors
      GTY107921Courtesy of © TOYOTA, LICENSE AGREEMENT TMS1002
      1. When disconnecting a connector, first squeeze the mating connector housing halves tightly together to release the lock, and then press the lock claw and separate the connector.
      2. When disconnecting a connector, do not pull on the harnesses. Grasp the connector directly and separate it.
      3. Before connecting a connector, check that there are no deformations, damage, looseness or missing terminals.
      4. When connecting a connector, press firmly until it locks with a "click" sound.
      5. If checking a connector with a TOYOTA electrical tester, check the connector from the backside (harness side) using a mini test lead.
        NOTE:
        • As a waterproof connector cannot be checked from the backside, check it by connecting a sub-harness.
        • Do not damage the terminals by moving the inserted tester needle.
    3. CHECKING CONNECTORS
      Fig 2: Checking For Terminal Deformation And Looseness
      GTY100766Courtesy of © TOYOTA, LICENSE AGREEMENT TMS1002
      1. Checking when a connector is connected: Squeeze the connectors together to confirm that they are fully connected and locked.
      2. Checking when a connector is disconnected: Check by pulling the wire harness lightly from the backside of the connector. Look for unlatched terminals, missing terminals, loose crimps or broken conductor wires. Check visually for corrosion, metallic or foreign matter and water, and bent, rusted, overheated, contaminated, or deformed terminals.
      3. Checking the contact pressure of the terminal: Prepare a spare male terminal. Insert it into a female terminal, and check for ample tension when inserting and after full engagement.
        NOTE:

        When testing a gold-plated female terminal, always use a gold-plated male terminal.

        Fig 3: Checking Contact Pressure Of Terminal
        GTY107699Courtesy of © TOYOTA, LICENSE AGREEMENT TMS1002
    4. CONNECTOR TERMINAL REPAIR METHOD
      Fig 4: Precaution For Repair Method Of Connector Terminal
      GTY100211Courtesy of © TOYOTA, LICENSE AGREEMENT TMS1002
      1. If there is any foreign matter on the terminal, clean the contact point with compressed air or a cloth. Never rub the contact point using sandpaper as the plating may come off.
      2. If there is abnormal contact pressure, replace the female terminal. If the male terminal is gold-plated (gold color), use a gold-plated female terminal; if it is silver-plated (silver color), use a silver-plated female terminal.
      3. Damaged, deformed, or corroded terminals should be replaced. If the terminal does not lock into the housing, the housing may have to be replaced.
    5. WIRE HARNESS HANDLING
      Fig 5: Identifying Incorrect Method For Handling Of Wire Harness
      GTY128090Courtesy of © TOYOTA, LICENSE AGREEMENT TMS1002
      1. If removing a wire harness, check the wiring and clamps before proceeding so that it can be restored in the same way.
      2. Never twist, pull or slacken the wire harness more than necessary.
      3. The wire harness should never come into contact with any high temperature part, rotating, moving, vibrating, or sharp-edged parts. Avoid contact with panel edges, screw tips and other sharp items.
      4. When installing parts, never pinch the wire harness.
      5. Never cut or break the cover of the wire harness. If it is cut or broken, replace or repair it with insulating tape.
  2. CHECK FOR OPEN CIRCUIT 
    1. For an open circuit in the wire harness in Fig. 1, measure the resistance and voltage as follows:
      Fig 6: Checking For Open Circuit
      GTY100637Courtesy of © TOYOTA, LICENSE AGREEMENT TMS1002
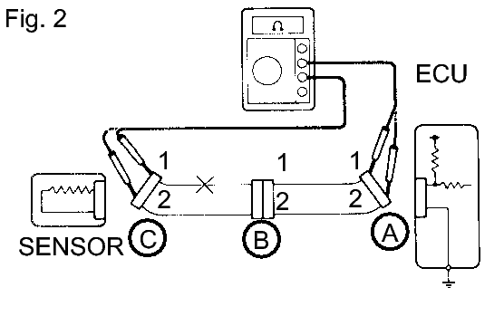
    2. Check the resistance.
      Fig 7: Measuring Resistance Between Terminals Of Connectors
      GTY108771Courtesy of © TOYOTA, LICENSE AGREEMENT TMS1002
      1. Disconnect connectors A and C and measure the resistance between the terminals of the connectors.

        Standard Resistance (Fig. 2)

        Tester Connection Specified Condition
        Connector A terminal 1 - Connector C terminal 1 10 kΩ or higher
        Connector A terminal 2 - Connector C terminal 2 Below 1 Ω

        HINT: 

        Measure the resistance while lightly shaking the wire harness vertically and horizontally. If the results match the preceding values, an open circuit exists between terminal 1 of connector A and terminal 1 of connector C.

      2. Disconnect connector B and measure the resistance between the terminals of the connectors.
        Fig 8: Measuring Resistance Between Terminals Of Connectors
        GTY105707Courtesy of © TOYOTA, LICENSE AGREEMENT TMS1002

        Standard Resistance (Fig. 3)

        Tester Connection Specified Condition
        Connector A terminal 1 - Connector B1 terminal 1 Below 1 Ω
        Connector B2 terminal 1 - Connector C terminal 1 10 kΩ or higher
        • If the results match the values specified above, an open circuit exists between terminal 1 of connector B2 and terminal 1 of connector C.
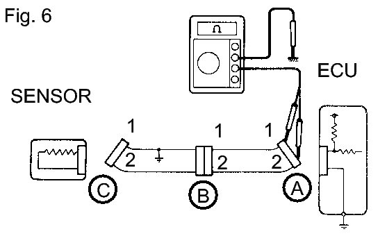
    3. Check the voltage.
      Fig 9: Measuring Voltage Between Body Ground And Terminals
      GTY108772Courtesy of © TOYOTA, LICENSE AGREEMENT TMS1002
      1. In a circuit in which voltage is applied to the ECU connector terminal, an open circuit can be checked by conducting a voltage check.

        With each connector still connected, measure the voltage between body ground and the following terminals (in this order): 1) terminal 1 of connector A, 2) terminal 1 of connector B, and 3) terminal 1 of connector C.

        Standard Voltage (Fig. 4)

        Tester Connection Specified Condition
        Connector A terminal 1 - Body ground 5 V
        Connector B terminal 1 - Body ground 5 V
        Connector C terminal 1 - Body ground Below 1 V
        • If the results match the values specified above, an open circuit exists in the wire harness between terminal 1 of connector B and terminal 1 of connector C.
  3. CHECK FOR SHORT CIRCUIT 
    1. If a wire in the harness is shorted to ground (Fig. 5), locate the shorted section by conducting the following resistance check to body ground.
      Fig 10: Identifying Short Circuit
      GTY108773Courtesy of © TOYOTA, LICENSE AGREEMENT TMS1002
    2. Check the resistance to body ground.
      Fig 11: Measuring Resistance Between Connectors A And C
      GTY102713Courtesy of © TOYOTA, LICENSE AGREEMENT TMS1002
      1. Disconnect connectors A and C and measure the resistance.

        Standard Resistance (Fig. 6)

        Tester Connection Specified Condition
        Connector A terminal 1 - Body ground Below 1 Ω
        Connector A terminal 2 - Body ground 10 kΩ or higher

        HINT: 

        Measure the resistance while lightly shaking the wire harness vertically and horizontally. If the results match the values specified above, a short circuit exists between terminal 1 of connector A and terminal 1 of connector C.

      2. Disconnect connector B and measure the resistance.
        Fig 12: Measuring Connector Resistance
        GTY211174Courtesy of © TOYOTA, LICENSE AGREEMENT TMS1002

        Standard Resistance (Fig. 7)

        Tester Connection Specified Condition
        Connector A terminal 1 - Body ground 10 kΩ or higher
        Connector B2 terminal 1 - Body ground Below 1 Ω
        • If the results match the values specified above, a short circuit exists between terminal 1 of connector B2 and terminal 1 of connector C.
  4. CHECK AND REPLACE ECU 
    NOTE:
    • The connector should not be disconnected from the ECU. Perform the inspection from the backside of the connector on the wire harness side.
    • When no measuring condition is specified, perform the inspection with the engine stopped and the ignition switch ON.
    • Check that the connectors are fully seated. Check for loose, corroded or broken wires.
    1. First, check the ECU ground circuit. If it is faulty, repair it. If it is normal, the ECU could be faulty. Temporarily replace the ECU with a normally functioning one and check if the symptoms occur. If the trouble symptoms disappear, replace the original ECU.
      1. Measure the resistance between the ECU ground terminal and body ground.
        Fig 13: Measuring Resistance Between ECU Ground Terminal And Body Ground
        GTY108762Courtesy of © TOYOTA, LICENSE AGREEMENT TMS1002

        Standard resistance

        Below 1 Ω

      2. Disconnect the ECU connector. Check the ground terminal on the ECU side and wire harness side for bent terminals, corrosion or foreign matter. Lastly, check the contact pressure of the female terminals.
        Fig 14: Identifying ECU Connector Terminal
        GTY217876Courtesy of © TOYOTA, LICENSE AGREEMENT TMS1002