LEMON Manuals: Even more car manuals for everyone
Home >> Toyota >> 2012 >> Matrix Base, Automatic Trans >> Repair and Diagnosis >> External Pages >> Different variant/trim >> Section 39 (Active Torque Control 4WD System (Diagnostic Codes & Symptom Tests)) >> Active Torque Control 4WD System >> DTC C1298/98: Linear Solenoid Circuit >> Wiring Diagram

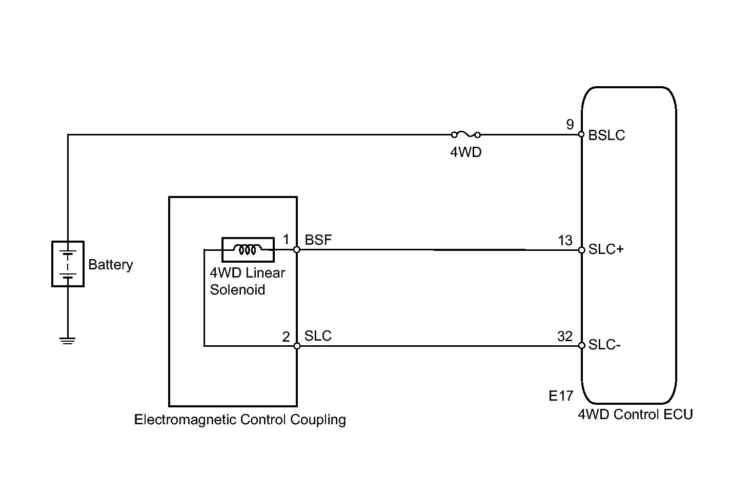
DTC C1298/98: Linear Solenoid Circuit: Wiring Diagram

WARNING: This page is about a different variant/trim than selected.
Fig 1: Linear Solenoid Circuit - Wiring Diagram
GTY236018Courtesy of © TOYOTA, LICENSE AGREEMENT TMS1002