LEMON Manuals: Even more car manuals for everyone
Home >> Toyota >> 2012 >> Matrix Base, Automatic Trans >> Repair and Diagnosis >> External Pages >> Different car >> Section 8 (Engine Immobilizer System (W/O Smart Key) (Diagnostics - Introduction)) >> ENGINE IMMOBILIZER SYSTEM (w/o Smart Key System) >> System Diagram >> System Diagram

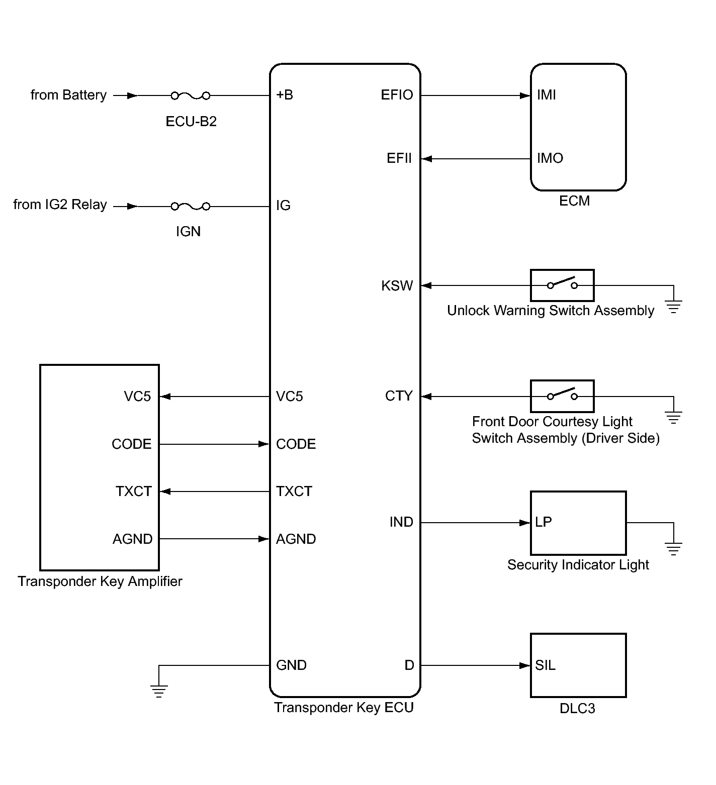
System Diagram

WARNING: This page is about a different car, the 2011 Toyota Corolla. However, it is still accessible from the selected car via links, so may be relevant.
Fig 1: Identifying Engine Immobilizer System Diagram (W/O Smart Key System)
GTY176410Courtesy of © TOYOTA, LICENSE AGREEMENT TMS1002