LEMON Manuals: Even more car manuals for everyone
Home >> Toyota >> 2012 >> Matrix Base, Automatic Trans >> Repair and Diagnosis (Single Page) >> External Pages >> Different car >> Section 46 (Air Conditioning System (For Automatic A/C) (Diagnostics - Introduction)) >> AIR CONDITIONING SYSTEM (for Automatic Air Conditioning System) >> System Diagram >> System Diagram

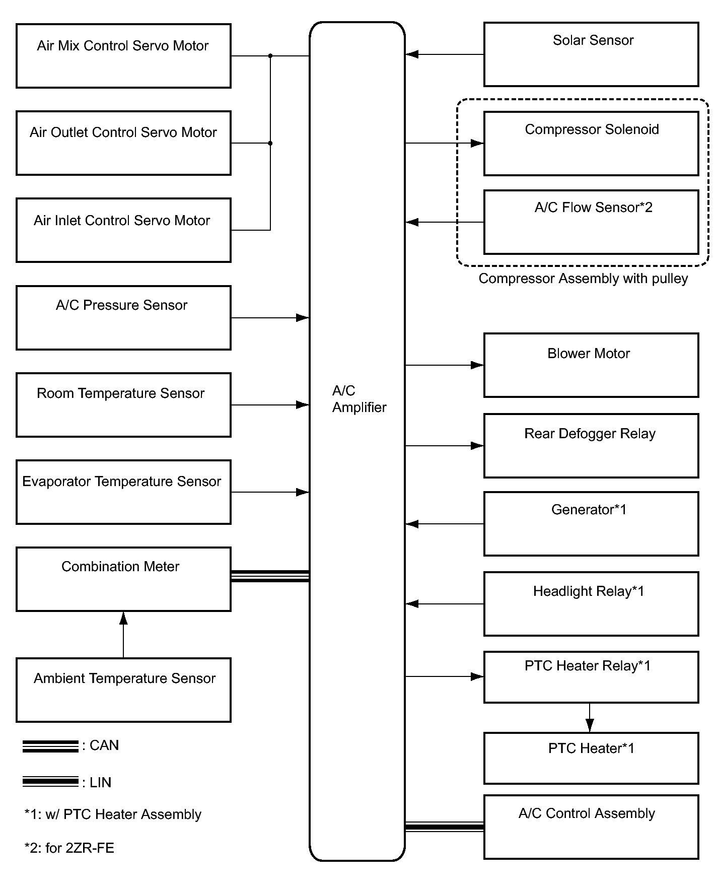
System Diagram

WARNING: This page is about a different car, the 2011 Toyota Corolla. However, it is still accessible from the selected car via links, so may be relevant.
Fig 1: Identifying Heating/Air Conditioning System Diagram
GTY207809Courtesy of © TOYOTA, LICENSE AGREEMENT TMS1002
Transmitter Receiver Line Signal
A/C Amplifier ECM CAN Magnetic Clutch Request Signal
Heater Idle Up Request Signal
A/C Idle Up Request Signal
Outside Temperature Data
External Variable Control Solenoid Current Signal
Prior A/C Control Request Signal
Refrigerant Gas Pressure Sensor Signal
Motor Cooling Fan Drive Request Signal
Acceleration Cut Inhibit Signal
A/C Amplifier DLC3 CAN Diagnostic Tool Response Signal
A/C Amplifier A/C Control Assembly LIN A/C Operating State Signal
Main Body ECU A/C Amplifier CAN Destination Symbol (Steering Wheel)
Combination Meter A/C Amplifier CAN Vehicle Speed Signal
Outside Temperature Data
ECM A/C Amplifier CAN Engine Coolant Temperature Signal
Engine RPM Data
A/C Control Cut-off Signal
A/C-E/G Cooperation Control Signal
A/C Control Assembly A/C Amplifier LIN A/C Operation Signal
Fig 2: Identifying Air Conditioning System (for Automatic Air Conditioning System) System Diagram
GTY290577Courtesy of © TOYOTA, LICENSE AGREEMENT TMS1002