LEMON Manuals: Even more car manuals for everyone
Home >> Toyota >> 2012 >> Camry Base >> Repair and Diagnosis >> External Pages >> Different variant/trim >> Section 42 (Smart Key System (For Start Function) (Diagnostics - Introduction) (Hybrid)) >> SMART KEY SYSTEM (for Start Function) >> Operation Check >> Operation Check

Operation Check

WARNING: This page is about a different variant/trim than selected.
  1. OPERATION DESCRIPTION 
    1. Push-button start function:
      1. When the electrical key transmitter sub-assembly is in a detection area inside the vehicle and the brake pedal is depressed, the hybrid control system is started by pressing the power switch.
      2. When the electrical key transmitter sub-assembly is in a detection area inside the vehicle and the brake pedal is not depressed, the power source mode is changed by pressing the power switch. The power source mode changes in the following order every time the power switch is pressed: off → on (ACC) → on (IG) → off.
      3. After getting into the vehicle while carrying the electrical key transmitter sub-assembly when the power switch is off, if the power switch is pressed while not depressing the brake pedal, the power source mode changes to on (ACC).
      4. After getting into the vehicle while carrying the electrical key transmitter sub-assembly when the power switch is off, if the power switch is pressed 2 times without depressing the brake pedal, the power source mode changes to on (IG).
      5. After getting into the vehicle while carrying the electrical key transmitter sub-assembly when the power switch is off, if the brake pedal is depressed while the shift lever is in P, or the smart warning light is displayed.
        Fig 1: Smart Warning Light
        GTY323140Courtesy of © TOYOTA, LICENSE AGREEMENT TMS1002
      6. The hybrid control system starts if the power switch is pressed when the smart warning light is displayed.
        TEXT IN ILLUSTRATION

        *a Smart Warning Light Displayed
    2. Changing the power source mode when the electrical key transmitter sub-assembly does not operate correctly due to wave interference or transmitter battery depletion:
      1. Unlock the door using the built-in mechanical key and get into the vehicle while carrying the electrical key transmitter sub-assembly.
      2. While depressing the brake pedal and facing the logo side of the electrical key transmitter sub-assembly towards the power switch, hold the electrical key transmitter sub-assembly near the power switch.
      3. A buzzer in the combination meter assembly sounds and the power source mode changes to on (IG). Pressing the power switch without depressing the brake pedal turns the power source mode from on (IG) to off.
    3. Starting the hybrid control system when the electrical key transmitter sub-assembly does not operate correctly due to wave interference or transmitter battery depletion:
      1. Unlock the door using the built-in mechanical key and get into the vehicle while carrying the electrical key transmitter sub-assembly.
      2. While depressing the brake pedal with the shift lever in P, while facing the logo side of the electrical key transmitter sub-assembly towards the power switch, hold the electrical key transmitter sub-assembly near the power switch.
      3. A buzzer in the combination meter assembly sounds, the power source mode changes to on (IG) and the smart warning light is displayed.
      4. Press the power switch with the brake pedal depressed to start the hybrid control system.
  2. CHECK PUSH-BUTTON START FUNCTION 
    1. Check the push-button start function:
      1. Get into the vehicle while carrying the electrical key transmitter sub-assembly with the power switch off. With the shift lever in P, check that the smart warning light is displayed when the brake pedal is depressed. Then check that the hybrid control system starts when the power switch is pressed after the smart warning light is displayed.
      2. While the brake pedal is released and the electrical key transmitter sub-assembly is being carried, check that the power source mode changes in the following order when the power switch is pressed: off → on (ACC) → on (IG) → off.

        HINT: 

        When the power switch is pressed with the power switch on (IG) and the shift lever not in P, the power source mode does not change to off, but changes to on (ACC).

      3. With the shift lever in P, check that the steering lock operates when a door is opened.

        HINT: 

        When the power switch is pressed after the vehicle is stopped, the hybrid control system stops and all the power turns off. However, if the shift lever is not in P when the power switch is pressed with the vehicle stopped, the power source mode does not change to off, but changes to on (ACC).

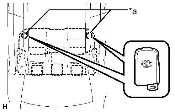
      4. Check the push-button start function operation range for the front side. Place the electrical key transmitter sub-assembly in either of the two locations making sure that the electrical key transmitter sub-assembly is oriented as shown in the illustration, and then check that the hybrid control system can be started.
        Fig 2: Identifying Front Seat Inspection Points
        GTY315871Courtesy of © TOYOTA, LICENSE AGREEMENT TMS1002
        TEXT IN ILLUSTRATION

        *a Inspection Point
        NOTE:
        • Even if the electrical key transmitter sub-assembly is in a vehicle interior key detection area, the electrical key transmitter sub-assembly may not be properly detected if the electrical key transmitter sub-assembly is on the instrument panel, in the glove box or on the floor.
        • If the electrical key transmitter sub-assembly is within 0.2 m (0.66 ft.) of the shift lever, communication may not be possible.

        HINT: 

        Perform this inspection for both inspection points.

      5. Check the push-button start function operation range for the rear side. Place the electrical key transmitter sub-assembly in either of the two locations making sure that the electrical key transmitter sub-assembly is oriented as shown in the illustration, and then check that the hybrid control system can be started.
        Fig 3: Identifying Rear Seat Inspection Points
        GTY320029Courtesy of © TOYOTA, LICENSE AGREEMENT TMS1002
        TEXT IN ILLUSTRATION

        *a Inspection Point
        NOTE:
        • Even if the electrical key transmitter sub-assembly is in a vehicle interior key detection area, the electrical key transmitter sub-assembly may not be properly detected if the electrical key transmitter sub-assembly is on the instrument panel, in the glove box or on the floor.
        • If the electrical key transmitter sub-assembly is within 0.2 m (0.66 ft.) of the center of the rear seat, communication may not be possible.

        HINT: 

        Perform this inspection for both inspection points.

  3. CHECK TRANSMITTER BATTERY SAVING FUNCTION 
    1. Check the transmitter battery saving function:
      1. Press the unlock button of the electrical key transmitter sub-assembly twice while pressing the lock button and check that the electrical key transmitter sub-assembly LED blinks 4 times and enters transmitter battery saving mode.
      2. Check that the smart key system does not operate while in transmitter battery saving mode.

        HINT: 

        To cancel transmitter battery saving mode, press a button of the electrical key transmitter sub-assembly.

  4. CHECK POWER SOURCE MODE CHANGING FUNCTION 
    1. Check the power switch.
      1. Check that the power source mode changes according to the chart below.
        Shift Position Brake Pedal Power Source Mode when Power Switch Pressed
        P Released Off → on (ACC) → on (IG) → off
        P Released On (READY) → off
        P Released On (ACC)* → off
        P Depressed Off → on (READY)
        P Depressed On (ACC) → on (READY)
        P Depressed On (IG) → on (READY)
        P Depressed On (READY) → off
        P Depressed On (ACC)* → off
        Not P Released Off → on (ACC) → on (IG) (after power source mode changes to on (IG), power source mode changes between on (IG) and on (ACC) every time power switch is pressed)
        Not P Released On (READY) → on (ACC)
        Not P Depressed Off → on (IG)
        Not P Depressed On (ACC) → on (IG)
        Not P Depressed On (READY) → on (ACC)

        HINT: 

        *: This situation is only applicable when the power source mode has changed from on (IG) to on (ACC) (Excludes an emergency stop by pressing the power switch 3 times quickly or pressing and holding the power switch for 2 or 3 seconds or more).

  5. CHECK POWER SOURCE MODE INDICATION 
    1. Check the smart warning.
      Fig 4: POWER ON display & Smart Warning Light display
      GTY317524Courtesy of © TOYOTA, LICENSE AGREEMENT TMS1002
      TEXT IN ILLUSTRATION

      *a POWER ON display
      *b Smart Warning Light display
      MULTI-INFORMATION DISPLAY INSPECTION

      Power Source Mode Multi-information Display
      Off
      (Excluding condition in which the hybrid control system can be started)
      Off
      On (ACC)
      (Excluding condition in which the hybrid control system can be started)
      "POWER ON" displayed
      On (IG)
      (Excluding condition in which the hybrid control system can be started)
      "POWER ON" displayed
      Condition in which hybrid control system can be started*1 Smart Warning Light displayed
      Hybrid control system started Off

      HINT: 

      *1: Indicates the condition in which the hybrid control system can be started by pressing the power switch while either of the following conditions is met:

      • Condition 1

        All of the following conditions are met:

        • The power source mode was turned from on (IG) to on (ACC).
        • Key verification is OK*2 or immobilizer is unset (power switch is on (ACC) or on (IG)).
        • The shift lever is in N and the steering is unlocked.
        • The stop light switch is on.
      • Condition 2

        All of the following conditions are met:

        • The power source mode was not turned from on (IG) to on (ACC).
        • Key verification is OK*2 or immobilizer is unset (power switch is on (ACC) or on (IG)).
        • The stop light switch is on.
        • The shift lever is in P, or the shift lever is in N with the steering unlocked.

      *2: When the electrical key transmitter sub-assembly is in the vehicle, the ID code sent as a result from communication between the electrical key transmitter sub-assembly and certification ECU (smart key ECU assembly) and the ID code calculated by the certification ECU (smart key ECU assembly) are compared. If the ID codes match each other, the vehicle recognizes that the electrical key transmitter sub-assembly is in the vehicle.