LEMON Manuals: Even more car manuals for everyone
Home >> Toyota >> 2011 >> Matrix Base, Standard >> Repair and Diagnosis >> External Pages >> Different car >> Section 77 (Navigation System (Service Information)) >> Navigation Receiver >> REMOVAL (To 12/2010) >> Removal

REMOVAL (To 12/2010): Removal

WARNING: This page is about a different car, the 2011 Toyota Avalon. However, it is still accessible from the selected car via links, so may be relevant.
  1. REMOVE CENTER UPPER INSTRUMENT CLUSTER FINISH PANEL  . Refer to REMOVAL - Step 10
  2. REMOVE INTEGRATION CONTROL AND PANEL WITH NAVIGATION RECEIVER ASSEMBLY 
    1. Apply protective tape as shown in the illustration.
      Fig 1: Apply Protective Tape
      GTY294753Courtesy of © TOYOTA, LICENSE AGREEMENT TMS1002
      TEXT IN ILLUSTRATION

      *1 Protective Tape
    2. Remove the 4 bolts.
      Fig 2: Identifying Integration Control And Panel bolts
      GTY295361Courtesy of © TOYOTA, LICENSE AGREEMENT TMS1002
    3. Disengage the 4 clips.
      Fig 3: Identifying Integration Control And Panel Clips
      GTY295401Courtesy of © TOYOTA, LICENSE AGREEMENT TMS1002
    4. Disconnect each connector and remove the integration control and panel with navigation receiver assembly.
  3. REMOVE NO. 1 RADIO BRACKET 
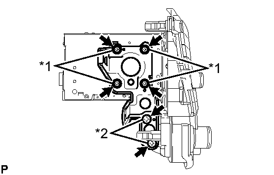
    1. Remove the 4 bolts and 2 screws to remove the No. 1 radio bracket.
      Fig 4: Identifying No. 1 Radio Bracket
      GTY301180Courtesy of © TOYOTA, LICENSE AGREEMENT TMS1002
      TEXT IN ILLUSTRATION

      *1 Bolt
      *2 Screw
  4. REMOVE NO. 2 RADIO BRACKET 
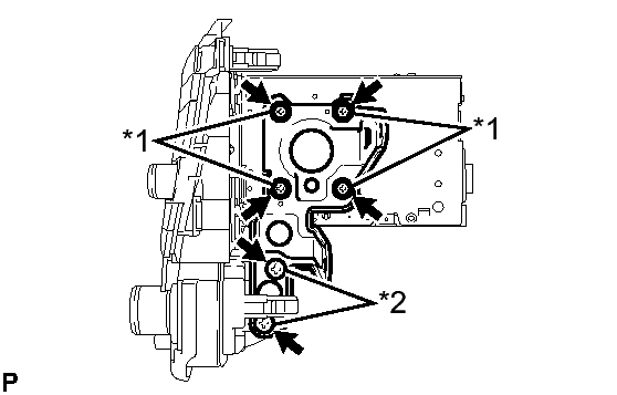
    1. Remove the 4 bolts and 2 screws to remove the No. 2 radio bracket.
      Fig 5: Identifying No. 2 Radio Bracket
      GTY296263Courtesy of © TOYOTA, LICENSE AGREEMENT TMS1002
      TEXT IN ILLUSTRATION

      *1 Bolt
      *2 Screw
  5. REMOVE NAVIGATION RECEIVER ASSEMBLY 
    1. Slide the navigation receiver assembly in the direction shown by the arrow to remove the navigation receiver assembly.
      Fig 6: Remove Navigation Receiver Assembly
      GTY300705Courtesy of © TOYOTA, LICENSE AGREEMENT TMS1002