LEMON Manuals: Even more car manuals for everyone
Home >> Toyota >> 2009 >> Sienna CE >> Repair and Diagnosis >> External Pages >> Different car >> Section 7 (Brake Control/Dynamic Control System) >> Vehicle Stability Control System >> Skid Control Buzzer Circuit >> Wiring Diagram

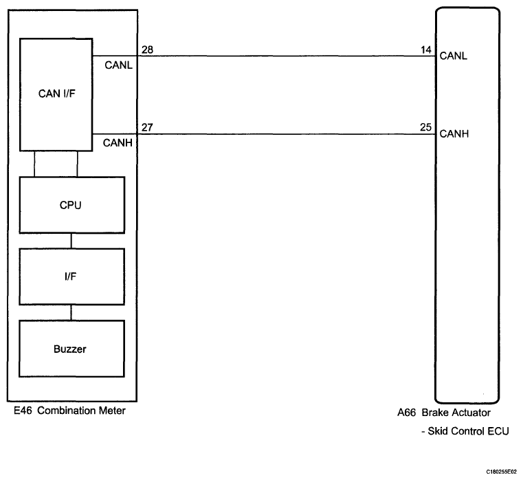
Skid Control Buzzer Circuit: Wiring Diagram

WARNING: This page is about a different car, the 2009 Toyota Corolla. However, it is still accessible from the selected car via links, so may be relevant.
Fig 1: Skid Control Buzzer - Wiring Diagram
G06013990Courtesy of © TOYOTA, LICENSE AGREEMENT TMS1002