LEMON Manuals: Even more car manuals for everyone
Home >> Toyota >> 2009 >> Sienna CE >> Repair and Diagnosis >> Engine Performance >> Engine Control Systems >> Engine Control System - System & Component Testing, On-Vehicle Inspection, Removal, Inspection & Installation >> ACIS Control Circuit >> Wiring Diagram

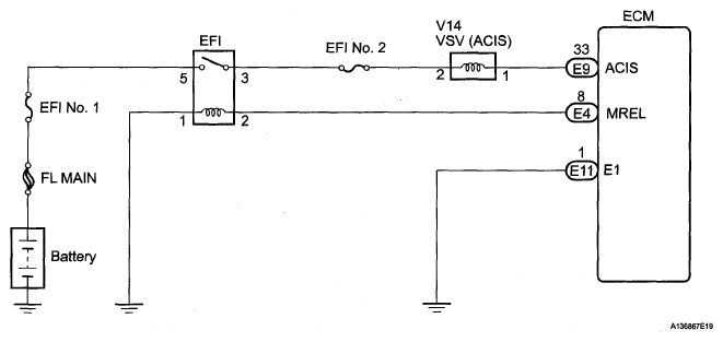
ACIS Control Circuit: Wiring Diagram

Fig 1: VSV And ECM - Wiring Diagram
G05136322Courtesy of © TOYOTA, LICENSE AGREEMENT TMS1002