LEMON Manuals: Even more car manuals for everyone
Home >> Toyota >> 2009 >> RAV4 Base, 2.5 F, AWD >> Repair and Diagnosis >> External Pages >> Different variant/trim >> Section 15 (Engine Control System (2GR-FE) - Component And System Testing, Removal, Inspection & Installation) >> VC Output Circuit >> Wiring Diagram

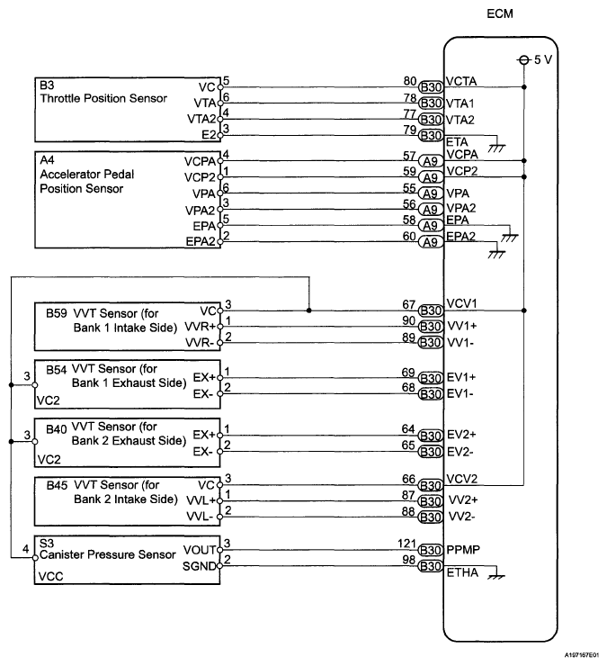
VC Output Circuit: Wiring Diagram

WARNING: This page is about a different variant/trim than selected.
Fig 1: VC Output - Wiring Diagram
G05997597Courtesy of © TOYOTA, LICENSE AGREEMENT TMS1002