LEMON Manuals: Even more car manuals for everyone
Home >> Toyota >> 2009 >> RAV4 Base, 2.5 F, AWD >> Repair and Diagnosis >> External Pages >> Different variant/trim >> Section 15 (Engine Control System (2GR-FE) - Component And System Testing, Removal, Inspection & Installation) >> Ignition Relay No. 1 >> On-Vehicle Inspection

On-Vehicle Inspection

WARNING: This page is about a different variant/trim than selected.
  1. DISCONNECT CABLE FROM NEGATIVE BATTERY TERMINAL 
    CAUTION: Wait at least 90 seconds after disconnecting the cable from the negative (-) battery terminal to prevent airbag and seat belt pretensioner activation.
  2. REMOVE IG1 RELAY 
    1. Remove the IG1 relay from the instrument panel junction block.
  3. INSPECT IG1 RELAY 
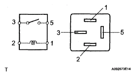
    1. Measure the resistance of the IG1 relay.

      Standard resistance 

      RESISTANCE SPECIFICATION

      Tester Connection Specified Condition
      3 - 5 10 kΩ or higher
      3 - 5 Below 1 Ω (when battery voltage is applied to terminals 1 and 2)

      If the result is not as specified, replace the relay.

      Fig 1: IG1 Relay Circuit Diagram
      G05183857Courtesy of © TOYOTA, LICENSE AGREEMENT TMS1002
  4. INSTALL IG1 RELAY 
  5. CONNECT CABLE TO NEGATIVE BATTERY TERMINAL