LEMON Manuals: Even more car manuals for everyone
Home >> Toyota >> 2009 >> Matrix Base, Standard >> Repair and Diagnosis >> General Information >> Identification >> Introduction >> How To Troubleshoot Ecu Controlled Systems >> Electronic Circuit Inspection Procedure

Electronic Circuit Inspection Procedure

  1. BASIC INSPECTION 
    1. WHEN MEASURING RESISTANCE OF ELECTRONIC PARTS
      1. Unless otherwise stated, all resistance measurements are standard values measured at an ambient temperature of 20°C (68°F). Resistance measurements may be inaccurate if measured at high temperatures, i.e. immediately after the vehicle has been running. Measurements should be made after the engine has cooled down.
    2. HANDLING CONNECTORS
      1. When disconnecting a connector, first squeeze the mating connector housing halves tightly together to release the lock, and then press the lock claw and separate the connector.
      2. When disconnecting a connector, do not pull on the harnesses. Grasp the connector directly and separate it.
      3. Before connecting a connector, check that there are no deformations, damage, looseness or missing terminals.
      4. When connecting a connector, press firmly until it locks with a "click" sound.
      5. If checking a connector with a TOYOTA electrical tester, check the connector from the backside (harness side) using a mini test lead.
      NOTE:
      • As a waterproof connector cannot be checked from the backside, check it by connecting a sub-harness.
      • Do not damage the terminals by moving the inserted tester needle.
      Fig 1: Identifying Correct And Incorrect Method Of Handling Connectors
      G04827604Courtesy of © TOYOTA, LICENSE AGREEMENT TMS1002
    3. CHECKING CONNECTORS
      1. Checking when a connector is connected: Squeeze the connectors together to confirm that they are fully connected and locked.
      2. Checking when a connector is disconnected: Check by pulling the wire harness lightly from the backside of the connector. Look for unlatched terminals, missing terminals, loose crimps or broken conductor wires. Check visually for corrosion, metallic or foreign matter and water, and bent, rusted, overheated, contaminated, or deformed terminals.
        Fig 2: Checking Connector Disconnection
        G04827605Courtesy of © TOYOTA, LICENSE AGREEMENT TMS1002
      3. Checking the contact pressure of the terminal: Prepare a spare male terminal. Insert it into a female terminal, and check for ample tension when inserting and after full engagement.
      NOTE: When testing a gold-plated female terminal, always use a gold-plated male terminal.
      Fig 3: Checking Contact Pressure Of Terminal
      G04827606Courtesy of © TOYOTA, LICENSE AGREEMENT TMS1002
    4. CONNECTOR TERMINAL REPAIR METHOD
      1. If there is any foreign matter on the terminal, clean the contact point with compressed air or a cloth. Never rub the contact point using sandpaper as the plating may come off.
      2. If there is abnormal contact pressure, replace the female terminal. If the male terminal is gold-plated (gold color), use a gold-plated female terminal; if it is silver-plated (silver color), use a silver-plated female terminal.
      3. Damaged, deformed, or corroded terminals should be replaced. If the terminal does not lock into the housing, the housing may have to be replaced.
      Fig 4: Cleaning Contact Point Of Terminal
      G04827607Courtesy of © TOYOTA, LICENSE AGREEMENT TMS1002
    5. WIRE HARNESS HANDLING
      1. If removing a wire harness, check the wiring and clamps before proceeding so that it can be restored in the same way.
      2. Never twist, pull or slacken the wire harness more than necessary.
      3. The wire harness should never come into contact with any high temperature part, rotating, moving, vibrating, or sharp-edged parts. Avoid contact with panel edges, screw tips and other sharp items.
      4. When installing parts, never pinch the wire harness.
      5. Never cut or break the cover of the wire harness. If it is cut or broken, replace or repair it with insulating tape.
      Fig 5: Identifying Correct And Incorrect Procedure Of Wire Harness Handling
      G04972371Courtesy of © TOYOTA, LICENSE AGREEMENT TMS1002
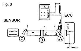
  2. CHECK FOR OPEN CIRCUIT 
    1. For an open circuit in the wire harness in Fig 6 , measure the resistance and voltage as follows:
      Fig 6: Checking Open Circuit
      G04827609Courtesy of © TOYOTA, LICENSE AGREEMENT TMS1002
    2. Check the resistance.
      1. Disconnect connectors A and C and measure the resistance between the terminals of the connectors.

        Standard Resistance ( Fig 7  ) 

        RESISTANCE SPECIFIED CONDITIONS

        Tester Connection Specified Condition
        Connector A terminal 1 - Connector C terminal 1 10 kΩ or higher
        Connector A terminal 2 - Connector C terminal 2 Below 1 Ω
        Fig 7: Measuring Resistance Between Terminals Of Connectors
        G04827610Courtesy of © TOYOTA, LICENSE AGREEMENT TMS1002

        HINT:

        Measure the resistance while lightly shaking the wire harness vertically and horizontally. If the results match the preceding values, an open circuit exists between terminal 1 of connector A and terminal 1 of connector C.

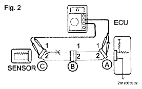
      2. Disconnect connector B and measure the resistance between the terminals of the connectors.

        Standard Resistance ( Fig 8  ) 

        RESISTANCE SPECIFIED CONDITION

        Tester Connection Specified Condition
        Connector A terminal 1 - Connector B1 terminal 1 Below 1 Ω
        Connector B2 terminal 2 - Connector C terminal 2 10 kΩ or higher
      Fig 8: Measuring Resistance Between Terminals Of Connectors
      G04827611Courtesy of © TOYOTA, LICENSE AGREEMENT TMS1002

      If the results match the values specified above, an open circuit exists between terminal 1 of connector B2 and terminal 1 of connector C.

    3. Check the voltage.
      1. In a circuit in which voltage is applied to the ECU connector terminal, an open circuit can be checked by conducting a voltage check. With each connector still connected, measure the voltage between body ground and the following terminals (in this order): 1) terminal 1 of connector A, 2) terminal 1 of connector B, and 3) terminal 1 of connector C.
      Fig 9: Checking Voltage Between Terminals Of Connectors
      G04827612Courtesy of © TOYOTA, LICENSE AGREEMENT TMS1002

      Standard Voltage ( Fig 9  ) 

      VOLTAGE SPECIFIED CONDITION

      Tester Connection Specified Condition
      Connector A terminal 1 - Body ground 5V
      Connector B terminal 1 - Body ground 5V
      Connector C terminal 1 - Body ground Below 1 V

      If the results match the values specified above, an open circuit exists in the wire harness between terminal 1 of connector B and terminal 1 of connector C.

  3. CHECK FOR SHORT CIRCUIT 
    1. If a wire in the harness is shorted to ground (Fig 10 ), locate the shorted section by conducting the following resistance check to body ground.
      Fig 10: Checking Short Circuit
      G04827613Courtesy of © TOYOTA, LICENSE AGREEMENT TMS1002
    2. Check the resistance to body ground.
      1. Disconnect connectors A and C and measure the resistance.

        Standard Resistance ( Fig 11  ) 

        RESISTANCE SPECIFIED CONDITION

        Tester Connection Specified Condition
        Connector A terminal 1 - Body ground Below 1 Ω
        Connector A terminal 2 - Body ground 10 kΩ or higher
        Fig 11: Checking Resistance To Body Ground
        G04827614Courtesy of © TOYOTA, LICENSE AGREEMENT TMS1002

        HINT:

        Measure the resistance while lightly shaking the wire harness vertically and horizontally. If the results match the values specified above, a short circuit exists between terminal 1 of connector A and terminal 1 of connector C.

      2. Disconnect connector B and measure the resistance.

        Standard Resistance ( Fig 12  ) 

        RESISTANCE SPECIFIED CONDITION

        Tester Connection Specified Condition
        Connector A terminal 1 - Body ground 10 kΩ or higher
        Connector B2 terminal 2 - Body ground Below 1 Ω

        If the results match the values specified above, a short circuit exists between terminal 1 of connector B2 and terminal 1 of connector C.

        Fig 12: Measuring Connector Resistance
        G06022223Courtesy of © TOYOTA, LICENSE AGREEMENT TMS1002
  4. CHECK AND REPLACE ECU 
    NOTE:
    • The connector should not be disconnected from the ECU. Perform the inspection from the backside of the connector on the wire harness side.
    • When no measuring condition is specified, perform the inspection with the engine stopped and the ignition switch ON.
    • Check that the connectors are fully seated. Check for loose, corroded or broken wires.
    1. First, check the ECU ground circuit. If it is faulty, repair it. If it is normal, the ECU could be faulty. Temporarily replace the ECU with a normally functioning one and check if the symptoms occur. If the trouble symptoms disappear, replace the original ECU.
      1. Measure the resistance between the ECU ground terminal and body ground.

        Standard resistance: Below 1 Ω 

        Fig 13: Measuring Resistance Between ECU Ground Terminal And Body Ground
        G04827616Courtesy of © TOYOTA, LICENSE AGREEMENT TMS1002
      2. Disconnect the ECU connector. Check the ground terminal on the ECU side and wire harness side for bent terminals, corrosion or foreign matter. Lastly, check the contact pressure of the female terminals.
        Fig 14: Identifying Ground Terminal On ECU Side
        G06022225Courtesy of © TOYOTA, LICENSE AGREEMENT TMS1002