LEMON Manuals: Even more car manuals for everyone
Home >> Toyota >> 2009 >> Matrix Base, Standard >> Repair and Diagnosis >> External Pages >> Different variant/trim >> Section 11 (Transfer Case MF1A/4WD/AWD) >> Transfer Assembly >> Disassembly

Transfer Assembly: Disassembly

WARNING: This page is about a different variant/trim than selected.
  1. REMOVE TRANSFER AND TRANSAXLE SETTING STUD BOLT 
    1. Remove the 4 transfer and transaxle setting stud bolts.
      Fig 1: Locating Transaxle Setting Stud Bolts
      G06045857Courtesy of © TOYOTA, LICENSE AGREEMENT TMS1002
  2. REMOVE NO. 2 TRANSFER CASE PLUG 
    1. Remove the No. 2 transfer case plug.
    2. Remove the gasket from the No. 2 transfer case plug.
      Fig 2: Locating No. 2 Transfer Case Plug
      G06045858Courtesy of © TOYOTA, LICENSE AGREEMENT TMS1002
  3. REMOVE NO. 1 TRANSFER CASE PLUG 
    1. Remove the No. 1 transfer case plug.
    2. Remove the gasket from the No. 1 transfer case plug.
      Fig 3: Locating No. 1 Transfer Case Plug
      G06045859Courtesy of © TOYOTA, LICENSE AGREEMENT TMS1002
  4. REMOVE TRANSFER DRAIN PLUG 
    1. Remove the transfer drain plug.
    2. Remove the gasket from the transfer drain plug.
      Fig 4: Locating Transfer Drain Plug
      G06045860Courtesy of © TOYOTA, LICENSE AGREEMENT TMS1002
  5. REMOVE TRANSFER CASE BREATHER PLUG 
    1. Using a screwdriver, remove the transfer case breather plug.
      Fig 5: Removing Transfer Case Breather Plug
      G05241020Courtesy of © TOYOTA, LICENSE AGREEMENT TMS1002
  6. REMOVE NO. 1 TRANSFER CASE COVER 
    1. Remove the 8 bolts.
      Fig 6: Locating No. 1 Transfer Case Cover Bolts
      G06045862Courtesy of © TOYOTA, LICENSE AGREEMENT TMS1002
    2. Using a brass bar and a hammer, remove the No. 1 transfer case cover from the transfer case.
      NOTE: Place the brass bar on the rib protruding from the case.
      Fig 7: Removing No. 1 Transfer Case Cover From Transfer Case
      G06025216Courtesy of © TOYOTA, LICENSE AGREEMENT TMS1002
  7. REMOVE BREATHER OIL DEFLECTOR 
    1. Remove the bolt and breather oil deflector.
      Fig 8: Locating Breather Oil Deflector Bolt
      G06045864Courtesy of © TOYOTA, LICENSE AGREEMENT TMS1002
  8. REMOVE TRANSFER DYNAMIC DAMPER 
    1. Remove the 3 bolts and transfer dynamic damper from the transfer extension housing sub-assembly.
  9. REMOVE TRANSFER CASE STRAIGHT PIN 
    1. Remove the 4 transfer case straight pins from the transfer case.
      Fig 9: Locating Transfer Dynamic Damper Bolts
      G06045865Courtesy of © TOYOTA, LICENSE AGREEMENT TMS1002
      Fig 10: Locating Transfer Case Straight Pins
      G06045866Courtesy of © TOYOTA, LICENSE AGREEMENT TMS1002
  10. SECURE TRANSFER ASSEMBLY 
    1. Attach the transfer assembly to the overhaul attachment.
  11. REMOVE TRANSFER EXTENSION HOUSING DUST DEFLECTOR 
    1. Using a plastic hammer, remove the transfer extension housing dust deflector from the transfer extension housing sub-assembly.
      Fig 11: Removing Transfer Extension Housing Dust Deflector From Transfer Extension Housing Sub-Assembly
      G06025220Courtesy of © TOYOTA, LICENSE AGREEMENT TMS1002
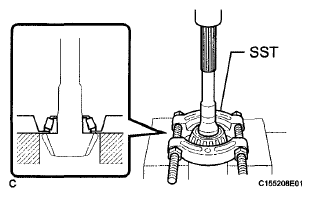
  12. REMOVE TRANSFER CASE REAR OIL SEAL 
    1. Using SST, remove the transfer case rear oil seal from the transfer extension housing sub-assembly.

      SST 09308-00010 

      NOTE: Be careful not to damage the oil seal contact surface or the inside surface of the oil seal.
      Fig 12: Removing Transfer Case Rear Oil Seal From Transfer Extension Housing Sub-Assembly
      G06025221Courtesy of © TOYOTA, LICENSE AGREEMENT TMS1002
  13. REMOVE TRANSFER EXTENSION HOUSING SUB-ASSEMBLY 
    1. Remove the 4 bolts.
      Fig 13: Locating Transfer Extension Housing Sub-Assembly Bolts
      G06025222Courtesy of © TOYOTA, LICENSE AGREEMENT TMS1002
    2. Using a plastic hammer, remove the transfer extension housing sub-assembly from the transfer case.
  14. INSPECT PRELOAD  (See INSPECTION  )
  15. INSPECT RING GEAR BACKLASH  (See INSPECTION  )
  16. INSPECT TOOTH CONTACT BETWEEN RING GEAR AND DRIVE PINION  (See INSPECTION  )
    Fig 14: Removing Transfer Extension Housing Sub-Assembly From Transfer Case
    G06045870Courtesy of © TOYOTA, LICENSE AGREEMENT TMS1002
  17. REMOVE TRANSFER CASE FRONT OIL SEAL 
    1. Using SST, remove the transfer case front oil seal from the transfer case.

      SST 09308-00010 

      NOTE: Do not damage the oil seal contact surface on case.
      Fig 15: Removing Transfer Case Front Oil Seal From Transfer Case
      G06045871Courtesy of © TOYOTA, LICENSE AGREEMENT TMS1002
  18. REMOVE TRANSFER CASE FRONT OIL SEAL (for RH Side) 
    1. Using SST, remove the transfer case front oil seal from the transfer case.

      SST 09308-00010 

      NOTE: Do not damage the oil seal contact surface on case.
      Fig 16: Removing Transfer Case Front Oil Seal From Transfer Case
      G06025225Courtesy of © TOYOTA, LICENSE AGREEMENT TMS1002
  19. REMOVE BEARING CAP 
    1. Remove the 2 bolts and the bearing cap.
      Fig 17: Locating Bearing Cap Bolts
      G06025226Courtesy of © TOYOTA, LICENSE AGREEMENT TMS1002
  20. REMOVE NO. 1 TRANSFER OUTPUT SHAFT SPACER 
    1. Using SST, a screwdriver and a hammer, remove the No. 1 transfer output shaft spacer.

      SST 09504-22011 

      NOTE: Do not damage to the transfer case.
  21. REMOVE NO. 2 TRANSFER RING GEAR MOUNTING CASE WASHER 
    Fig 18: Removing No. 1 Transfer Output Shaft Spacer
    G06045874Courtesy of © TOYOTA, LICENSE AGREEMENT TMS1002
  22. REMOVE TRANSFER RING GEAR MOUNTING CASE 
    1. Remove the transfer ring gear mounting case from the transfer case.
      Fig 19: Removing Transfer Ring Gear Mounting Case From Transfer Case
      G06025228Courtesy of © TOYOTA, LICENSE AGREEMENT TMS1002
  23. REMOVE DRIVEN PINION 
    1. Using SST and a hammer, unstake the gear nut.

      SST 09930-00010 

      HINT:

      • Use SST with the flat side facing outward.
      • Do not machine the tip of SST with a grinder, etc.
        Fig 20: Unstaking Gear Nut
        G06025229Courtesy of © TOYOTA, LICENSE AGREEMENT TMS1002
    2. Using SST, remove the gear nut.

      SST 09326-20011, 09556-16030 

      Fig 21: Removing Gear Nut
      G06045877Courtesy of © TOYOTA, LICENSE AGREEMENT TMS1002
    3. Using a press, press out the driven pinion, transfer driven pinion rear bearing (inner race) and transfer pinion bearing spacer.
      NOTE:
      • Place a piece of cloth under the transfer case to prevent the driven pinion from dropping out of the bearing.
      • Use wooden blocks or similar objects under the case to keep it level.
        Fig 22: Pressing Out Driven Pinion, Transfer Driven Pinion Rear Bearing (Inner Race) And Transfer Pinion Bearing Spacer
        G06025231Courtesy of © TOYOTA, LICENSE AGREEMENT TMS1002
  24. REMOVE TRANSFER DRIVEN PINION FRONT BEARING 
    1. Using SST and a press, press out the transfer driven pinion front bearing (inner race).

      SST 09950-00020 

      Fig 23: Pressing Out Transfer Driven Pinion Front Bearing (Inner Race)
      G06025232Courtesy of © TOYOTA, LICENSE AGREEMENT TMS1002
    2. Using a brass bar and a hammer, tap the 2 positions shown in the illustration on the driven pinion front bearing (outer race) to remove it from the case.
  25. REMOVE TRANSFER OUTPUT SHAFT WASHER 
  26. REMOVE RING GEAR MOUNTING CASE BEARING 
    1. Remove the ring gear mounting case bearing (outer race) RH from the transfer ring gear mounting case.
      Fig 24: Removing Driven Pinion Front Bearing (Outer Race)
      G06025233Courtesy of © TOYOTA, LICENSE AGREEMENT TMS1002
    2. Using SST, remove the ring gear mounting case bearing (inner race) RH from the transfer ring gear mounting case.

      SST 09950-40011 (09951 -04010, 09952-04010, 09953-04020, 09954-04010, 09955-04061, 09957-04010, 09958-04011), 09950-60010 (09951-00440) 

      NOTE: Use SST (09953-04020) after applying grease to its threads and tip.
      Fig 25: Removing Ring Gear Mounting Case Bearing (Inner Race) RH From Transfer Ring Gear Mounting Case
      G06045881Courtesy of © TOYOTA, LICENSE AGREEMENT TMS1002
    3. Using SST, remove the ring gear mounting (inner race) RH from the transfer ring gear mounting case.

      SST 09950-40011 (09951-04010,09952-04010, 09953-04020, 09954-04010, 09955-04061, 09957-04010, 09958-04011), 09950-60010 (09951-00400) 

      NOTE: Use SST (09953-04020) after applying grease to its threads and tip.
      Fig 26: Removing Ring Gear Mounting (Inner Race) RH From Transfer Ring Gear Mounting Case
      G06045882Courtesy of © TOYOTA, LICENSE AGREEMENT TMS1002
    4. Using a brass bar and a hammer, tap the 2 positions shown in the illustration of the ring gear mounting case bearing (outer race) LH to remove it from the transfer case.
    5. Remove the ring gear mounting case plate washer.
  27. INSPECT RUNOUT OF RING GEAR  (See INSPECTION  )
    Fig 27: Removing Ring Gear Mounting Case Bearing (Outer Race) LH
    G06045883Courtesy of © TOYOTA, LICENSE AGREEMENT TMS1002
  28. REMOVE RING GEAR 
    1. Put matchmarks on the transfer ring gear mounting case and ring gear.
    2. Remove the 10 bolts.
      Fig 28: Locating Ring Gear Bolts
      G06045884Courtesy of © TOYOTA, LICENSE AGREEMENT TMS1002
    3. Using a plastic hammer, tap on the ring gear to separate it from the transfer ring gear mounting case.
      NOTE: Do not damage the ring gear teeth.
      Fig 29: Tapping On Ring Gear To Separate From Transfer Ring Gear Mounting Case
      G06045885Courtesy of © TOYOTA, LICENSE AGREEMENT TMS1002
  29. INSPECT TRANSFER RING GEAR MOUNTING CASE  (See INSPECTION  )
  30. REMOVE TRANSFER DRIVEN PINION REAR BEARING 
    1. Using a brass bar and a hammer, tap the 2 positions shown in the illustration on the driven pinion rear bearing (outer race) to remove it from the transfer case.
      Fig 30: Removing Driven Pinion Rear Bearing (Outer Race) From Transfer Case
      G06045886Courtesy of © TOYOTA, LICENSE AGREEMENT TMS1002