LEMON Manuals: Even more car manuals for everyone
Home >> Toyota >> 2009 >> Matrix Base, Automatic >> Repair and Diagnosis >> External Pages >> Different variant/trim >> Section 8 (Engine Control System (2AZ-FE)) >> SFI System >> DTC P2102 Throttle Actuator Control Motor Circuit Low; DTC P2103 Throttle Actuator Control Motor Circuit High >> Wiring Diagram

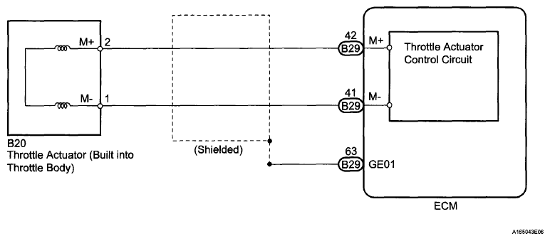
DTC P2102 Throttle Actuator Control Motor Circuit Low; DTC P2103 Throttle Actuator Control Motor Circuit High: Wiring Diagram

WARNING: This page is about a different variant/trim than selected.
Fig 1: Throttle Actuator - Wiring Diagram
G06040147Courtesy of © TOYOTA, LICENSE AGREEMENT TMS1002