LEMON Manuals: Even more car manuals for everyone
Home >> Toyota >> 2009 >> Matrix Base, Automatic >> Repair and Diagnosis >> External Pages >> Different variant/trim >> Section 13 (Transfer Case MF1A/4WD/AWD) >> Transfer Assembly >> Reassembly

Transfer Assembly: Reassembly

WARNING: This page is about a different variant/trim than selected.
  1. INSTALL TRANSFER DRIVEN PINION REAR BEARING 
    1. Using SST and a press, press the driven pinion rear bearing (outer race) into the case.

      SST 09950-60010 (09951 -00620), 09950-70010 (09951-07150) 

      NOTE: Keep the transfer case horizontal using wooden blocks, etc.
      Fig 1: Pressing Driven Pinion Rear Bearing (Outer Race) Into Case
      G06025246Courtesy of © TOYOTA, LICENSE AGREEMENT TMS1002
    2. Apply gear oil to the driven pinion rear bearing (outer race).
  2. INSTALL TRANSFER OUTPUT SHAFT WASHER 
    1. Install the transfer output shaft washer to the transfer case.

      HINT:

      Install the same washer as the one removed.

    2. Apply gear oil to the transfer output shaft washer.
  3. INSTALL TRANSFER DRIVEN PINION FRONT BEARING 
    1. Apply gear oil to the inner surface of the transfer case.
    2. Using SST, install the transfer driven pinion front bearing (outer race) to the transfer case.

      SST 09950-60010 (09951 -00610, 09951 -00620, 09951-00650), 09950-60020 (09951-00680) 

      Fig 2: Installing Transfer Driven Pinion Front Bearing (Outer Race) To Transfer Case
      G06045894Courtesy of © TOYOTA, LICENSE AGREEMENT TMS1002
    3. Using SST and a press, press the driven pinion front bearing (inner race) into the driven pinion.

      SST 09506-30012 

      Fig 3: Pressing Driven Pinion Front Bearing (Inner Race) Into Driven Pinion
      G06025248Courtesy of © TOYOTA, LICENSE AGREEMENT TMS1002
  4. INSTALL DRIVEN PINION 
    1. Install the driven pinion to the transfer case.
      Fig 4: Installing Driven Pinion To Transfer Case
      G06025249Courtesy of © TOYOTA, LICENSE AGREEMENT TMS1002
    2. Install a new transfer pinion bearing spacer and driven pinion rear bearing (inner race) to the driven pinion.

      HINT:

      Install the pinion bearing spacer with the larger inner diameter facing forward as shown in the illustration.

      Fig 5: Identifying Transfer Pinion Bearing Spacer And Driven Pinion Rear Bearing (Inner Race)
      G06045897Courtesy of © TOYOTA, LICENSE AGREEMENT TMS1002
    3. Using SST, install a new gear nut.

      SST 09326-20011, 09556-16030 

      Fig 6: Installing Gear Nut
      G06025251Courtesy of © TOYOTA, LICENSE AGREEMENT TMS1002

      Preload (at Starting) 

      PRELOAD REFERENCE CHART

      Item Torque
      without SST 295 N*m (3008 kgf*cm, 217 ft.*lbf)
      with SST 279 N*m (2845 kgf*cm, 205 ft.*lbf)

      HINT:

      Using a torque wrench with a fulcrum length of 750 mm (29.53 in.).

      NOTE: Do not stake the nut until the final preload, tooth contact and backlash adjustments are completed.
  5. ADJUST DRIVEN PINION PRELOAD 
    1. Using SST and a torque wrench, measure the driven pinion preload.

      SST 09326-20011 

      Fig 7: Measuring Driven Pinion Preload
      G06025267Courtesy of © TOYOTA, LICENSE AGREEMENT TMS1002

      Preload (at Starting) 

      PRELOAD REFERENCE CHART

      Item Preload
      New bearing (without SST) 0.69 to 1.27 N*m (7.0 to 13.0 kgf*cm, 6.1 to 11.2 in.*lbf)
      New bearing (with SST) 0.53 to 0.97 N*m (5.4 to 9.9 kgf*cm, 4.7 to 8.6 in.*lbf)
      Reused bearing (without SST) 0.39 to 0.69 N*m (4.0 to 7.0 kgf*cm, 3.5 to 6.1 in.*lbf)
      Reused bearing (with SST) 0.28 to 0.50 N*m (2.9 to 5.1 kgf*cm, 2.5 to 4.4 in.*lbf)

      HINT:

      • Use a torque wrench with a fulcrum length of 130 mm (5.12 in.).
      • If the preload is more than the specification, replace the pinion bearing spacer with a new one.
      • If the preload is not sufficient, adjust the driven pinion by tightening the lock nut 5° to 10° and measuring the preload until the preload is within the specification.
      • Even if the tightening torque of the gear nut exceeds the specified torque, if the preload is insufficient, loosen the gear nut once and apply rust preventive oil or hypoid gear oil to the gear nut and to the screw or bearing surface of driven pinion. Then perform the procedure again. If the tightening torque is less than the specified torque, replace the pinon bearing spacer with a new one and adjust it.
      • Do not loosen the pinion nut to reduce the preload.
  6. INSTALL RING GEAR 
    1. Clean the contact surface of the ring gear and transfer ring gear mounting case.
    2. Heat the ring gear in boiling water.
    3. Carefully remove the ring gear from the boiling water.
      Fig 8: Heating Ring Gear In Boiling Water
      G06045900Courtesy of © TOYOTA, LICENSE AGREEMENT TMS1002
    4. After the moisture on the ring gear has completely evaporated, quickly align the matchmarks, set the ring gear onto the transfer ring gear mounting case, and then temporarily tighten the 10 bolts.

      Torque: 78 N*m (790 kgf*cm, 57 ft.*lbf) 

      NOTE:
      • Tighten the bolts evenly in a diagonal pattern using several steps,
      • Tighten the bolts after the ring gear has cooled down sufficiently.
        Fig 9: Locating Ring Gear Bolts
        G06045884Courtesy of © TOYOTA, LICENSE AGREEMENT TMS1002
  7. INSTALL RING GEAR MOUNTING CASE BEARING 
    1. Using SST and a press, press the ring gear mounting case bearing (inner race) RH into the transfer ring gear mounting case.

      SST 09950-60010(09951-00420) 

    2. Install the ring gear mounting case bearing (outer race) RH to the transfer ring gear mounting case.
    3. Apply gear oil to the ring gear mounting case bearing RH.
      Fig 10: Pressing Ring Gear Mounting Case Bearing (Inner Race) RH Into Transfer Ring Gear Mounting Case
      G06025255Courtesy of © TOYOTA, LICENSE AGREEMENT TMS1002
    4. Using SST and a press, press the ring gear mounting case bearing (inner race) LH into the transfer ring gear mounting case.

      SST 09223-00010,09726-40010 

    5. Install the ring gear mounting case plate washer to the case.

      HINT:

      Use a new washer with the same thickness as the one removed when installing the bearing.

      Fig 11: Pressing Ring Gear Mounting Case Bearing (Inner Race) LH Into Transfer Ring Gear Mounting Case
      G06025256Courtesy of © TOYOTA, LICENSE AGREEMENT TMS1002
    6. Using SST and a press, press the ring gear mounting case bearing LH outer race into the transfer case.

      SST 09950-60010 (09951 -00620), 09950-70010 (09951-07200) 

    7. Apply gear oil to the ring gear mounting case bearing.
      Fig 12: Pressing Ring Gear Mounting Case Bearing LH Outer Race Into Transfer Case
      G06025257Courtesy of © TOYOTA, LICENSE AGREEMENT TMS1002
  8. INSTALL TRANSFER RING GEAR MOUNTING CASE 
    1. Apply gear oil to the transfer ring gear mounting case.
    2. Install the transfer ring gear mounting case to the transfer case.
      Fig 13: Installing Transfer Ring Gear Mounting Case To Transfer Case
      G06025228Courtesy of © TOYOTA, LICENSE AGREEMENT TMS1002
  9. INSTALL NO. 1 TRANSFER OUTPUT SHAFT SPACER 
    1. Align the cutout on a new No. 1 transfer output shaft spacer with the transfer case hole to install it as shown in the illustration.
      Fig 14: Aligning Cutout On No. 1 Transfer Output Shaft Spacer With Transfer Case Hole
      G06045906Courtesy of © TOYOTA, LICENSE AGREEMENT TMS1002
  10. INSTALL NO. 2 TRANSFER RING GEAR MOUNTING CASE WASHER 
    1. Using a brass bar and a hammer, install a new No. 2 transfer ring gear mounting case washer.

      HINT:

      Install a new No. 2 washer with the same thickness as the one removed.

      Fig 15: Installing No. 2 Transfer Ring Gear Mounting Case Washer
      G06045907Courtesy of © TOYOTA, LICENSE AGREEMENT TMS1002
  11. INSTALL BEARING CAP 
    1. Install the bearing cap with the 2 bolts.

      Torque: 63 N*m (644 kgf*cm, 47 ft.*lbf) 

      Fig 16: Locating Bearing Cap Bolts
      G06025226Courtesy of © TOYOTA, LICENSE AGREEMENT TMS1002
  12. INSPECT RING GEAR BACKLASH 
    1. Set a dial indicator perpendicular to a ring gear tooth tip. Secure the driven pinion in place and move the ring gear back and forth the measure the backlash.

      Backlash: 

      0.10 to 0.18 mm (0.00394 to 0.00709 in.) 

      NOTE: Check at least 3 positions on the circumference of the ring gear.
      Fig 17: Inspecting Ring Gear Backlash
      G06025262Courtesy of © TOYOTA, LICENSE AGREEMENT TMS1002
    2. If the backlash is outside the specified range, select a ring gear mounting case bearing LH side washer from the table and install it to meet the specified range.

      Washer Thickness 

      WASHER THICKNESS

      Mark Thickness mm (in.) Mark Thickness mm (in.)
      50 2.05 (0.0807) 68 2.59 (0.1020)
      51 2.08 (0.0819) 69 2.62 (0.1031)
      52 2.11 (0.0831) 70 2.65 (0.1043)
      53 2.14 (0.0843) 71 2.68 (0.1055)
      54 2.17 (0.0854) 72 2.71 (0.1067)
      55 2.20 (0.0866) 73 2.74 (0.1079)
      56 2.23 (0.0878) 74 2.77 (0.1091)
      57 2.26 (0.0890) 75 2.80 (0.1102)
      58 2.29 (0.0902) 76 2.83 (0.1114)
      59 2.32 (0.0913) 77 2.86 (0.1126)
      60 2.35 (0.0925) 78 2.89 (0.1138)
      61 2.38 (0.0937) 79 2.92 (0.1150)
      62 2.41 (0.0949) 80 2.95 (0.1161)
      63 2.44 (0.0961) 81 2.98 (0.1173)
      64 2.47 (0.0973) 82 3.01 (0.1185)
      65 2.50 (0.0984) 83 3.04 (0.1197)
      66 2.53 (0.0996) 84 3.07 (0.1209)
      67 2.56 (0.1008) - -
      Fig 18: Identifying Ring Gear Mounting Case Bearing LH Side Washer
      G06045910Courtesy of © TOYOTA, LICENSE AGREEMENT TMS1002
  13. INSPECT TOOTH CONTACT BETWEEN RING GEAR AND DRIVE PINION 
    1. Coat 3 or 4 teeth at 4 different positions on the ring gear with Prussian blue.
      Fig 19: Coating 3 Or 4 Teeth At 4 Different Positions On Ring Gear With Prussian Blue
      G06025242Courtesy of © TOYOTA, LICENSE AGREEMENT TMS1002
    2. Rotate the ring gear to inspect the tooth contact pattern.
      Fig 20: Tooth Contact Pattern Chart
      G06045912Courtesy of © TOYOTA, LICENSE AGREEMENT TMS1002
    3. If the tooth contact pattern is not correct, select a new transfer output shaft washer that is thicker or thinner as necessary and recheck.

      Washer Thickness 

      WASHER THICKNESS

      Mark Thickness mm (in.) Mark Thickness mm (in.)
      AA 2.10(0.0827) JA 2.34(0.0921)
      AC 2.12 (0.0835) JC 2.36 (0.0929)
      BB 2.14 (0.0843) KB 2.38 (0.0937)
      CA 2.16 (0.0850) LA 2.40 (0.0945)
      CC 2.18 (0.0858) LC 2.42 (0.0953)
      DB 2.20 (0.0866) MB 2.44 (0.0961)
      EA 2.22 (0.0874) NA 2.46 (0.0969)
      EC 2.24 (0.0882) NC 2.48 (0.0976)
      FB 2.26 (0.0890) PB 2.50 (0.0984)
      GA 2.28 (0.0898) QA 2.52 (0.0992)
      GC 2.30 (0.0906) QC 2.54 (0.1000)
      HB 2.32 (0.0913) - -
      Fig 21: Identifying Transfer Output Shaft Washer
      G06045913Courtesy of © TOYOTA, LICENSE AGREEMENT TMS1002
      NOTE: When the washer thickness is changed, readjust the backlash (See INSPECTION  ).
  14. INSPECT AND ADJUST TOTAL PRELOAD 
    1. Using SST and a torque wrench, measure the total preload.

      SST 09326-20011 

      Fig 22: Measuring Total Preload
      G06025267Courtesy of © TOYOTA, LICENSE AGREEMENT TMS1002

      Total Preload (at Starting) 

      TOTAL PRELOAD REFERENCE CHART

      Item Preload
      New bearing (without SST) 0.30 to 0.45 N*m (3.0 to 4.6 kgf*cm, 2.6 to 4.0 in.*lbf) + Driven pinion preload
      New bearing (with SST) 0.28 to 0.43 N*m (2.9 to 4.4 kgf*cm, 2.5 to 3.8 in.*lbf) + Driven pinion preload
      Reused bearing (without SST) 0.19 to 0.34 N*m (1.9 to 3.4 kgf*cm, 1.7 to 3.0 in.*lbf) + Driven pinion preload
      Reused bearing (with SST) 0.18 to 0.32 N*m (1.8 to 3.3 kgf*cm, 1.6 to 2.8 in.*lbf) + Driven pinion preload

      HINT:

      • Use a torque wrench with a fulcrum length of 130 mm (5.12 in.).
      • Turn the driven pinion counterclockwise and clockwise several times.

      If the preload is outside the specified range, replace the No. 2 transfer ring gear mounting case washer with one that is thicker or thinner as necessary and recheck.

      Fig 23: Identifying No. 2 Transfer Ring Gear Mounting Case Washer
      G06045915Courtesy of © TOYOTA, LICENSE AGREEMENT TMS1002

      Washer Thickness 

      WASHER THICKNESS

      Mark Thickness mm (in.) Mark Thickness mm (in.)
      A0 2.47 (0.0972) C3 3.16(0.1244)
      A1 2.50 (0.0984) C4 3.19(0.1256)
      A2 2.53 (0.0996) C5 3.22 (0.1268)
      A3 2.56 (0.1008) C6 3.25 (0.1280)
      A4 2.59 (0.1020) C7 3.28 (0.1291)
      A5 2.62 (0.1031) C8 3.31 (0.1303)
      A6 2.65 (0.1043) C9 3.34 (0.1315)
      A7 2.68 (0.1055) DO 3.37 (0.1327)
      A8 2.71 (0.1067) D1 3.40 (0.1339)
      A9 2.74 (0.1079) D2 3.43 (0.1350)
      B0 2.77 (0.1091) D3 3.46 (0.1362)
      B1 2.80 (0.1102) D4 3.49 (0.1374)
      B2 2.83 (0.1114) D5 3.52 (0.1386)
      B3 2.86 (0.1126) D6 3.55 (0.1398)
      B4 2.89 (0.1138) D7 3.58 (0.1409)
      B5 2.92 (0.1150) D8 3.61 (0.1421)
      B6 2.95 (0.1161) D9 3.64 (0.1433)
      B7 2.98 (0.1173) E0 3.67 (0-1445)
      B8 3.01 (0.1185) E1 3.70 (0.1457)
      B9 3.04 (0.1197) E2 3.73 (0.1469)
      CO 3.07 (0.1209) E3 3.76 (0.1480)
      C1 3.10 (0.1220) E4 3.79 (0.1492)
      C2 3.13 (0.1232) E5 3.82 (0.1504)
    2. Using a chisel and a hammer, stake the gear nut.
      Fig 24: Staking Gear Nut
      G06025269Courtesy of © TOYOTA, LICENSE AGREEMENT TMS1002
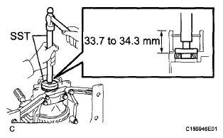
  15. INSTALL TRANSFER CASE FRONT OIL SEAL (for RH Side) 
    1. Using SST and a hammer, drive a new transfer case front oil seal into the case until it reaches the position shown in the illustration.

      SST 09950-60010 (09951-00350, 09951-00580, 09952-06010), 09950-70010 (09951-07150) 

      Drive in depth: 

      33.7 to 34.3 mm (1.327 to 1.350 in.) 

      NOTE: Do not install the oil seal at an angle.
      Fig 25: Driving Transfer Case Front Oil Seal Into Case
      G06045917Courtesy of © TOYOTA, LICENSE AGREEMENT TMS1002
    2. Apply a small amount of MP grease to the lip of the transfer case front oil seal.
  16. INSTALL TRANSFER CASE FRONT OIL SEAL 
    1. Using SST and a hammer, drive a new transfer case front oil seal into the transfer case until it reaches the position in the illustration.

      SST 09316-60011 (09316-00011) 

      Drive in depth: 

      9.7 to 10.3 mm (0.382 to 0.406 in.) 

    2. Apply a small amount of MP grease to the lip of the transfer case front oil seal.
      Fig 26: Driving Transfer Case Front Oil Seal Into Transfer Case
      G06045918Courtesy of © TOYOTA, LICENSE AGREEMENT TMS1002
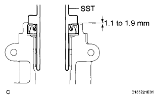
  17. INSTALL TRANSFER CASE REAR OIL SEAL 
    1. Using SST and a hammer, drive a new transfer case rear oil seal into the extension housing until it reaches the position in the illustration.

      SST 09950-60010 (09951-00350, 09951-00570, 09952-06010), 09950-70010 (09951-07150) 

      Drive in depth: 

      1.1 to 1.9 mm (0.0433 to 0.0748 in.) 

    2. Apply a small amount of MP grease to the lip of the transfer case rear oil seal.
      Fig 27: Driving Transfer Case Rear Oil Seal Into Extension Housing
      G06045919Courtesy of © TOYOTA, LICENSE AGREEMENT TMS1002
  18. INSTALL TRANSFER EXTENSION HOUSING DUST DEFLECTOR 
    1. Using SST and a press, press in the extension housing dust deflector until it contacts the installation surface as shown in the illustration.

      SST 09950-60020 (09951-00810), 09950-70010 (09951-07150) 

      Fig 28: Pressing In Extension Housing Dust Deflector
      G06025273Courtesy of © TOYOTA, LICENSE AGREEMENT TMS1002
  19. INSTALL TRANSFER EXTENSION HOUSING SUB-ASSEMBLY 
    1. Remove any FIPG material and be careful not to drop oil on the contact surfaces of the transfer extension housing sub-assembly and the transfer case.
    2. Degrease the surface with a non-residue solvent.
    3. Apply FIPG to the transfer extension housing sub-assembly.

      FIPG: 

      Toyota Genuine Seal Packing 1281, Three Bond 1281 or equivalent 

      Fig 29: Applying FIPG To Transfer Extension Housing Sub-Assembly
      G06025274Courtesy of © TOYOTA, LICENSE AGREEMENT TMS1002
    4. Install the transfer extension housing sub-assembly with the 4 bolts to the transfer case.

      Torque: 26 N*m (260 kgf*cm, 19 ft.*lbf) 

      NOTE: Assemble transfer extension housing sub-assembly within 10 minutes after the FIPG application.
  20. SEPARATE TRANSFER ASSEMBLY 
    1. Remove the transfer assembly from the overhaul attachment.
      Fig 30: Locating Transfer Extension Housing Sub-Assembly Bolts
      G06025222Courtesy of © TOYOTA, LICENSE AGREEMENT TMS1002
  21. INSTALL TRANSFER CASE STRAIGHT PIN 
    1. Using a plastic hammer, drive the 4 transfer case straight pins into the transfer case positions shown in the illustration.
      Fig 31: Locating Transfer Case Straight Pins
      G06045923Courtesy of © TOYOTA, LICENSE AGREEMENT TMS1002
  22. INSTALL TRANSFER DYNAMIC DAMPER 
    1. Install the transfer dynamic damper with the 3 bolts to the transfer extension housing sub-assembly.

      Torque: 26 N*m (260 kgf*cm, 19 ft.*lbf) 

      Fig 32: Locating Transfer Dynamic Damper Bolts
      G06045865Courtesy of © TOYOTA, LICENSE AGREEMENT TMS1002
  23. INSTALL TRANSFER CASE BREATHER PLUG 
    1. Using SST and a hammer, tap in a new breather plug.

      SST 09612-10093 (09612-10061) 

      Fig 33: Tapping In Breather Plug
      G06025278Courtesy of © TOYOTA, LICENSE AGREEMENT TMS1002
  24. INSTALL BREATHER OIL DEFLECTOR 
    1. Install the breather oil deflector with the bolt.

      Torque: 6.5 N*m (66 kgf*cm, 58 in.*lbf) 

      Fig 34: Locating Breather Oil Deflector Bolt
      G06025279Courtesy of © TOYOTA, LICENSE AGREEMENT TMS1002
  25. INSTALL NO. 1 TRANSFER CASE COVER 
    1. Remove any FIPG material and be careful not to drop oil on the contact surfaces of the No. 1 transfer case cover and the transfer case.
    2. Degrease the surface with a non-residue solvent.
    3. Apply FIPG to the No. 1 transfer case cover.

      FIPG: 

      Toyota Genuine Seal Packing 1281, Three Bond 1281 or equivalent 

      Fig 35: Applying FIPG To No. 1 Transfer Case Cover
      G06025280Courtesy of © TOYOTA, LICENSE AGREEMENT TMS1002
    4. Install the No. 1 transfer case cover with the 8 bolts.

      Torque: 20 N*m (200 kgf*cm, 14 ft.*lbf) 

      NOTE:
      • Wait for at least one hour after installing the No. 1 transfer case cover before adding transfer oil.
      • Assemble the No. 1 transfer case cover within 10 minutes after the FIPG application.
        Fig 36: Identifying No. 1 Transfer Case Cover Bolts
        G06045928Courtesy of © TOYOTA, LICENSE AGREEMENT TMS1002
  26. INSTALL TRANSFER DRAIN PLUG 
    1. Install a new gasket to the transfer drain plug.
    2. Install the transfer drain plug to the transfer assembly.

      Torque: 49 N*m (500 kgf*cm, 36 ft.*lbf) 

      Fig 37: Locating Transfer Drain Plug
      G06045860Courtesy of © TOYOTA, LICENSE AGREEMENT TMS1002
  27. INSTALL NO. 1 TRANSFER CASE PLUG 
    1. Install a new gasket to the No. 1 transfer case plug.
    2. Install the No. 1 transfer case plug to the transfer assembly.

      Torque: 49 N*m (500 kgf*cm, 36 ft.*lbf) 

      Fig 38: Locating No. 1 Transfer Case Plug
      G06045859Courtesy of © TOYOTA, LICENSE AGREEMENT TMS1002
  28. INSTALL NO. 2 TRANSFER CASE PLUG 
    1. Install a new gasket to the No. 2 transfer case plug.
    2. Install the No. 2 transfer case plug to the transfer assembly.

      Torque: 49 N*m (500 kgf*cm, 36 ft.*lbf) 

  29. INSTALL TRANSFER AND TRANSAXLE SETTING STUD BOLT 
    1. Install the 4 transfer and transaxle setting stud bolts to the transfer case positions shown in the illustration.

      Torque: 39 N*m (400 kgf*cm, 29 ft.*lbf) 

      Fig 39: Locating No. 2 Transfer Case Plug
      G06045858Courtesy of © TOYOTA, LICENSE AGREEMENT TMS1002

      HINT:

      Install the shorter end of the stud bolts to the transfer.

      Fig 40: Locating Transaxle Setting Stud Bolts
      G06045932Courtesy of © TOYOTA, LICENSE AGREEMENT TMS1002

      Stud bolt length: 

      a: 30 mm (1.1811 in.) 

      b: 12 mm (0.4724 in.) 

      c: 22 mm (0.8661 in.)