LEMON Manuals: Even more car manuals for everyone
Home >> Toyota >> 2009 >> Matrix Base, Automatic >> Repair and Diagnosis >> External Pages >> Different car >> Section 63 (Brake Control System (Service Information)) >> Rear Speed Sensor >> Installation (From 12/2010) >> Installation

Installation (From 12/2010): Installation

WARNING: This page is about a different car, the 2011 Toyota Avalon. However, it is still accessible from the selected car via links, so may be relevant.
  1. INSTALL REAR SPEED SENSOR 
    1. Clean the contact surface of the axle hub and a new skid control sensor.
      Fig 1: Identifying Skid Control Sensor On Axle Hub
      GTY307815Courtesy of © TOYOTA, LICENSE AGREEMENT TMS1002
      NOTE:

      Prevent foreign matter from attaching to the sensor rotor.

    2. Place the skid control sensor on the axle hub so that the connector is positioned as shown in the illustration.
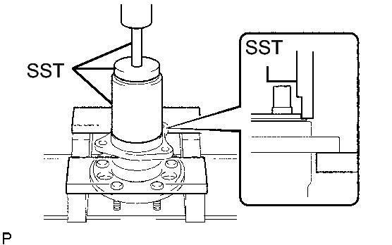
    3. Using SST and a press, install the skid control sensor to the axle hub.
      Fig 2: Installing Skid Control Sensor To Axle Hub Using SST
      GTY307829Courtesy of © TOYOTA, LICENSE AGREEMENT TMS1002
      • SST: 09830-36010 
      • SST: 09950-60010 
        • 09951-00650
      • SST: 09950-70010 
        • 09951-07100
      NOTE:
      • Do not tap the skid control sensor with a hammer directly.
      • Check that there should be no foreign matter on the skid control sensor detection portion.
      • Press the skid control sensor in the axle hub straight and slowly.
  2. INSTALL REAR AXLE HUB & BEARING ASSEMBLY LH 
    1. Install the rear axle hub & bearing assembly with the 4 bolts.
      Fig 3: Locating Rear Axle Hub Bolts
      GTY167737Courtesy of © TOYOTA, LICENSE AGREEMENT TMS1002

      Torque: 80 N*m (816 kgf*cm, 59 ft.*lbf) 

  3. INSTALL REAR DISC 
  4. INSTALL REAR DISC BRAKE CALIPER ASSEMBLY LH  . Refer to INSTALLATION - Step 10
  5. CONNECT SKID CONTROL SENSOR WIRE 
    1. Connect the connector to the skid control sensor.
      Fig 4: Locating Skid Control Sensor Connector
      GTY208915Courtesy of © TOYOTA, LICENSE AGREEMENT TMS1002
  6. INSTALL REAR WHEEL 

    Torque: 103 N*m (1,050 kgf*cm, 76 ft.*lbf) 

  7. INSPECT REAR WHEEL ALIGNMENT 
  8. CHECK FOR SPEED SENSOR SIGNAL 
    1. Check for speed sensor signal. Refer to TEST MODE PROCEDURE .