LEMON Manuals: Even more car manuals for everyone
Home >> Toyota >> 2009 >> Matrix Base, Automatic >> Repair and Diagnosis >> External Pages >> Different car >> Section 60 (Can Communication System (Diagnostics & Circuit Tests)) >> Can Communication System >> Circuit Tests >> Check CAN Bus Line for Short to +B (TO 12/2010) >> Wiring Diagram

Check CAN Bus Line for Short to +B (TO 12/2010): Wiring Diagram

WARNING: This page is about a different car, the 2011 Toyota Avalon. However, it is still accessible from the selected car via links, so may be relevant.
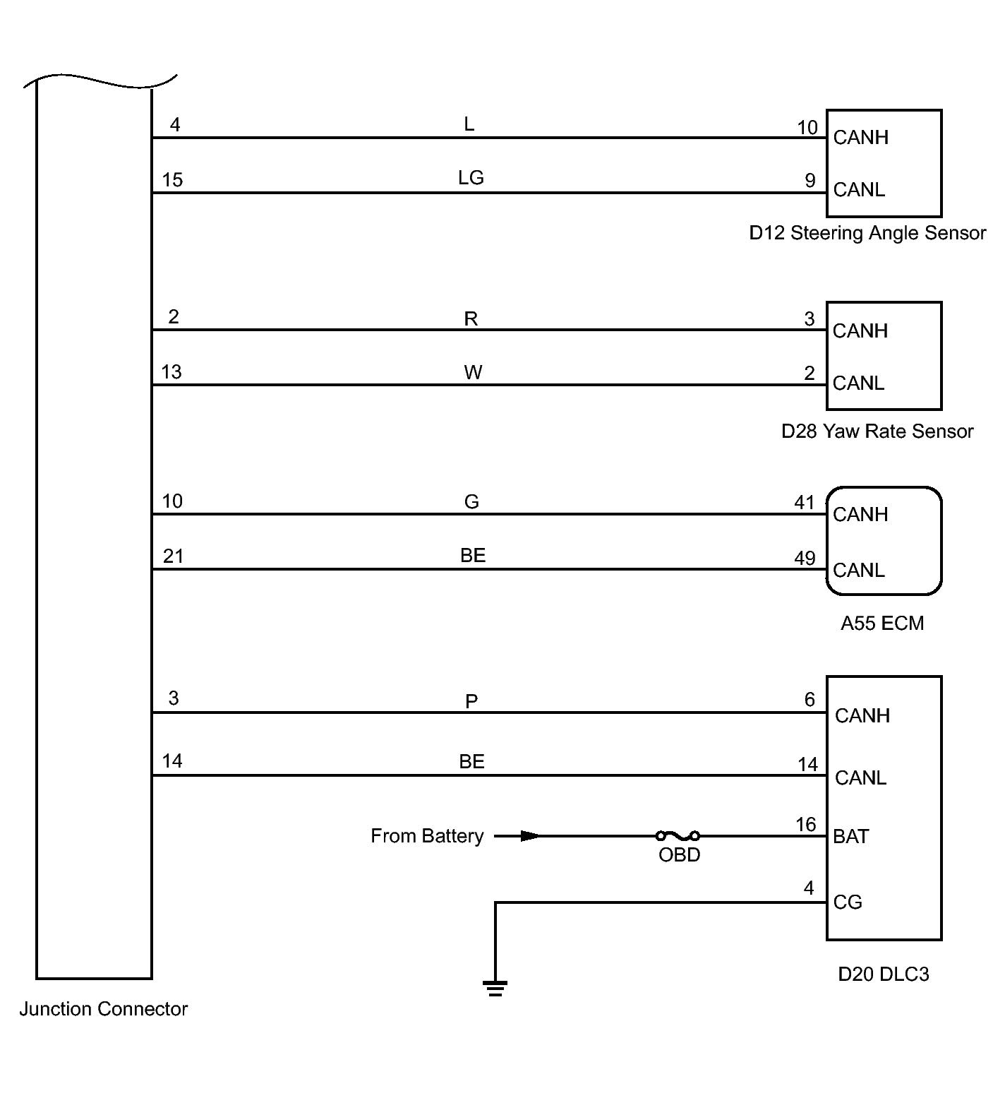
Fig 1: Network Gateway ECU (With Navigation system) - Wiring Diagram (1 Of 2)
GTY301273Courtesy of © TOYOTA, LICENSE AGREEMENT TMS1002
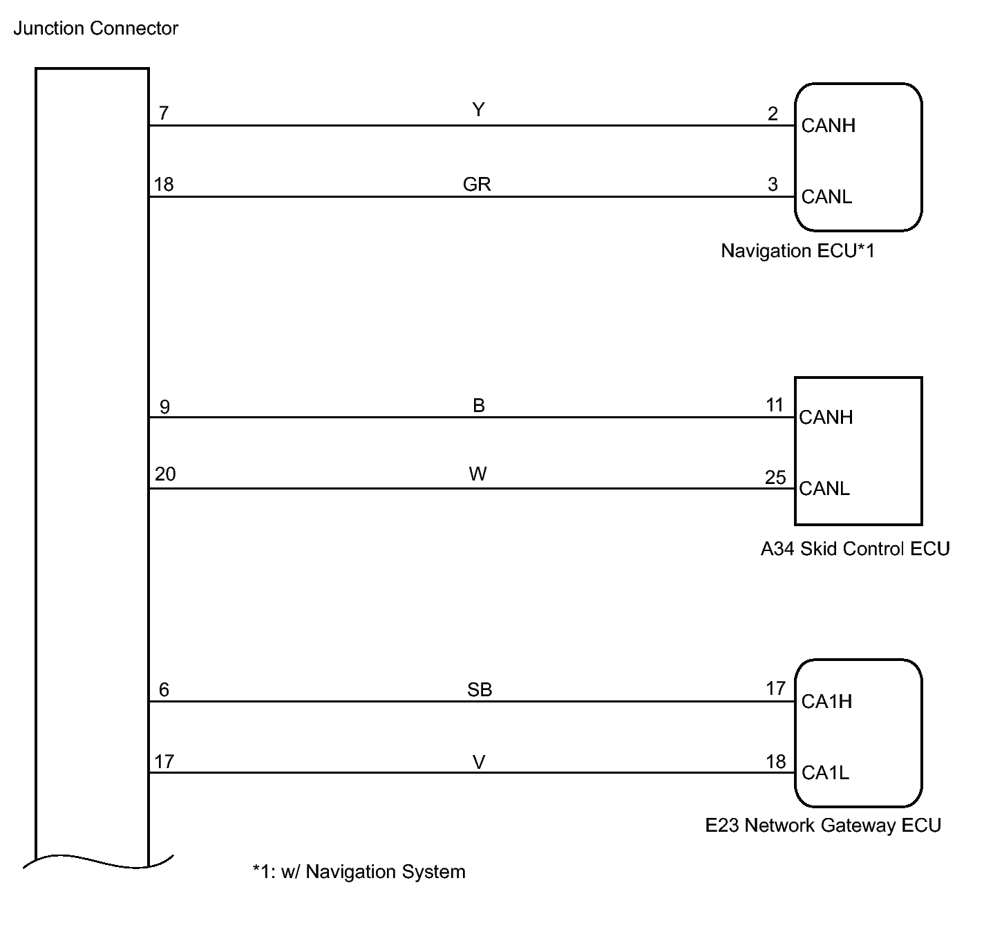
Fig 2: Network Gateway ECU (With Navigation system) - Wiring Diagram (2 Of 2)
GTY294905Courtesy of © TOYOTA, LICENSE AGREEMENT TMS1002