LEMON Manuals: Even more car manuals for everyone
Home >> Toyota >> 2009 >> Matrix Base, Automatic >> Repair and Diagnosis >> Engine Performance >> Engine Control System (2ZR-FE) >> SFI System >> Cranking Holding Function Circuit >> Inspection Procedure

Inspection Procedure

  1. READ VALUE USING TECHSTREAM (STARTER SIGNAL) 
    1. Connect the Techstream to the DLC3.
    2. Turn the ignition switch to ON.
    3. Turn the Techstream ON.
    4. Enter the following menus: Powertrain / Engine and ECT / Data List / Starter Signal.
    5. Move the shift lever to the P or N position (for automatic transaxle models).
    6. Fully depress the clutch pedal (for manual transaxle models).
    7. Check the result when the ignition switch is turned ON and START positions.

      OK 

      IGNITION SWITCH CONDITION CHART

      Ignition Switch Condition Techstream Display (Starter Signal)
      Ignition switch ON OFF
      START ON

      Result 

      RESULT CHART

      Result Proceed to
      NG A
      OK B

      B: Go to step  17

      A: Go to next step 

  2. INSPECT ECM (STSW TERMINAL VOLTAGE) 
    1. Disconnect the ECM connector.
    2. Crank the engine.
    3. Measure the voltage according to the value(s) in the table below.

      Standard Voltage 

      TESTER CONNECTION SPECIFIED CONDITION CHART

      Tester Connection Switch Condition Specified Condition
      A37-14 (STSW) - Body ground Ignition switch ON Below 1 V
      A37-14 (STSW) - Body ground START 9 to 13 V
    4. Reconnect the ECM connector.

      HINT:

      DTCs related to the communication with other computers may be set due to this inspection. Clear those DTCs after inspection.

      NG: Go to step  14

      Fig 1: Identifying A37 ECM Connector
      G06040725Courtesy of © TOYOTA, LICENSE AGREEMENT TMS1002

      OK: Go to next step 

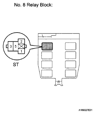
  3. INSPECT RELAY (ST RELAY VOLTAGE) 
    1. Remove the ST relay from the No. 8 relay block.
    2. Move the shift lever the P or N position (for automatic transaxle models).
    3. Fully depress the clutch pedal (for manual transaxle models).
    4. Crank the engine.
    5. Measure the voltage according to the value(s) in the table below.

      Standard Voltage 

      TESTER CONNECTION SPECIFIED CONDITION CHART

      Tester Connection Switch Condition Specified Condition
      ST relay terminal 1 - Body ground ON Below 1 V
      ST relay terminal 1 - Body ground START 9 to 13 V
    6. Reinstall the ST relay.

      Result 

      RESULT CHART

      Result Proceed to
      OK (for automatic transaxle models) A
      OK (for manual transaxle models) B
      NG (for automatic transaxle models) C
      NG (for manual transaxle models) D
      Fig 2: Identifying ST Relay
      G06040726Courtesy of © TOYOTA, LICENSE AGREEMENT TMS1002

      B: Go to step  5

      C: Go to step  6

      D: Go to step  10

      A: Go to next step 

  4. CHECK HARNESS AND CONNECTOR (PARK/NEUTRAL POSITION SWITCH - ECM) 
    1. Disconnect the ECM connector.
    2. Disconnect the park/neutral position switch assembly connector.
    3. Measure the resistance according to the value(s) in the table below.

      Standard Resistance (Check for open) 

      TESTER CONNECTION SPECIFIED CONDITION CHART

      Tester Connection Condition Specified Condition
      B13-5 - A37-48 (STA) Always Below 1 Ω

      Standard Resistance (Check for short) 

      TESTER CONNECTION SPECIFIED CONDITION CHART

      Tester Connection Condition Specified Condition
      B13-5 or A37-48 (STA) - Body ground Always 10 kΩ or higher
    4. Reconnect the ECM connector.
    5. Reconnect the park/neutral position switch assembly connector.

      NG: REPAIR OR REPLACE HARNESS OR CONNECTOR (PARK/NEUTRAL POSITION SWITCH - ECM) 

      Fig 3: Identifying ECM Connector And Park/Neutral Position Switch Assembly Connector
      G06040145Courtesy of © TOYOTA, LICENSE AGREEMENT TMS1002

      OK: REPLACE ECM  (See REMOVAL )

  5. CHECK HARNESS AND CONNECTOR (CLUTCH PEDAL SWITCH - ECM) 
    1. Disconnect the ECM connector.
    2. Disconnect the clutch pedal switch connector.
    3. Measure the resistance according to the value(s) in the table below.

      Standard Resistance (Check for Open) 

      TESTER CONNECTION SPECIFIED CONDITION CHART

      Tester Connection Condition Specified Condition
      A4-1 - A37-48 (STA) Always Below 1 Ω

      Standard Resistance (Check for Short) 

      TESTER CONNECTION SPECIFIED CONDITION CHART

      Tester Connection Condition Specified Condition
      A4-1 or A37-48 (STA) - Body ground Always 10 kΩ or higher
    4. Reconnect the ECM connector.
    5. Reconnect the clutch pedal switch connector.

      NG: REPAIR OR REPLACE HARNESS OR CONNECTOR (CLUTCH PEDAL SWITCH - ECM) 

      Fig 4: Identifying ECM Connector And Clutch Pedal Switch Connector
      G06040138Courtesy of © TOYOTA, LICENSE AGREEMENT TMS1002

      OK: REPLACE ECM  (See REMOVAL )

  6. INSPECT PARK/NEUTRAL POSITION SWITCH 
    1. Inspect the park/neutral position switch (See REMOVAL ).

      NG: REPLACE PARK/NEUTRAL POSITION SWITCH  (See REMOVAL )

      OK: Go to next step 

  7. CHECK HARNESS AND CONNECTOR (IGNITION SWITCH ASSEMBLY - PARK/NEUTRAL POSITION SWITCH) 
    1. Disconnect the park/neutral position switch connector.
    2. Disconnect the ignition switch assembly connector.
    3. Measure the resistance according to the value(s) in the table below.

      Standard Resistance (Check for Open) 

      TESTER CONNECTION SPECIFIED CONDITION CHART

      Tester Connection Condition Specified Condition
      E5-8 (ST2) (+) - B13-4 (-) Always Below 1 Ω
      E5-8 (ST2) (-) - B13-4 (+) Always 10 kΩ or higher

      Standard Resistance (Check for Short) 

      TESTER CONNECTION SPECIFIED CONDITION CHART

      Tester Connection Condition Specified Condition
      E5-8 (ST2) or B13-4 - Body ground Always 10 kΩ or higher

      HINT:

      When measuring the resistance, it is necessary to reverse the positive (+) and negative (-) tester probes because there is a diode in the wire harness.

    4. Reconnect the park/neutral position switch connector.
    5. Reconnect the ignition switch assembly connector.

      NG: REPAIR OR REPLACE HARNESS OR CONNECTOR (IGNITION SWITCH ASSEMBLY - PARK/NEUTRAL POSITION SWITCH) 

      Fig 5: Identifying Park/Neutral Position Switch Connector And Ignition Switch Assembly Connector
      G06040729Courtesy of © TOYOTA, LICENSE AGREEMENT TMS1002

      OK: Go to next step 

  8. CHECK HARNESS AND CONNECTOR (IGNITION SWITCH ASSEMBLY - ECM) 
    1. Disconnect the ECM connector.
    2. Disconnect the ignition switch assembly connector.
    3. Measure the resistance according to the value(s) in the table below.

      Standard Resistance (Check for Open) 

      TESTER CONNECTION SPECIFIED CONDITION CHART

      Tester Connection Condition Specified Condition
      E5-8 (ST2) - B29-52 (STAR) Always Below 1 Ω

      Standard Resistance (Check for Short) 

      TESTER CONNECTION SPECIFIED CONDITION CHART

      Tester Connection Condition Specified Condition
      E5-8 (ST2) or B29-52 (STAR) - Body ground Always 10 kΩ or higher
    4. Reconnect the ECM connector.
    5. Reconnect the ignition switch assembly connector.

      NG: REPAIR OR REPLACE HARNESS OR CONNECTOR (IGNITION SWITCH ASSEMBLY - ECM) 

      Fig 6: Identifying ECM Connector And Ignition Switch Assembly Connector
      G06040730Courtesy of © TOYOTA, LICENSE AGREEMENT TMS1002

      OK: Go to next step 

  9. CHECK HARNESS AND CONNECTOR (ST RELAY - PARK/NEUTRAL POSITION SWITCH) 
    1. Disconnect the park/neutral position switch connector.
    2. Remove the ST relay from the No. 8 relay block.
    3. Measure the resistance according to the value(s) in the table below.

      Standard Resistance (Check for Open) 

      TESTER CONNECTION SPECIFIED CONDITION CHART

      Tester Connection Condition Specified Condition
      ST relay terminal 1 - B13-5 Always Below 1 Ω

      Standard Resistance (Check for Short) 

      TESTER CONNECTION SPECIFIED CONDITION CHART

      Tester Connection Condition Specified Condition
      ST relay terminal 1 or B13-5 - Body ground Always 10 kΩ or higher
    4. Reconnect the park/neutral position switch connector.
    5. Reinstall the ST relay.

      NG: REPAIR OR REPLACE HARNESS OR CONNECTOR (ST RELAY - PARK/NEUTRAL POSITION SWITCH) 

      Fig 7: Identifying Park/Neutral Position Switch Connector And ST Relay
      G06040141Courtesy of © TOYOTA, LICENSE AGREEMENT TMS1002

      OK: REPLACE ECM  (See REMOVAL )

  10. INSPECT CLUTCH PEDAL SWITCH 
    1. Inspect the clutch pedal switch (See REMOVAL ).

      NG: REPLACE CLUTCH PEDAL SWITCH  (See REMOVAL )

      OK: Go to next step 

  11. CHECK HARNESS AND CONNECTOR (IGNITION SWITCH ASSEMBLY - CLUTCH PEDAL SWITCH) 
    1. Disconnect the clutch pedal switch connector.
    2. Disconnect the ignition switch assembly connector.
    3. Measure the resistance according to the value(s) in the table below.

      Standard Resistance (Check for Open) 

      TESTER CONNECTION SPECIFIED CONDITION CHART

      Tester Connection Condition Specified Condition
      E5-8 (ST2) (+) - A4-2 (-) Always Below 1 Ω
      E5-8 (ST2) (-) - A4-2 (+) Always 10 kΩ or higher

      Standard Resistance (Check for Short) 

      TESTER CONNECTION SPECIFIED CONDITION CHART

      Tester Connection Condition Specified Condition
      E5-8 (ST2) or A4-2 - Body ground Always 10 kΩ or higher

      HINT:

      When measuring the resistance, it is necessary to reverse the positive (+) and negative (-) tester probes because there is a diode in the wire harness.

    4. Reconnect the clutch pedal switch connector.
    5. Reconnect the ignition switch assembly connector.

      NG: REPAIR OR REPLACE HARNESS OR CONNECTOR (IGNITION SWITCH ASSEMBLY - CLUTCH PEDAL SWITCH) 

      Fig 8: Identifying Clutch Pedal Switch Connector And Ignition Switch Assembly Connector
      G06040732Courtesy of © TOYOTA, LICENSE AGREEMENT TMS1002

      OK: Go to next step 

  12. CHECK HARNESS AND CONNECTOR (IGNITION SWITCH ASSEMBLY - ECM) 
    1. Disconnect the ECM connector.
    2. Disconnect the ignition switch assembly connector.
    3. Measure the resistance according to the value(s) in the table below.

      Standard Resistance (Check for Open) 

      TESTER CONNECTION SPECIFIED CONDITION CHART

      Tester Connection Condition Specified Condition
      E5-8 (ST2) - B29-52 (STAR) Always Below 1 Ω

      Standard Resistance (Check for Short) 

      TESTER CONNECTION SPECIFIED CONDITION CHART

      Tester Connection Condition Specified Condition
      E5-8 (ST2) or B29-52 (STAR) - Body ground Always 10 kΩ or higher
    4. Reconnect the ECM connector.
    5. Reconnect the ignition switch assembly connector.

      NG: REPAIR OR REPLACE HARNESS OR CONNECTOR (IGNITION SWITCH ASSEMBLY - ECM) 

      Fig 9: Identifying ECM Connector And Ignition Switch Assembly Connector
      G06040733Courtesy of © TOYOTA, LICENSE AGREEMENT TMS1002

      OK: Go to next step 

  13. CHECK HARNESS AND CONNECTOR (ST RELAY - CLUTCH PEDAL SWITCH) 
    1. Disconnect the clutch pedal switch connector.
    2. Remove the ST relay from the No. 8 relay block.
    3. Measure the resistance according to the value(s) in the table below.

      Standard Resistance (Check for Open) 

      TESTER CONNECTION SPECIFIED CONDITION CHART

      Tester Connection Condition Specified Condition
      ST relay terminal 1 - A4-1 Always Below 1 Ω

      Standard Resistance (Check for Short) 

      TESTER CONNECTION SPECIFIED CONDITION CHART

      Tester Connection Condition Specified Condition
      ST relay terminal 1 or A4-1 - Body ground Always 10 kΩ or higher
    4. Reconnect the clutch pedal switch connector.
    5. Reinstall the ST relay.

      NG: REPAIR OR REPLACE HARNESS OR CONNECTOR (ST RELAY - CLUTCH PEDAL SWITCH) 

      Fig 10: Identifying Clutch Pedal Switch Connector And ST Relay
      G06040135Courtesy of © TOYOTA, LICENSE AGREEMENT TMS1002

      OK: REPLACE ECM  (See REMOVAL )

  14. INSPECT FUSE (AM2 NO. 2 FUSE) 
    1. Remove the AM2 No. 2 fuse from the engine room relay block.
    2. Measure the resistance according to the value(s) in the table below.

      Standard Resistance 

      TESTER CONNECTION SPECIFIED CONDITION CHART

      Tester Connection Condition Specified Condition
      AM2 No. 2 fuss Always Below 1 Ω
    3. Reinstall the AM2 No. 2 fuse.

      NG: CHECK FOR SHORTS IN ALL HARNESSES AND CONNECTORS CONNECTED TO FUSE AND REPLACE FUSE 

      Fig 11: Identifying AM2 No. 2 Fuse
      G06008055Courtesy of © TOYOTA, LICENSE AGREEMENT TMS1002

      OK: Go to next step 

  15. INSPECT IGNITION SWITCH ASSEMBLY 
    1. Inspect the ignition switch assembly (See INSPECTION ).

      NG: REPLACE IGNITION SWITCH ASSEMBLY  (See REMOVAL )

      OK: Go to next step 

  16. CHECK HARNESS AND CONNECTOR (AM2 TERMINAL VOLTAGE) 
    1. Disconnect the ignition switch assembly connector.
    2. Measure the voltage according to the value(s) in the table below.

      Standard Voltage 

      TESTER CONNECTION SPECIFIED CONDITION CHART

      Tester Connection Condition Specified Condition
      E5-7 (AM2) - Body ground Always 11 to 14 V
    3. Reconnect the ignition switch assembly connector.

      NG: REPAIR OR REPLACE HARNESS OR CONNECTOR (BATTERY - IGNITION SWITCH ASSEMBLY) 

      Fig 12: Identifying E5 Ignition Switch Assembly Connector
      G06040736Courtesy of © TOYOTA, LICENSE AGREEMENT TMS1002

      OK: REPAIR OR REPLACE HARNESS OR CONNECTOR (IGNITION SWITCH ASSEMBLY - ECM) 

  17. INSPECT ST RELAY (VOLTAGE) 
    1. Remove the ST relay from the No. 8 relay block.
    2. Move the shift lever to the P or N position (for automatic transaxle models).
    3. Fully depress the clutch pedal (for manual transaxle models).
    4. Crank the engine.
    5. Measure the voltage according to the value(s) in the table below.

      Standard Voltage 

      TESTER CONNECTION SPECIFIED CONDITION CHART

      Tester Connection Switch Condition Specified Condition
      ST relay terminal 1 - Body ground ON Below 1 V
      ST relay terminals 1 - Body ground START 9 to 13 V
    6. Reinstall the ST relay.

      Result 

      RESULT CHART

      Result Proceed to
      OK A
      NG (for automatic transaxle models) B
      NG (for manual transaxle models) C
      Fig 13: Identifying ST Relay
      G06040726Courtesy of © TOYOTA, LICENSE AGREEMENT TMS1002

      B: REPAIR OR REPLACE HARNESS OR CONNECTOR (ST RELAY - PARK/NEUTRAL POSITION SWITCH) 

      C: REPAIR OR REPLACE HARNESS OR CONNECTOR (ST RELAY - CLUTCH PEDAL SWITCH) 

      A: Go to next step 

  18. INSPECT RELAY (ST RELAY) 
    1. Remove the ST relay from No. 8 relay block.
    2. Measure the resistance according to the value(s) in the table below.

      Standard Resistance 

      TESTER CONNECTION SPECIFIED CONDITION CHART

      Tester Connection Switch Condition Specified Condition
      3 - 5 Always 10 kΩ or higher
      3 - 5 Apply battery voltage between terminal 1 and 2 Below 1 Ω
    3. Reinstall the ST relay.

      NG: REPLACE RELAY (ST RELAY) 

      Fig 14: ST Relay Circuit
      G04942976Courtesy of © TOYOTA, LICENSE AGREEMENT TMS1002

      OK: Go to next step 

  19. INSPECT ST RELAY (VOLTAGE) 
    1. Remove the ST relay from the No. 8 relay block.
    2. Measure the voltage according to the value(s) in the table below.

      Standard Voltage 

      TESTER CONNECTION SPECIFIED CONDITION CHART

      Tester Connection Switch Condition Specified Condition
      ST relay terminal 5 - Body ground Ignition switch ON 11 to 14 V
    3. Reinstall the ST relay.

      NG: REPAIR OR REPLACE HARNESS OR CONNECTOR (BATTERY - ST RELAY) 

      Fig 15: Identifying ST Relay
      G06040726Courtesy of © TOYOTA, LICENSE AGREEMENT TMS1002

      OK: Go to next step 

  20. CHECK HARNESS AND CONNECTOR (ST RELAY - BODY GROUND) 
    1. Remove the ST relay from the No. 8 relay block.
    2. Measure the resistance according to the value(s) in the table below.

      Standard Resistance (Check for Open) 

      TESTER CONNECTION SPECIFIED CONDITION CHART

      Tester Connection Condition Specified Condition
      ST relay terminal 2 - Body ground Always Below 1 Ω
    3. Reinstall the ST relay.

      NG: REPAIR OR REPLACE HARNESS OR CONNECTOR (ST RELAY - BODY GROUND) 

      Fig 16: Identifying ST Relay
      G06040726Courtesy of © TOYOTA, LICENSE AGREEMENT TMS1002

      OK: Go to next step 

  21. INSPECT STARTER ASSEMBLY 
    1. Inspect the starter assembly (See INSPECTION ).

      NG: REPLACE STARTER ASSEMBLY  (See REMOVAL )

      OK: REPAIR OR REPLACE HARNESS OR CONNECTOR (BATTERY - STARTER - ST RELAY)