LEMON Manuals: Even more car manuals for everyone
Home >> Toyota >> 2009 >> Matrix Base, Automatic >> Repair and Diagnosis >> Engine Performance >> Engine Control System (2ZR-FE) >> Integration Relay >> Inspection

Integration Relay: Inspection

  1. INSPECT INTEGRATION RELAY 
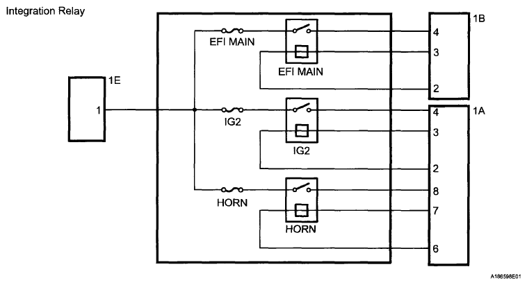
    Fig 1: Integration Relay Circuit Diagram
    G06007689Courtesy of © TOYOTA, LICENSE AGREEMENT TMS1002
    1. EFI MAIN RELAY:
      1. Measure the resistance according to the value(s) in the table below.
        Fig 2: Identifying EFI Main Relay Connector Terminals
        G06007690Courtesy of © TOYOTA, LICENSE AGREEMENT TMS1002

        Standard Resistance 

        TESTER CONNECTION SPECIFIED CONDITION CHART

        Tester Connection Condition Specified Condition
        Integration relay (1E-1) - Integration relay (1B-4) Battery voltage is not applied between terminals 1B-3 and 1B-2 10 kΩ or higher
        Integration relay (1E-1) - Integration relay (1B-4) Battery voltage is applied between terminals 1B-3 and 1B-2 Below 1 Ω

        If the resistance is not as specified, replace the integration relay.

    2. IG2 RELAY:
      1. Measure the resistance according to the value(s) in the table below.
        Fig 3: Identifying IG2 Relay Connector Terminals
        G06007690Courtesy of © TOYOTA, LICENSE AGREEMENT TMS1002

        Standard Resistance 

        TESTER CONNECTION SPECIFIED CONDITION CHART

        Tester Connection Condition Specified Condition
        Integration relay (1E-1) - Integration relay (1A-4) Battery voltage is not applied between terminals 1A-2 and 1A-3 10 kΩ or higher
        Integration relay (1E-1) - Integration relay (1A-4) Battery voltage is applied between terminals 1A-2 and 1A-3 Below 1 Ω

        If the resistance is not as specified, replace the integration relay.

    3. HORN RELAY:
      1. Measure the resistance according to the value(s) in the table below.
        Fig 4: Identifying Horn Relay Connector Terminals
        G06007690Courtesy of © TOYOTA, LICENSE AGREEMENT TMS1002

        Standard Resistance 

        TESTER CONNECTION SPECIFIED CONDITION CHART

        Tester Connection Condition Specified Condition
        Integration relay (1E-1) - Integration relay (1A-8) Battery voltage is not applied between terminals 1A-6 and 1A-7 10 kΩ or higher
        Integration relay (1E-1) - Integration relay (1A-8) Battery voltage is applied between terminals 1A-6 and 1A-7 Below 1 Ω

        If the resistance is not as specified, replace the integration relay.