LEMON Manuals: Even more car manuals for everyone
Home >> Toyota >> 2009 >> Matrix Base, Automatic >> Repair and Diagnosis >> Brakes >> Traction Control >> Brake Control/Dynamic Control System >> Vehicle Stability Control System >> Skid Control Buzzer Circuit >> Wiring Diagram

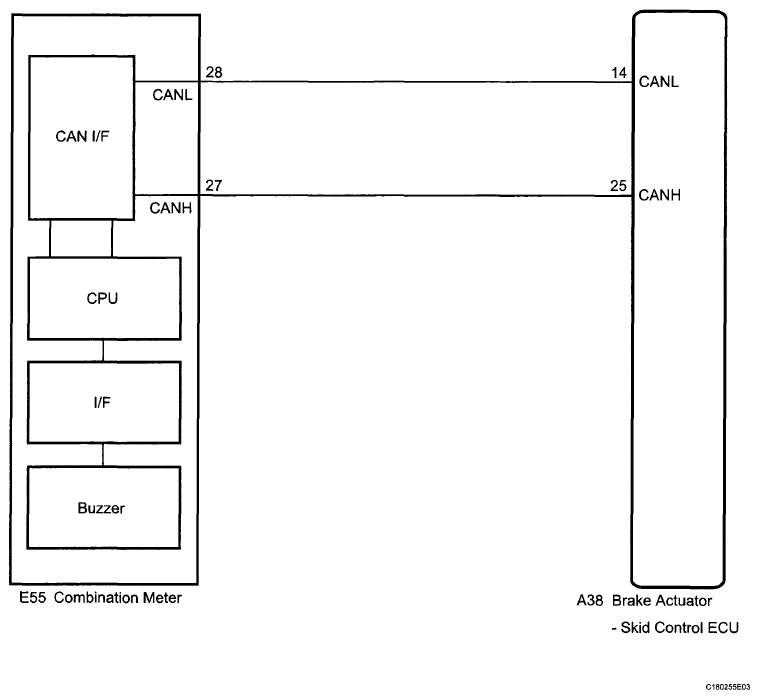
Skid Control Buzzer Circuit: Wiring Diagram

Fig 1: Skid Control Buzzer - Wiring Diagram
G06035054Courtesy of © TOYOTA, LICENSE AGREEMENT TMS1002