LEMON Manuals: Even more car manuals for everyone
Home >> Toyota >> 2009 >> Matrix Base, Automatic >> Repair and Diagnosis >> Brakes >> Traction Control >> Brake Control/Dynamic Control System >> Anti-Lock Brake System >> DTC C0273/13 Open in ABS Motor Relay Circuit; DTC C0274/14 Short to B+ in ABS Motor Relay Circuit >> Wiring Diagram

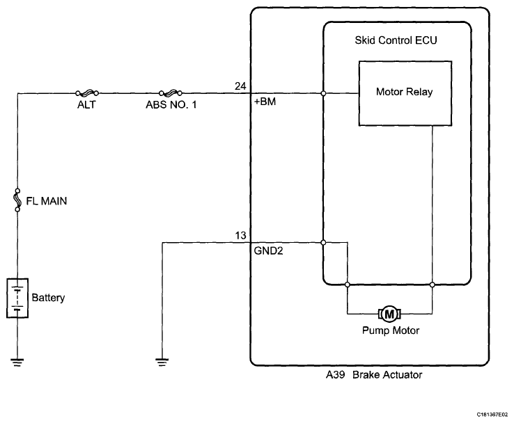
DTC C0273/13 Open in ABS Motor Relay Circuit; DTC C0274/14 Short to B+ in ABS Motor Relay Circuit: Wiring Diagram

Fig 1: ABS Motor Relay - Wiring Diagram
G06034898Courtesy of © TOYOTA, LICENSE AGREEMENT TMS1002