LEMON Manuals: Even more car manuals for everyone
Home >> Toyota >> 2009 >> Land Cruiser >> Repair and Diagnosis >> General Information >> Identification >> Introduction >> Repair Instruction >> Precaution

Repair Instruction: Precaution

  1. BASIC REPAIR HINT 
    1. HINTS ON OPERATIONS
      Fig 1: Precaution For - Basic Repair Hint
      G05637244Courtesy of © TOYOTA, LICENSE AGREEMENT TMS1002
    2. JACKING UP AND SUPPORTING VEHICLE
      1. Care must be taken when jacking up and supporting the vehicle. Be sure to lift and support the vehicle at the proper locations.
    3. PRECOATED PARTS
      1. Precoated parts are bolts and nuts that are coated with a seal lock adhesive at the factory.
      2. If a precoated part is retightened, loosened or moved in any way, it must be recoated with the specified adhesive.
      3. When reusing a precoated part, clean off the old adhesive and dry the part with compressed air. Then apply new seal lock adhesive appropriate to that part.
      4. Some seal lock agents harden slowly. You may have to wait for the seal lock adhesive to harden.
        Fig 2: Identifying Seal Lock Adhesive
        G05188531Courtesy of © TOYOTA, LICENSE AGREEMENT TMS1002
    4. GASKETS
      1. When necessary, use a sealer on gaskets to prevent leaks.
    5. BOLTS, NUTS AND SCREWS
      1. Carefully follow all the specifications for tightening torques. Always use a torque wrench.
    6. FUSES
      1. When inspecting a fuse, check that the wire of the fuse is not broken.
      2. When replacing fuses, be sure that the new fuse has the correct amperage rating. Do not exceed the rating or use one with a lower rating.
        Fig 3: Identifying Fuses
        G04947314Courtesy of © TOYOTA, LICENSE AGREEMENT TMS1002
        ILLUSTRATION CHART

        Illustration Symbol Part Name Abbreviation
        G05637247Courtesy of © TOYOTA, LICENSE AGREEMENT TMS1002
        G05637248Courtesy of © TOYOTA, LICENSE AGREEMENT TMS1002
        FUSE FUSE
        G05637249Courtesy of © TOYOTA, LICENSE AGREEMENT TMS1002
        G05637250Courtesy of © TOYOTA, LICENSE AGREEMENT TMS1002
        MEDIUM CURRENT FUSE M-FUSE
        G05637251Courtesy of © TOYOTA, LICENSE AGREEMENT TMS1002
        G05637252Courtesy of © TOYOTA, LICENSE AGREEMENT TMS1002
        HIGH CURRENT FUSE H-FUSE
        G05637253Courtesy of © TOYOTA, LICENSE AGREEMENT TMS1002
        G05637254Courtesy of © TOYOTA, LICENSE AGREEMENT TMS1002
        FUSIBLE LINK FL
        G05637255Courtesy of © TOYOTA, LICENSE AGREEMENT TMS1002
        G05637256Courtesy of © TOYOTA, LICENSE AGREEMENT TMS1002
        CIRCUIT BREAKER CB
    7. clips
      1. The removal and installation methods of typical clips used for vehicle body parts are shown in the table below.

        HINT:

        If clips are damaged during a procedure, always replace the clips with new clips.

        ILLUSTRATION CHART

        Shape (Example) Illustration Procedures
        G05637257Courtesy of © TOYOTA, LICENSE AGREEMENT TMS1002
        G05637258Courtesy of © TOYOTA, LICENSE AGREEMENT TMS1002
        Remove clips with a clip remover or pliers.
        G05637259Courtesy of © TOYOTA, LICENSE AGREEMENT TMS1002
        G05637260Courtesy of © TOYOTA, LICENSE AGREEMENT TMS1002
        Remove clips with a clip remover or screwdriver.
        G05637261Courtesy of © TOYOTA, LICENSE AGREEMENT TMS1002
        G05637262Courtesy of © TOYOTA, LICENSE AGREEMENT TMS1002
        Remove clips with a wide scraper to prevent panel damage.
        G05637263Courtesy of © TOYOTA, LICENSE AGREEMENT TMS1002
        G05637264Courtesy of © TOYOTA, LICENSE AGREEMENT TMS1002
        Remove clips by pushing the center pin through and prying out the shell.
        G05637265Courtesy of © TOYOTA, LICENSE AGREEMENT TMS1002
        G05637266Courtesy of © TOYOTA, LICENSE AGREEMENT TMS1002
        Remove clips by unscrewing the center pin and prying out the shell.
        G05637267Courtesy of © TOYOTA, LICENSE AGREEMENT TMS1002
        G05637268Courtesy of © TOYOTA, LICENSE AGREEMENT TMS1002
        Remove clips by prying out the pin and then prying out the shell.
    8. CLAWS
      1. The removal and installation methods of typical claws used for vehicle body parts are shown in the table below.

        HINT:

        If claws of caps or covers are damaged during a procedure, always replace the caps or covers with new ones.

        ILLUSTRATION CHART

        Shape (Example) Illustration Procedures
        G05637269Courtesy of © TOYOTA, LICENSE AGREEMENT TMS1002
        G05637270Courtesy of © TOYOTA, LICENSE AGREEMENT TMS1002
        Using a screwdriver, detach the claws and remove the caps or covers.
        G05637271Courtesy of © TOYOTA, LICENSE AGREEMENT TMS1002
        G05637272Courtesy of © TOYOTA, LICENSE AGREEMENT TMS1002
        Using a screwdriver, detach the claws and remove the caps or covers.
        G05637273Courtesy of © TOYOTA, LICENSE AGREEMENT TMS1002
        G05637274Courtesy of © TOYOTA, LICENSE AGREEMENT TMS1002
        Using a screwdriver, detach the claws and remove the caps or covers.
    9. HINGE, GUIDE, CLAMP, PIN ETC.
      1. The removal and installation methods of typical hinges, guides, clamps and pins used for vehicle body parts are shown in the table below.

        HINT:

        If clamps are damaged during a procedure, always replace the cap or cover that has damaged clamps with a new one.

        ILLUSTRATION CHART

        Shape (Example) Illustration Procedures
        G05637275Courtesy of © TOYOTA, LICENSE AGREEMENT TMS1002
        G05637276Courtesy of © TOYOTA, LICENSE AGREEMENT TMS1002
        Disengage the pins by pulling.
        G05637277Courtesy of © TOYOTA, LICENSE AGREEMENT TMS1002
        G05637278Courtesy of © TOYOTA, LICENSE AGREEMENT TMS1002
        Disengage the pins by pulling.
        G05637279Courtesy of © TOYOTA, LICENSE AGREEMENT TMS1002
        G05637280Courtesy of © TOYOTA, LICENSE AGREEMENT TMS1002
        Remove the clamps with pliers.
        G05637281Courtesy of © TOYOTA, LICENSE AGREEMENT TMS1002
        G05637282Courtesy of © TOYOTA, LICENSE AGREEMENT TMS1002
        Disengage the pins by pulling.
    10. REMOVAL AND INSTALLATION OF VACUUM HOSES
      1. To disconnect a vacuum hose, pull and twist from the end of the hose. Do not pull from the middle of the hose as this may cause damage.
        Fig 4: Precaution For - Vacuum Hoses
        G04947343Courtesy of © TOYOTA, LICENSE AGREEMENT TMS1002
      2. When disconnecting vacuum hoses, use tags to identify where they should be reconnected.
      3. After completing any hose related repairs, double check that the vacuum hoses are properly connected. The label under the hood shows the proper layout.
      4. When using a vacuum gauge, never force the hose onto a connector that is too large. If a hose has been stretched, it may leak air. Use a step-down adapter if necessary.
        Fig 5: Identifying Vacuum Hoses With Tags
        G04947344Courtesy of © TOYOTA, LICENSE AGREEMENT TMS1002
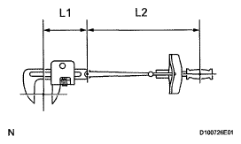
    11. TORQUE WHEN USING TORQUE WRENCH WITH EXTENSION TOOL
      Fig 6: Identifying Torque Wrench With Extension Tool Length
      G04947345Courtesy of © TOYOTA, LICENSE AGREEMENT TMS1002
      1. Use the formula below to calculate special torque values for situations where SST or an extension tool is combined with a torque wrench.

        Formula: 

        T' = L2 / (L1 + L2) * T 

        Fig 7: Identifying Torque Wrench With Extension Tool Length
        G05637286Courtesy of © TOYOTA, LICENSE AGREEMENT TMS1002
        TORQUE WRENCH LENGTH SPECIFICATION

        T' Reading of torque wrench {N*m (kgf*cm, ft.*lbf)}
        T Torque {N*m (kgf*cm, ft.*lbf)}
        L1 Length of SST or extension tool {cm (in.)}
        L2 Length of torque wrench {cm (in.)}
        NOTE: If an extension tool or SST is combined with a torque wrench and the wrench is used to tighten to a torque specification in this manual, the actual torque will be excessive and parts will be damaged.
  2. FOR VEHICLES WITH SUPPLEMENTAL RESTRAINT SYSTEM 

    The LAND CRUISER is equipped with a Supplemental Restraint System (SRS). The SRS of this vehicle consists of the following:

    1. Steering pad
    2. Front passenger airbag assembly
    3. Curtain shield airbag assembly
    4. Front seat side airbag assembly
    5. Knee airbag assembly
    6. Center airbag sensor assembly
    7. Front airbag sensor
    8. Side airbag sensor
    9. Seat position airbag sensor
    10. Occupant classification ECU
    11. Front seat outer belt assembly with pretensioner
    CAUTION:
    • Failure to carry out service procedures in the correct sequence could cause SRS parts to unexpectedly deploy and possibly lead to serious injuries. Furthermore, if a mistake is made when servicing SRS parts, they may fail to operate when required. Before performing servicing (including installation/removal, inspection and replacement of parts), be sure to read the following precautions.
    • Before starting work, wait at least 90 seconds after the engine switch is turned off and after the cable is disconnected from the negative (-) battery terminal. (SRS parts are equipped with a backup power source. If work is started within 90 seconds of turning the engine switch off and disconnecting the cable from the negative (-) battery terminal, SRS parts may deploy).
    • Do not expose SRS parts directly to hot air or flames.
    NOTE:
    • Malfunction symptoms of SRS parts are difficult to confirm. DTCs are the most important source of information when troubleshooting. During troubleshooting, always confirm DTCs before disconnecting the cable from the negative (-) battery terminal.
    • For minor collisions where SRS parts do not deploy, always inspect the SRS parts.
    • Before performing repairs, remove airbag sensors as necessary if any kind of impact is likely to occur to an airbag sensor during repairs.
    • Never use SRS parts from another vehicle. When replacing SRS parts, replace them with new ones.
    • Never disassemble or attempt to repair SRS parts.
    • If an SRS part has been dropped, or if there are any cracks, dents or other defects in the case, bracket or connector, replace the SRS part with a new one.
    • Use an ohmmeter/voltmeter with high impedance (10 kΩ/V minimum) for troubleshooting the electrical circuits.
    • Information labels are attached to the periphery of SRS parts. Follow the cautions and instructions on the labels.
    • After work on SRS parts is completed, perform the SRS warning light check.
    • When the cable is disconnected from the negative (-) battery terminal, the memory settings of each system will be cleared. Because of this, be sure to write down the settings of each system before starting work. When work is finished, reset the settings of each system as before. Never use a backup power supply from outside the vehicle to avoid erasing the memory in a system.
    • An airbag or pretensioner may be activated by static electricity. To prevent this, be sure to touch a metal surface with bare hands to discharge static electricity before performing this procedure.
    1. SPIRAL CABLE
      1. The steering wheel must be fitted correctly to the steering column with the spiral cable at the neutral position, as cable disconnection and other problems may occur. Refer to the information about correct installation of the steering wheel.
    2. AIRBAG ASSEMBLY
      1. Airbag assembly with pad:

        Always place a removed or new airbag assembly with the pad surface facing upward. Placing the airbag assembly with the airbag inflation direction facing downward could cause a serious accident if the airbag inflates. Also, do not place anything on top of the airbag assembly.

      2. Never measure the resistance of the airbag squib. This may cause the airbag to inflate, which could cause a serious injury.
      3. Grease or detergents of any kind should not be applied to the airbag assembly.
      4. Store the airbag assembly in an area where the ambient temperature is below 93°C (200°F), the humidity is not high and there is no electrical noise.
      5. When using electric welding anywhere on the vehicle, disconnect the center airbag sensor connectors. These connectors contain shorting springs. This feature reduces the possibility of the airbag deploying due to currents entering the squib wiring.
      6. When disposing of the vehicle or the airbag assembly by itself, the airbag should be deployed using SST before disposal. Activate the airbag in a safe place away from electrical noise.
    3. SEAT OUTER BELT ASSEMBLY WITH PRETENSIONER
      1. Never measure the resistance of the seat outer belt. This may cause the pretensioner of the seat outer belt to activate, which could cause a serious injury.
      2. Never install the seat outer belt on another vehicle.
      3. Store the seat outer belt in an area where the ambient temperature is below 80°C (176°F), the humidity is not high and there is no electrical noise.
      4. When using electric welding anywhere on the vehicle, disconnect the center airbag sensor connectors (2 pins). These connectors contain shorting springs. This feature reduces the possibility of the pretensioner deploying due to currents entering the squib wiring.
      5. When disposing of a vehicle or the seat outer belt by itself, the pretensioner should be activated before disposal. Activate the pretensioner in a safe place away from electrical noise.
      6. As the seat outer belt is hot after the pretensioner is activated, allow some time for it to cool down sufficiently before disposal. Never apply water to try to cool down the seat outer belt.
      7. Grease, detergents, oil or water should not be applied to the seat outer belt.
    4. AIRBAG SENSOR ASSEMBLY
      1. Never reuse an airbag sensor assembly that has been involved in a collision where the SRS has deployed.
      2. The connectors to the airbag sensor assembly should be connected or disconnected with the sensor placed on the floor. If the connectors are connected or disconnected while the airbag sensor assembly is not placed on the floor, the SRS may activate.
      3. Work must be started at least 90 seconds after the engine switch is turned off and the cable is disconnected from the negative (-) battery terminal, even if only loosening the set bolts of the airbag sensor assembly.
    5. WIRE HARNESS AND CONNECTOR
      1. The SRS wire harness is integrated with the instrument panel wire harness assembly. All the connectors in the system are yellow. If the SRS wire harness becomes disconnected or the connector becomes broken, repair or replace it.
  3. ELECTRONIC CONTROL 
    1. REMOVAL AND INSTALLATION OF BATTERY CABLE
      1. Before performing electronic work, disconnect the cable from the negative (-) battery terminal to prevent component and wire damage caused by accidental short circuits.
      2. When disconnecting the cable, turn the engine switch off and headlight dimmer switch off and loosen the cable nut completely. Perform these operations without twisting or prying the cable. Then disconnect the cable.
      3. Clock settings*, radio settings, audio system memory, DTCs and other data are cleared when the cable is disconnected from the negative (-) battery terminal. Write down any necessary data before disconnecting the cable.
        Fig 8: Disconnecting Battery Cable And Negative Battery Terminal
        G05188560Courtesy of © TOYOTA, LICENSE AGREEMENT TMS1002

        HINT:

        *: w/o Multi-display

      4. Certain systems need to be initialized after disconnecting and reconnecting the cable to the negative (-) battery terminal.
    2. HANDLING OF ELECTRONIC PARTS
      1. Do not open the cover or case of an ECU unless absolutely necessary. If the IC terminals are touched, the IC may be rendered inoperative by static electricity.
      2. Do not pull the wires when disconnecting electronic connectors. Pull the connector.
      3. Be careful not to drop electronic components, such as sensors or relays. If they are dropped on a hard surface, they should be replaced.
      4. When cleaning the engine with steam, protect the electronic components, air filter and emissions-related components from water.
      5. Never use an impact wrench to remove or install temperature switches or temperature sensors.
      6. When measuring the resistance of a wire connector, insert the tester probe carefully to prevent the terminals from bending.
        Fig 9: Precaution For - Do Not Pull Wires Connector
        G05188561Courtesy of © TOYOTA, LICENSE AGREEMENT TMS1002
  4. REMOVAL AND INSTALLATION OF FUEL CONTROL PARTS 
    1. PLACE FOR REMOVING AND INSTALLING FUEL SYSTEM PARTS
      1. Work in a location with good air ventilation that does not have welders, grinders, drills, electric motors, stoves, or any other ignition sources.
      2. Never work in a pit or near a pit as vaporized fuel will collect in those places.
    2. REMOVING AND INSTALLING FUEL SYSTEM PARTS
      1. Prepare a fire extinguisher before starting the operation.
      2. To prevent static electricity, install a ground wire to the fuel changer, vehicle and fuel tank, and do not spray the surrounding area with water. Be careful when performing work in this area, as the work surface will become slippery. Do not clean up gasoline spills with water, as this may cause the gasoline to spread, and possibly create a fire hazard.
      3. Avoid using electric motors, working lights and other electric equipment that can cause sparks or high temperatures.
      4. Avoid using iron hammers as they may create sparks.
      5. Dispose of fuel-contaminated cloths separately using a fire resistant container.
  5. REMOVAL AND INSTALLATION OF ENGINE INTAKE PARTS 
    1. If any metal particles enter inlet system parts, they may damage the engine.
    2. When removing and installing inlet system parts, cover the openings of the removed parts and engine openings. Use gummed tape or other suitable materials.
    3. When installing inlet system parts, check that no metal particles have entered the engine or the installed parts.
      Fig 10: Covering Engine Intake Parts
      G05637289Courtesy of © TOYOTA, LICENSE AGREEMENT TMS1002
  6. HANDLING OF HOSE CLAMPS 
    1. Before removing the hose, check the clamp position so that it can be reinstalled in the same position.
    2. Replace any deformed or dented clamps with new ones.
    3. When reusing a hose, attach the clamp on the clamp track portion of the hose.
    4. For a spring type clamp, you may want to spread the tabs slightly after installation by pushing in the direction of the arrows as shown in the illustration.
      Fig 11: Identifying Hose Clamps
      G04947350Courtesy of © TOYOTA, LICENSE AGREEMENT TMS1002
  7. FOR VEHICLES EQUIPPED WITH MOBILE COMMUNICATION SYSTEMS 
    1. Install the antenna as far away from the ECU and sensors of the vehicle electronic systems as possible.
    2. Install the antenna feeder at least 20 cm (7.87 in.) away from the ECU and sensors of the vehicle electronic systems. For details about ECU and sensor locations, refer to the section of the applicable components.
    3. Keep the antenna and feeder separate from other wiring as much as possible. This will prevent signals from the communication equipment from affecting vehicle equipment and vice versa.
    4. Check that the antenna and feeder are correctly adjusted.
      Fig 12: Identifying Vehicles Equipment With Mobile Communication Systems
      G05637291Courtesy of © TOYOTA, LICENSE AGREEMENT TMS1002
    5. Do not install a high-powered mobile communication system.
  8. WHEN INSPECTING HEADLIGHT 
    1. When the headlights are illuminated, do not cover the headlights for 3 minutes or more.
      NOTE: As the outer lens is of the headlight made of resin, the resulting heat created when covering the headlight for an extended period of time may deform the headlight.
      Fig 13: Inspecting Headlight
      G05637292Courtesy of © TOYOTA, LICENSE AGREEMENT TMS1002
  9. WHEN SERVICING FULL-TIME 4WD VEHICLES 
    1. The full-time 4WD LAND CRUISER is equipped with a mechanical lock type center differential system.
      Fig 14: Placing Mechanical Lock
      G05637293Courtesy of © TOYOTA, LICENSE AGREEMENT TMS1002
    2. During tests that require the use of a brake tester or chassis dynamometer, such as braking force tests or speedometer tests, if only the front or rear wheels are to be rotated, it is necessary to set the center differential to lock or free depending on the type of test being performed.

      Center Differential Free Condition 

      CENTER DIFFERENTIAL FREE CONDITION

      Item Condition Wheel
      Center differential switch Off A lifted wheel can be rotated if only one wheel is lifted up, as long as the transmission is in N.
      Indicator light Off
      4WD control switch (H4/L4) Either

      Center Differential Lock Condition 

      CENTER DIFFERENTIAL LOCK CONDITION

      Item Condition Wheel
      Center differential switch On When only one wheel is lifted up and the transmission is in N, the lifted wheel cannot be rotated.
      Indicator light On
      4WD control switch (H4/L4) Either
      Fig 15: Identifying Center Differential Switch Lock Position
      G05637294Courtesy of © TOYOTA, LICENSE AGREEMENT TMS1002
      CAUTION: Center differential lock ↔ free selecting procedures:
      • Operate the switch only when all 4 wheels are stopped or driving in a straight line.
      • Never operate the switch when any wheel is slipping.
      • Never operate the switch when any wheel is spinning freely.
      • Never operate the switch when swerving or cornering.
  10. WHEN TESTING BRAKES, SPEEDOMETER, ETC. 
    1. When carrying out any kind of servicing or testing on a Full-time 4WD with Active Traction Control System & Vehicle Stability Control (VSC) System in which the front or rear wheels are to be rotated (braking test, speedometer test), be sure to observe the precautions listed below.

      Incorrect preparations or test procedures may cause damage as well as unsuccessful test results.

    2. Before starting any such servicing or test, be sure to check the following items:
      Fig 16: Identifying Speedometer Test Mode Dash Indicator Display
      G05637295Courtesy of © TOYOTA, LICENSE AGREEMENT TMS1002
      • Enter test mode using the Techstream (See TEST MODE PROCEDURE ).
      • The center differential (lock or free)
      • Whether wheels should be touching the ground or jacked up
      • Transmission gear position (N position)
      • 4WD control switch (H4 or L4 position)
      • Maximum testing vehicle speed
      • Maximum testing time
      CAUTION:
      • Inspection should be done on the rear wheels.
      • Do not start, accelerate or decelerate the vehicle suddenly.
      • Maximum vehicle speed must be below 60 km/h (37 mph) (when using a free roller, it must be below 50 km/h (31 mph)).
      NOTE:
      • A tester with a load setting function for only two wheels cannot be used.
      • The driving time should be less than 1 minute.
    3. When using a braking force tester (not free roller type):

      When performing measurements using a low-speed type brake tester, observe the following instructions.

      Fig 17: Identifying Speedometer Test Mode Dash Indicator Display
      G05637295Courtesy of © TOYOTA, LICENSE AGREEMENT TMS1002
      1. Enter test mode using the Techstream (See TEST MODE PROCEDURE ).
      2. Turn the center differential to free.
      3. Position the rear wheels on the tester.
      4. Jack up the front wheels.
      5. Ensure that the vehicle does not move using wires.
      6. Move the transmission shift lever to N.
      7. Idle the engine, operate the brake booster and perform the test.
        CAUTION: If the vehicle is tested in normal mode on the drum tester, VSC operation may cause the vehicle to jump out from the drum tester.
        Fig 18: Positioning Rear Wheels On Tester
        G05637297Courtesy of © TOYOTA, LICENSE AGREEMENT TMS1002
        NOTE:
        • The maximum driving time should be 1 minute.
        • Do not forget to change the VSC to the operational condition after the test.
    4. When using a braking force tester (free roller type): When performing measurements using a low-speed type brake tester, observe the following instructions.
      Fig 19: Identifying Speedometer Test Mode Dash Indicator Display
      G05637295Courtesy of © TOYOTA, LICENSE AGREEMENT TMS1002
      1. Enter test mode using the Techstream (See TEST MODE PROCEDURE ).
      2. Turn the center differential to free.
      3. Position the rear wheels on the tester roller.
      4. Position the front wheels on the free roller.
      5. Ensure that the vehicle does not move using wires.
      6. Move the transmission shift lever to N.
      7. Idle the engine, operate the brake booster and perform the test.
        CAUTION: If the vehicle is tested in normal mode on the drum tester, VSC operation may cause the vehicle to jump out from the drum tester.
        NOTE:
        • The maximum driving time should be 1 minute.
        • Do not forget to change the VSC to the operational condition after the test.
          Fig 20: Positioning Rear Wheels On Tester
          G05637299Courtesy of © TOYOTA, LICENSE AGREEMENT TMS1002
    5. When using a speedometer (not free roller type): Observe the following instructions and then measure with the rear wheels.
      Fig 21: Identifying Speedometer Test Mode Dash Indicator Display
      G05637295Courtesy of © TOYOTA, LICENSE AGREEMENT TMS1002
      1. Enter test mode using the Techstream (See TEST MODE PROCEDURE ).
      2. Turn the center differential to lock.
      3. Position the rear wheels on the tester.
      4. Jack up the front wheels.
      5. Ensure that the vehicle does not move using wires.
      6. Move the transmission shift lever to D.
        CAUTION: If the vehicle is tested in normal mode on the drum tester, VSC operation may cause the vehicle to jump out from the drum tester.
        NOTE:
        • The maximum speed should be less than 50 km/h (31 mph).
        • If the measurement must be made while the vehicle speed is over 50 km/h (31 mph), remove the front propeller shaft.
          Fig 22: Positioning Rear Wheels On Tester
          G05637301Courtesy of © TOYOTA, LICENSE AGREEMENT TMS1002
        • Do not forget to change the VSC to the operational condition and the center differential to free condition after the test.
    6. When using a speedometer (free roller type): Observe the following instructions and then measure with the rear wheels.
      Fig 23: Identifying Speedometer Test Mode Dash Indicator Display
      G05637295Courtesy of © TOYOTA, LICENSE AGREEMENT TMS1002
      1. Enter test mode using the Techstream (See TEST MODE PROCEDURE ).
      2. Turn the center differential to lock.
      3. Position the rear wheels on the tester roller.
      4. Position the front wheels on the free roller.
      5. Ensure that the vehicle does not move using wires.
      6. Shift the transmission shift lever to D.
        CAUTION: If the vehicle is tested in normal mode on the drum tester, VSC operation may cause the vehicle to jump out from the drum tester.
        NOTE:
        • The maximum speed should be less than 50 km/h (31 mph).
        • If the measurement must be made while the vehicle speed is over 50 km/h (31 mph), remove the front propeller shaft.
        • Do not forget to change the VSC to the operational condition and the center differential to free condition after the test.
          Fig 24: Positioning Rear Wheels On Tester
          G05637299Courtesy of © TOYOTA, LICENSE AGREEMENT TMS1002
    7. Using a chassis dynamometer.
      NOTE: If you do not observe the following conditions for the test, there will be cases where the 4WD functions will deteriorate, the parts in the drive-train system will have a malfunction, or the vehicle will jump out. Therefore, do not conduct a test unless observing the following conditions.

      HINT:

      When conducting a test with the vehicle highly loaded are driven at high speeds, observe the following:

      Fig 25: Checking Front Wheels (High Speeds)
      G05637304Courtesy of © TOYOTA, LICENSE AGREEMENT TMS1002
      VEHICLE SPEED REFERENCE CHART

      Chassis Dynamometer Type Vehicle Speed and Test Time Propeller Shaft
      4-wheel driven chassis dynamometer No restriction Normal (Do not remove)
      NOTE:
      • Do not suddenly accelerate and do not suddenly apply the brakes.
      • Confirm that the vehicle is securely immobilized.
  11. FOR VEHICLES EQUIPPED WITH CATALYTIC CONVERTER 
    CAUTION: If a large amount of unburned gasoline or gasoline vapors flow into the converter, it may cause overheating and create a fire hazard. To prevent this, observe the following precautions.
    1. Use only unleaded gasoline.
    2. Avoid idling the engine for more than 20 minutes.
    3. When performing spark jump tests:
      1. Perform a spark jump test only when absolutely necessary. Perform this test as rapidly as possible.
      2. While testing, never race the engine.
    4. Avoid a prolonged engine compression measurement. Engine compression measurements must be performed as rapidly as possible.
    5. Do not run the engine when the fuel tank is nearly empty. This may cause the engine to misfire and create an extra load on the converter.
  12. WHEN TOWING FULL-TIME 4WD VEHICLES 
    1. Use one of the methods shown below to tow the vehicle.
      1. If the vehicle has trouble in the chassis and drive train, use method 1 (flat bed truck).
        PARKING BRAKE CONDITION AND TRANSMISSION SHIFT LEVER POSITION

        Towing Method Parking Brake Condition Transmission Shift Lever Position
        1. Flat Bed Truck
        G05637305Courtesy of © TOYOTA, LICENSE AGREEMENT TMS1002
        Applied Any Position
        2. Wheel Lift Type Truck
        From Front
        G05637306G05637307Courtesy of © TOYOTA, LICENSE AGREEMENT TMS1002© TOYOTA, LICENSE AGREEMENT TMS1002

        From Rear
        G05637306G05637307Courtesy of © TOYOTA, LICENSE AGREEMENT TMS1002© TOYOTA, LICENSE AGREEMENT TMS1002
        Applied
        NOTE: Do not use any towing method other than those shown above.
      2. For example, the towing methods shown below are dangerous or may damage the vehicle, so do not use them.
        TOWING METHODS

        G05637308Courtesy of © TOYOTA, LICENSE AGREEMENT TMS1002
        • Never tow the vehicle using a method where the lifted-up wheels cannot rotate.
        • If this towing method is used, either from the front or rear:
          1. There is a danger of the drive train heating up and causing a breakdown, or of the wheels flying off the dolly.
          2. In addition, if the vehicle is equipped with a Vehicle Stability Control (VSC) and Traction Control (TRAC) system, the system will apply the brakes of the rotating wheels unless the engine is shut off.
        G05637309Courtesy of © TOYOTA, LICENSE AGREEMENT TMS1002
        Do not use the sling type method, either from the front or rear, as this method causes damage to the body.