LEMON Manuals: Even more car manuals for everyone
Home >> Toyota >> 2008 >> Prius Base >> Repair and Diagnosis >> Engine Performance >> Engine Control System >> SFI System >> DTC P0110 Intake Air Temperature Circuit; DTC P0112 Intake Air Temperature Circuit Low Input; DTC P0113 Intake Air Temperature Circuit High Input >> Wiring Diagram

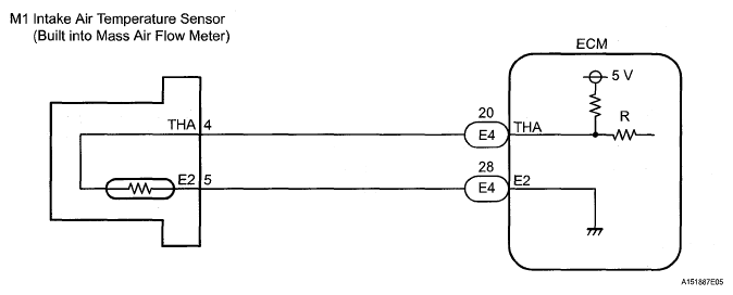
DTC P0110 Intake Air Temperature Circuit; DTC P0112 Intake Air Temperature Circuit Low Input; DTC P0113 Intake Air Temperature Circuit High Input: Wiring Diagram

Fig 1: M1 Intake Air Temperature Sensor - Wiring Diagram
G05673963Courtesy of © TOYOTA, LICENSE AGREEMENT TMS1002