LEMON Manuals: Even more car manuals for everyone
Home >> Toyota >> 2008 >> Matrix Base, Standard >> Repair and Diagnosis >> Brakes >> Traction Control >> Brake Control >> Vehicle Stability Control System >> System Diagram

System Diagram

Fig 1: Vehicle Stability Control System Diagram (1 Of 2)
G05235194Courtesy of © TOYOTA, LICENSE AGREEMENT TMS1002
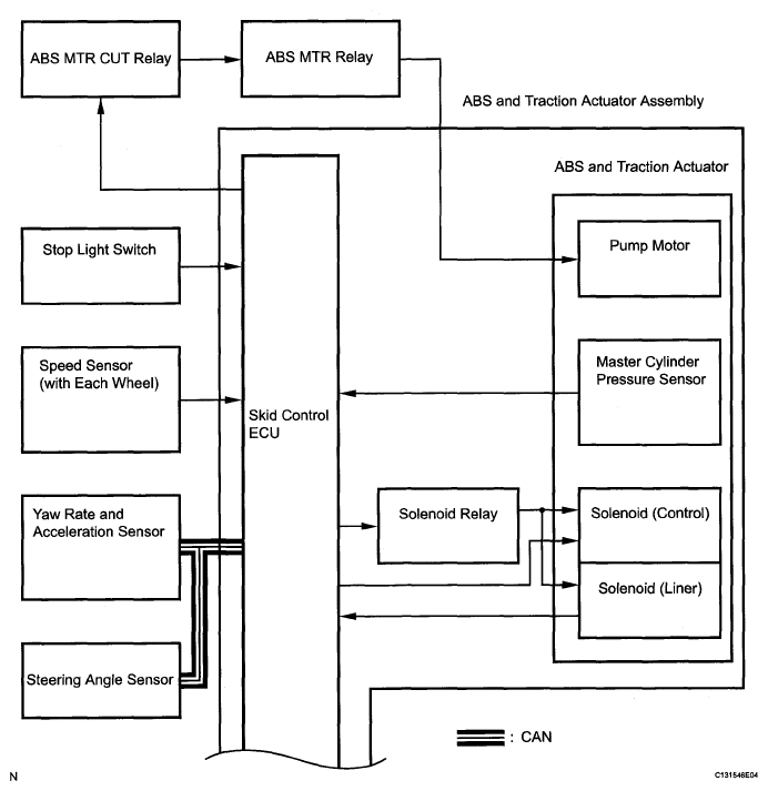
Fig 2: Vehicle Stability Control System Diagram (2 Of 2)
G05575965Courtesy of © TOYOTA, LICENSE AGREEMENT TMS1002