LEMON Manuals: Even more car manuals for everyone
Home >> Toyota >> 2008 >> Matrix Base, Automatic >> Repair and Diagnosis >> External Pages >> Different car >> Section 77 (Audio / Visual System (Service Information)) >> Steering Pad Switch >> Inspection >> Inspection

Steering Pad Switch: Inspection: Inspection

WARNING: This page is about a different car, the 2011 Toyota Avalon. However, it is still accessible from the selected car via links, so may be relevant.
  1. INSPECT STEERING PAD SWITCH ASSEMBLY 
    1. Disconnect the steering pad switch assembly connector.
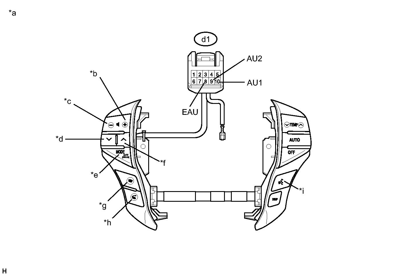
      Fig 1: View Of Steering Pad Switch Assembly Connector Terminal Identification and Location
      GTY306816Courtesy of © TOYOTA, LICENSE AGREEMENT TMS1002
    2. Measure the resistance according to the value(s) in the table below.

      Standard Resistance

      Tester Connection Condition Specified Condition
      d1-10 (AU1) - d1-8 (EAU) No switch pushed 95 to 105 kΩ
      d1-10 (AU1) - d1-8 (EAU) Seek+ switch pushed Below 2.5 Ω
      d1-10 (AU1) - d1-8 (EAU) Seek- switch pushed 312 to 345 Ω
      d1-10 (AU1) - d1-8 (EAU) Volume+ switch pushed 950 to 1050 Ω
      d1-10 (AU1) - d1-8 (EAU) Volume- switch pushed 2954 to 3265 Ω
      d1-9 (AU2) - d1-8 (EAU) No switch pushed 95 to 105 kΩ
      d1-9 (AU2) - d1-8 (EAU) MODE switch pushed Below 2.5 Ω
      d1-9 (AU2) - d1-8 (EAU) Voice switch pushed 2954 to 3265 Ω
      d1-9 (AU2) - d1-8 (EAU) On hook switch pushed 312 to 345 Ω
      d1-9 (AU2) - d1-8 (EAU) Off hook switch pushed 950 to 1050 Ω
      TEXT IN ILLUSTRATION

      *a Component without harness connected
      (Steering Pad Switch Assembly)
      *b Volume+
      *c Volume- *d Seek-
      *e MODE *f Seek+
      *g On hook *h Off hook
      *i Voice - -