LEMON Manuals: Even more car manuals for everyone
Home >> Toyota >> 2007 >> Prius Base >> Repair and Diagnosis >> Engine Performance >> Engine Control System >> SFI System >> Fuel Pump Control Circuit >> Inspection Procedure

Inspection Procedure

  1. PERFORM ACTIVE TEST BY INTELLIGENT TESTER RELAY) (OPERATE CIRCUIT OPENING 
    1. Connect the intelligent tester to the DLC3.
    2. Turn the power switch ON (IG).
    3. Turn the tester ON.
    4. Enter the following menus: DIAGNOSIS / ENHANCED OBD II / ACTIVE TEST / FUEL PUMP / SPD.
    5. Check the relay operation while operating it with the tester.

      OK: 

      Operating noise can be heard from the relay. 

    OK: PROCEED TO NEXT CIRCUIT INSPECTION SHOWN IN PROBLEM SYMPTOMS TABLE 

    NG: Go to next step 

  2. INSPECT POWER SOURCE CIRCUIT 

    NG: REPAIR OR REPLACE POWER SOURCE CIRCUIT COMPONENTS 

    OK: Go to next step 

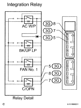
  3. INSPECT INTEGRATION RELAY (C/OPN RELAY) 
    1. Remove the integration relay from the engine room relay block.
    2. Inspect the circuit opening relay.

      Standard resistance 

      TESTER CONNECTION SPECIFIED CONDITION

      Tester Connection Specified Condition
      3G-5 - 3G-8 10 kΩ or higher
      3G-5 - 3G-8 Below 1 Ω (Apply battery voltage to terminals 3G-6 and 3G-7)
    3. Reinstall the integration relay.

    NG: REPLACE INTEGRATION RELAY 

    Fig 1: Identifying Integration Relay From Engine Room Relay Block
    G05188974Courtesy of © TOYOTA, LICENSE AGREEMENT TMS1002

    OK: Go to next step 

  4. CHECK ECM (FC VOLTAGE) 
    1. Turn the power switch ON (IG).
    2. Measure the voltage between the specified terminals of the E5 and E6 ECM connectors.

      Standard voltage 

      TESTER CONNECTION SPECIFIED CONDITION

      Tester Connection Specified Condition
      E6-10 (FC) - E5-28 (E1) 9 to 14 V

    OK: Go to step 5 

    Fig 2: Identifying E5 And E6 ECM Connector Terminal
    G05188975Courtesy of © TOYOTA, LICENSE AGREEMENT TMS1002

    NG: CHECK AND REPAIR HARNESS AND CONNECTOR 

  5. INSPECT FUEL PUMP 
    1. Disconnect the F14 fuel pump connector.
    2. Inspect the fuel pump resistance.
      1. Measure the resistance between terminals 3 and 7.

        Standard resistance 

        TESTER CONNECTION SPECIFIED CONDITION

        Tester Connection Specified Condition
        3 - 7 0.2 to 3.0 Ω at 20°C (68°F)
    3. Inspect the fuel pump operation.
      1. Apply battery voltage to the fuel pump terminals.

        Check that the pump operates.

        Fig 3: Identifying F14 Fuel Pump Connector
        G05188976Courtesy of © TOYOTA, LICENSE AGREEMENT TMS1002
        NOTE:
        • These tests must be done quickly (within 10 seconds) to prevent the coil from burning out.
        • Keep fuel pump as far away from the battery as possible.
        • Always do the switching at the battery side.
      2. Reconnect the fuel pump connector.

      NG: REPAIR OR REPLACE FUEL TANK ASSEMBLY 

      OK: Go to next step 

    4. CHECK HARNESS AND CONNECTOR (C/OPN RELAY - FUEL PUMP, FUEL PUMP - BODY GROUND) 
      1. Check the harness and the connectors between the circuit opening relay and the fuel pump connector.
        1. Remove the integration relay from the engine room relay block.
        2. Disconnect the F14 fuel pump connector.
        3. Measure the resistance according to the value(s) in the table below.

          Standard resistance (Check for open) 

          TESTER CONNECTION SPECIFIED CONDITION

          Tester Connection Specified Condition
          3G-8 (Circuit opening relay) - F14-3 (Fuel pump) Below 1 Ω
          Fig 4: Identifying Engine Room Relay Block Location
          G05188977Courtesy of © TOYOTA, LICENSE AGREEMENT TMS1002

          Standard resistance (Check for short) 

          TESTER CONNECTION SPECIFIED CONDITION

          Tester Connection Specified Condition
          3G-8 (Circuit opening relay) or F14-3 (Fuel pump) - Body ground 10 kΩ or higher
        4. Reinstall the integration relay.
        5. Reconnect the fuel pump connector.
      2. Check the harness and the connectors between the fuel pump connector and the body ground.
      1. Disconnect the F14 fuel pump connector.
      2. Measure the resistance according to the value(s) in the table below.

        Standard resistance (Check for open) 

        TESTER CONNECTION SPECIFIED CONDITION

        Tester Connection Specified Condition
        F14-7 (Fuel pump) - Body ground Below 1 Ω
      3. Reconnect the fuel pump connector.
        Fig 5: Identifying F14 Fuel Pump Connector Terminal
        G05188978Courtesy of © TOYOTA, LICENSE AGREEMENT TMS1002

    NG: REPAIR OR REPLACE HARNESS OR CONNECTOR 

    OK: REPLACE ECM