LEMON Manuals: Even more car manuals for everyone
Home >> Toyota >> 2007 >> Prius Base >> Repair and Diagnosis >> Body & Frame >> Windows >> Windshield/WINDOWGLASS >> Power Window Control System >> Power Windows do not Operate at All >> Inspection Procedure

Inspection Procedure

  1. INSPECT FUSE (AM2, GAUGE, FR DOOR, ECU-IG) 
    1. Remove the AM2 fuse from the engine room junction block.
    2. Remove the GAUGE, FR DOOR and ECU-IG fuses from the driver side junction block.
    3. Measure the resistance of the fuses.

      Standard resistance: 

      Below 1 Ω 

    NG : REPLACE FUSE 

    OK : GO TO NEXT STEP 

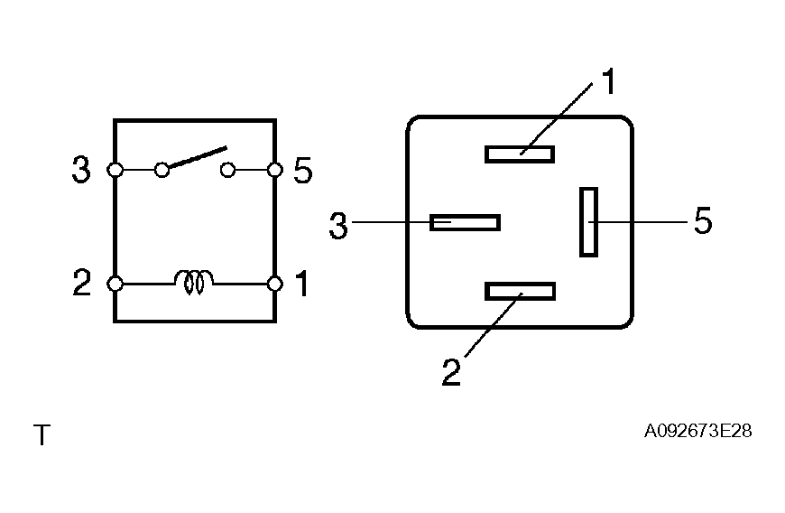
  2. INSPECT IG1 RELAY 
    1. Remove the IG1 relay from the driver side junction block.
    2. Measure the resistance of the relay.

      Standard resistance 

      TERMINALS RESISTANCE SPECIFICATION

      Tester Connection Specified Condition
      3 - 5 10 kΩ or higher
      3 - 5 Below 1 Ω (when battery voltage is applied to terminals 1 and 2)
      Fig 1: Inspecting IG1 Relay
      G04476760Courtesy of © TOYOTA, LICENSE AGREEMENT TMS1002

    NG : REPLACE IG1 RELAY 

    OK : GO TO NEXT STEP 

  3. CHECK WIRE HARNESS (MASTER SWITCH - BATTERY AND BODY GROUND) 
    1. Disconnect the P17 switch connector.
    2. Measure the voltage or resistance of the wire harness side connector.

      Standard voltage 

      TERMINALS VOLTAGE SPECIFICATION

      Tester Connection Condition Specified Condition
      P17-6 (B) - Body ground Power switch ON (IG) 10 to 14 V
      P17-7 (BW) - Body ground Always 10 to 14 V
      P17-11 (BDR) - Body ground Power switch ON (IG) 10 to 14 V
      Fig 2: Identifying Power Window Regulator Master Switch Connectors
      G04476761Courtesy of © TOYOTA, LICENSE AGREEMENT TMS1002

      Standard resistance 

      TERMINALS RESISTANCE SPECIFICATION

      Tester Connection Condition Specified Condition
      P17-1 (E) - Body ground Always Below 1 Ω

    OK : REPLACE POWER WINDOW REGULATOR MASTER SWITCH ASSEMBLY 

    NG : GO TO NEXT STEP 

  4. CHECK WIRE HARNESS (MASTER SWITCH - JUNCTION BLOCK) 
    1. Disconnect the P17 switch connector.
    2. Disconnect the 1G and 1H junction block connectors.
    3. Measure the resistance of the wire harness side connectors.

      Standard resistance 

      TERMINALS RESISTANCE SPECIFICATION

      Tester Connection Specified Condition
      P17-11 (BDR) - 1G-6 Below 1 Ω
      P17-7 (BW) - 1H-10 Below 1 Ω
      P17-6 (B) - 1H-11 Below 1 Ω
      P17-11 (BDR) or 1G-6 - Body ground 10 kΩ or higher
      P17-7 (BW) or 1H-10 - Body ground 10 kΩ or higher
      P17-6 (B) or 1H-11 - Body ground 10 kΩ or higher
      Fig 3: Identifying Power Window Regulator Master Switch Connectors
      G04476762Courtesy of © TOYOTA, LICENSE AGREEMENT TMS1002

    NG : REPAIR OR REPLACE HARNESS AND CONNECTOR 

    OK : GO TO NEXT STEP 

  5. CHECK WIRE HARNESS (JUNCTION BLOCK - BODY GROUND) 
    1. Disconnect the 1B and 1E junction block connectors.
    2. Measure the voltage and resistance of the wire harness side connectors.

      Standard voltage 

      TERMINALS VOLTAGE SPECIFICATION

      Tester Connection Specified Condition
      1B-1 - Body ground 10 to 14 V

      Standard resistance 

      TERMINALS RESISTANCE SPECIFICATION

      Tester Connection Specified Condition
      1E-17 - Body ground Below 1 Ω
      Fig 4: Identifying 1B And 1E Junction Block Connectors
      G04476763Courtesy of © TOYOTA, LICENSE AGREEMENT TMS1002

    NG : REPAIR OR REPLACE HARNESS AND CONNECTOR 

    OK : GO TO NEXT STEP 

  6. CHECK BASIC FUNCTION OF PUSH BUTTON START SYSTEM 
    1. Check that the push button start system operates normally.

      OK : Push button start system operates normally. 

    NG : GO TO PUSH BUTTON START SYSTEM 

    OK : REPLACE DRIVER SIDE JUNCTION BLOCK ASSEMBLY