LEMON Manuals: Even more car manuals for everyone
Home >> Toyota >> 2007 >> Matrix Base, Standard >> Repair and Diagnosis (Single Page) >> Restraints >> Air Bag, SRS >> Supplemental Restraint System >> Occupant Classification System >> DTC B1782 Rear Occupant Classification Sensor LH Circuit Malfunction >> Wiring Diagram

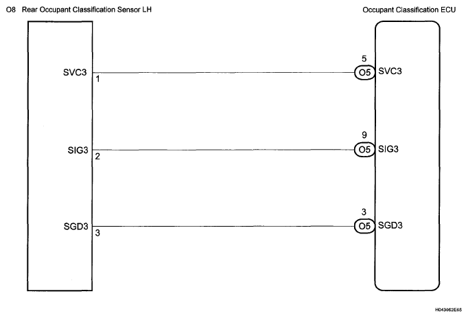
DTC B1782 Rear Occupant Classification Sensor LH Circuit Malfunction: Wiring Diagram

Fig 1: Rear Occupant Classification Sensor LH Circuit Malfunction - Wiring Diagram
G05236532Courtesy of © TOYOTA, LICENSE AGREEMENT TMS1002