LEMON Manuals: Even more car manuals for everyone
Home >> Toyota >> 2007 >> Matrix Base, Standard >> Repair and Diagnosis (Single Page) >> Accessories & Equipment >> Entertainment Systems >> Audio System & Visual System >> Audio And Visual System >> Radio Broadcast cannot be Received or Poor Reception >> Inspection Procedure

Inspection Procedure

  1. CHECK RADIO RECEIVER 
    1. Check the radio's automatic station search function.
      1. Move the vehicle to a location where radio wave reception is possible.
      2. Check the radio's automatic station search function by activating it.

        OK: The radio's automatic station search function works properly. 

    OK : REPLACE RADIO RECEIVER 

    NG: Go to next step. 

  2. CHECK OPTIONAL COMPONENTS 
    1. Check optional components (sun-shade film, telephone antenna, etc.).
      1. Check if any optional components, such as sunshade film or telephone antenna that may decrease reception capacity, are installed.

        OK: Optional components are installed. 

        NOTE: Do not remove any optional components installed by the customer without his or her consent.

    OK : REMOVE OPTIONAL COMPONENTS (SEE NOTICE ABOVE) 

    NG: Go to next step. 

  3. CHECK RADIO RECEIVER 
    1. Preparation for check
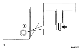
      1. Remove the antenna plug from the radio receiver.
    2. Check for noise
      1. Turn the ignition switch to the ACC position with the radio receiver connector connected.
      2. Turn the radio on and put into AM mode.
      3. Place a screwdriver, thin wire, or other metal object on the radio receiver's antenna jack and check that noise can be heard from the speaker.

        OK: Noise occurs. 

        Fig 1: Locating Antenna Plug
        G05006213Courtesy of © TOYOTA, LICENSE AGREEMENT TMS1002

    NG: REPLACE RADIO RECEIVER 

    OK : Go to next step. 

  4. CHECK ROOF ANTENNA 
    1. Check that the antenna is securely installed.

      OK: The antenna is installed properly. 

    NG: CHECK AND REPLACE ROOF ANTENNA 

    OK : Go to next step. 

  5. CHECK ANTENNA CORD 
    1. Remove the antenna plug of the radio receiver and antenna.
    2. Measure the resistance between the antenna cord's inner conductor and radio receiver to check for an open circuit in the antenna cord.

      Standard resistance: Below 1 Ω 

    3. Measure the resistance between the antenna cord's inner conductor and body ground to check for a short circuit in the antenna cord.

      Standard resistance: 10 kΩ or higher 

    NG: REPLACE ANTENNA CORD 

    OK : Go to next step. 

  6. REPLACE AMPLIFIER ANTENNA 
    1. Replace the amplifier antenna and check if radio broadcasts can be received normally.

      OK: Radio broadcasts can be received. 

    OK : END 

    NG: REPLACE RADIO RECEIVER