LEMON Manuals: Even more car manuals for everyone
Home >> Toyota >> 2007 >> Matrix Base, Standard >> Repair and Diagnosis (Single Page) >> Accessories & Equipment >> Entertainment Systems >> Audio System & Visual System >> Audio And Visual System >> DTC 01-DD Master Reset; DTC 01-E1 Voice Processing Device ON Error >> Inspection Procedure

Inspection Procedure

NOTE: Be sure to read DESCRIPTION before performing the following procedures.
  1. CHECK RADIO RECEIVER POWER SOURCE CIRCUIT 

    Refer to the RADIO RECEIVER POWER SOURCE CIRCUIT  .

    If the power source circuit is operating normally, proceed to the next step.

  2. INSPECT RADIO RECEIVER 
    Fig 1: Inspecting Radio Receiver
    G05237085Courtesy of © TOYOTA, LICENSE AGREEMENT TMS1002
    1. Disconnect the radio receiver connector.
    2. Measure the resistance according to the value(s) in the table below.

      Standard resistance 

      TESTER CONNECTION SPECIFIED CONDITION CHART

      Tester Connection Condition Specified Condition
      TX+ - TX- Always 60 to 80 Ω

    NG: REPLACE RADIO RECEIVER 

    OK : Go to next step. 

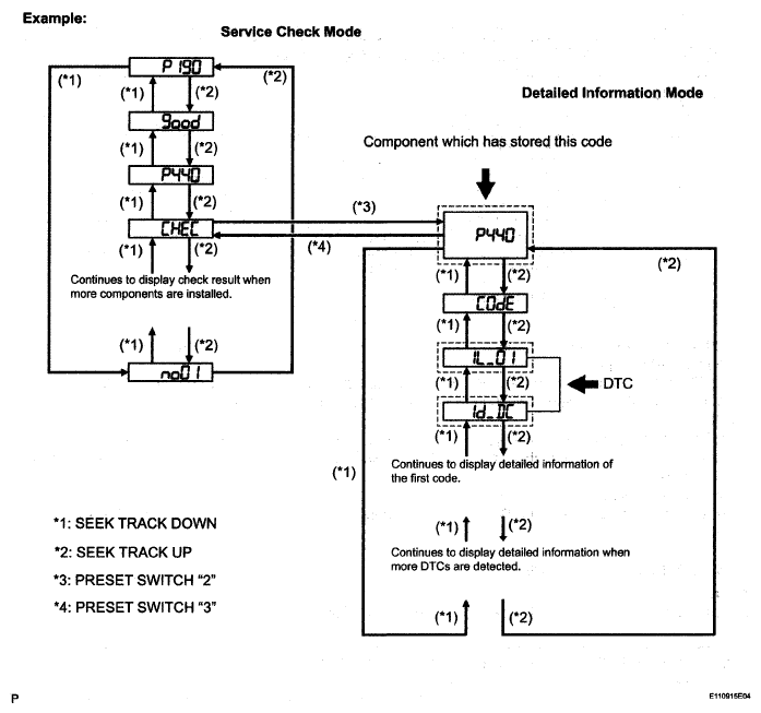
  3. IDENTIFY THE COMPONENT WHICH HAS STORED THIS CODE 
    1. Enter the diagnostic mode.
      Fig 2: Service Check Mode Flow Chart
      G04966653Courtesy of © TOYOTA, LICENSE AGREEMENT TMS1002
    2. Press the preset switch "3" to change to "Detailed Information Mode".
    3. Identify the component which has stored this code.

      Component Table 

      COMPONENT CHART

      Component Physical address
      Stereo component amplifier 440

      HINT:

      • "440 (stereo component amplifier)" is the component which has stored this code in the example shown in the illustration.
      • For details of the DTC display, refer to "DTC CHECK / CLEAR " .
  4. CHECK HARNESS AND CONNECTOR (RADIO RECEIVER - COMPONENT WHICH HAS STORED THIS CODE) 

    HINT:

    For details of the connectors, refer to the "TERMINALS OF ECU " .

    1. Referring to the AVC-LAN wiring diagram below, check the AVC-LAN circuit between the radio receiver and the component which has stored this code.
      1. Disconnect all connectors between the radio receiver and the component which has stored this code.
      2. Check for an open or short in the AVC-LAN circuit between the radio receiver and the component which has stored this code.

        OK: There is no open or short circuit. 

        Fig 3: AVC-LAN - Wiring Diagram
        G05237086Courtesy of © TOYOTA, LICENSE AGREEMENT TMS1002

    NG: REPAIR OR REPLACE HARNESS OR CONNECTOR 

    OK : Go to next step. 

  5. REPLACE RADIO RECEIVER 
    1. Replace the radio receiver with a normal one and check if the same problem occurs again.

      OK: Same problem does not occur. 

    NG: REPLACE COMPONENT WHICH HAS STORED THIS CODE 

    OK : END