LEMON Manuals: Even more car manuals for everyone
Home >> Toyota >> 2007 >> Matrix Base, Automatic >> Repair and Diagnosis >> Engine Performance >> Engine Control System (1ZZ-FE) >> IG1 Relay >> Inspection

IG1 Relay: Inspection

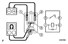
  1. INSPECT IGNITION RELAY NO. 1 
    1. Check the resistance.
      1. Using an ohmmeter, measure the resistance between the terminals.

        Resistance 

        RESISTANCE SPECIFICATIONS

        Tester Connection Specified Condition
        3-5 10 kΩ or higher
        3-5 Below 1 Ω (Apply battery voltage to terminal 1 and 2)
        Fig 1: Inspecting Ignition Relay No. 1
        G05192726Courtesy of © TOYOTA, LICENSE AGREEMENT TMS1002

        If the result is not as specified, replace the ignition ECU relay.