LEMON Manuals: Even more car manuals for everyone
Home >> Toyota >> 2007 >> Land Cruiser >> Repair and Diagnosis >> General Information >> Identification >> Introduction >> Repair Instruction >> Precaution

Repair Instruction: Precaution

  1. BASIC REPAIR HINT 
    1. HINTS ON OPERATIONS
      Fig 1: Identifying Basic Repair Hint & Operations Components
      G04434553Courtesy of © TOYOTA, LICENSE AGREEMENT TMS1002
    2. JACKING UP AND SUPPORTING VEHICLE
      1. Care must be taken when jacking up and supporting the vehicle. Be sure to lift and support the vehicle at the proper locations.
    3. PRECOATED PARTS
      1. Precoated parts are bolts and nuts that are coated with a seal lock adhesive at the factory.
      2. If a precoated part is retightened, loosened or moved in any way, it must be recoated with the specified adhesive.
        Fig 2: Identifying Bolts Coated With Seal Lock Adhesive
        G04458847Courtesy of © TOYOTA, LICENSE AGREEMENT TMS1002
      3. When reusing a precoated part, clean off the old adhesive and dry the part with compressed air. Then apply new seal lock adhesive appropriate to that part.
      4. Some seal lock agents harden slowly. You may have to wait for the seal lock adhesive to harden.
    4. GASKETS
      1. When necessary, use a sealer on gaskets to prevent leaks.
    5. BOLTS, NUTS AND SCREWS
      1. Carefully follow all the specifications for tightening torques. Always use a torque wrench.
    6. FUSES
      1. When inspecting a fuse, check that the wire of the fuse is not broken.
      2. When replacing fuses, be sure that the new fuse has the correct amperage rating. Do not exceed the rating or use one with a lower rating.
        Fig 3: Identifying Fuses Condition
        G04381205Courtesy of © TOYOTA, LICENSE AGREEMENT TMS1002
        FUSES SYMBOL PART NAME

        Illustration Symbol Part Name Abbreviation
        G04434556Courtesy of © TOYOTA, LICENSE AGREEMENT TMS1002
        G04434557Courtesy of © TOYOTA, LICENSE AGREEMENT TMS1002
        FUSE FUSE
        G04434558Courtesy of © TOYOTA, LICENSE AGREEMENT TMS1002
        G04434559Courtesy of © TOYOTA, LICENSE AGREEMENT TMS1002
        MEDIUM CURRENT FUSE M-FUSE
        G04434560Courtesy of © TOYOTA, LICENSE AGREEMENT TMS1002
        G04434561Courtesy of © TOYOTA, LICENSE AGREEMENT TMS1002
        HIGH CURRENT FUSE H-FUSE
        G04434562Courtesy of © TOYOTA, LICENSE AGREEMENT TMS1002
        G04434563Courtesy of © TOYOTA, LICENSE AGREEMENT TMS1002
        FUSIBLE LINK FL
        G04434564Courtesy of © TOYOTA, LICENSE AGREEMENT TMS1002
        G04434565Courtesy of © TOYOTA, LICENSE AGREEMENT TMS1002
        CIRCUIT BREAKER CB
    7. CLIPS
      1. The removal and installation methods of typical clips used for vehicle body parts are shown in CLIPS ILLUSTRATION PROCEDURE  .

        HINT:

        If clips are damaged during a procedure, always replace the clips with new clips.

        CLIPS ILLUSTRATION PROCEDURE

        Shape (Example) Illustration Procedures
        G04434566Courtesy of © TOYOTA, LICENSE AGREEMENT TMS1002
        G04434567Courtesy of © TOYOTA, LICENSE AGREEMENT TMS1002
        1. Remove clips with a clip remover or pliers.
        G04434568Courtesy of © TOYOTA, LICENSE AGREEMENT TMS1002
        G04434569Courtesy of © TOYOTA, LICENSE AGREEMENT TMS1002
        1. Remove clips with a clip remover or screwdriver.
        G04434570Courtesy of © TOYOTA, LICENSE AGREEMENT TMS1002
        G04434571Courtesy of © TOYOTA, LICENSE AGREEMENT TMS1002
        1. Remove clips with a wide scraper to prevent panel damage.
        G04434572Courtesy of © TOYOTA, LICENSE AGREEMENT TMS1002
        G04434573Courtesy of © TOYOTA, LICENSE AGREEMENT TMS1002
        1. Remove clips by pushing the center pin through and prying out the shell.
        G04434574Courtesy of © TOYOTA, LICENSE AGREEMENT TMS1002
        G04434575Courtesy of © TOYOTA, LICENSE AGREEMENT TMS1002
        1. Remove clips by unscrewing the center pin and prying out the shell.
        G04434576Courtesy of © TOYOTA, LICENSE AGREEMENT TMS1002
        G04434577Courtesy of © TOYOTA, LICENSE AGREEMENT TMS1002
        1. Remove clips by prying out the pin and then prying out the shell.
    8. CLAWS
      1. The removal and installation methods of typical claws used for vehicle body parts are shown in CLAWS ILLUSTRATION PROCEDURE  .

        HINT:

        If claws of caps or covers are damaged during a procedure, always replace the caps or covers with new ones.

        CLAWS ILLUSTRATION PROCEDURE

        Shape (Example) Illustration Procedures
        G04434578Courtesy of © TOYOTA, LICENSE AGREEMENT TMS1002
        G04434579Courtesy of © TOYOTA, LICENSE AGREEMENT TMS1002
        1. Using a screwdriver, detach the claws and remove the caps or covers.
        G04434580Courtesy of © TOYOTA, LICENSE AGREEMENT TMS1002
        G04434581Courtesy of © TOYOTA, LICENSE AGREEMENT TMS1002
        1. Using a screwdriver, detach the claws and remove the caps or covers.
        G04434582Courtesy of © TOYOTA, LICENSE AGREEMENT TMS1002
        G04434583Courtesy of © TOYOTA, LICENSE AGREEMENT TMS1002
        1. Using a screwdriver, detach the claws and remove the caps or covers.
    9. REMOVAL AND INSTALLATION OF VACUUM HOSES
      1. To disconnect a vacuum hose, pull and twist from the end of the hose. Do not pull from the middle of the hose as this may cause damage.
        Fig 4: Precaution For Disconnecting Vacuum Hose
        G04376106Courtesy of © TOYOTA, LICENSE AGREEMENT TMS1002
      2. When disconnecting vacuum hoses, use tags to identify where they should be reconnected.
      3. After completing any hose related repairs, double check that the vacuum hoses are properly connected. The label under the hood shows the proper layout.
      4. When using a vacuum gauge, never force the hose onto a connector that is too large. If a hose has been stretched, it may leak air. Use a step-down adapter if necessary.
        Fig 5: Disconnecting And Tagging Vacuum Hoses
        G04406313Courtesy of © TOYOTA, LICENSE AGREEMENT TMS1002
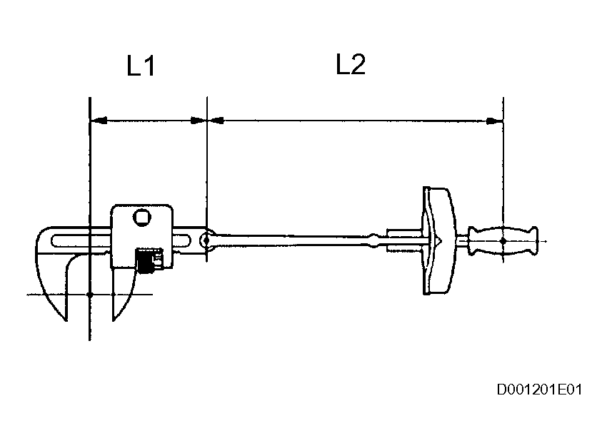
    10. TORQUE WHEN USING TORQUE WRENCH WITH EXTENSION TOOL
      Fig 6: Identifying Torque Wrench With Extension Tool
      G04434586Courtesy of © TOYOTA, LICENSE AGREEMENT TMS1002
      1. Use the formula below to calculate special torque values for situations where SST or an extension tool is combined with a torque wrench.

        Formula: T' = L2 / (L1 + L2) * T 

        Fig 7: Identifying Torque Wrench With Extension Tool
        G04434587Courtesy of © TOYOTA, LICENSE AGREEMENT TMS1002
        TORQUE WRENCH WITH EXTENSION TOOL TABLE

        T' Reading of torque wrench {N*m (kgf*cm, ft.*lbf)}
        T Torque {N*m (kgf*cm, ft.*lbf)}
        L1 Length of SST or extension tool {cm (in.)}
        L2 Length of torque wrench {cm (in.)}
        NOTE: If an extension tool or SST is combined with a torque wrench and the wrench is used to tighten to a torque specification in this article, the actual torque will be excessive and parts will be damaged.
  2. FOR VEHICLES WITH SUPPLEMENTAL RESTRAINT SYSTEM 

    The LAND CRUISER is equipped with a Supplemental Restraint System (SRS). The SRS of this vehicle consists of the following:

    1. Steering pad
    2. Front passenger airbag assembly
    3. Curtain shield airbag assembly
    4. Front seat side airbag assembly
    5. Center airbag sensor assembly
    6. Front airbag sensor
    7. Side and curtain shield airbag sensor
    8. Curtain shield airbag sensor
    9. Seat position sensor
    10. Front seat outer belt assembly with pretensioner
    CAUTION:
    • Failure to carry out service procedures in the correct sequence could cause SRS parts to unexpectedly deploy and possibly lead to serious injuries. Furthermore, if a mistake is made when servicing SRS parts, they may fail to operate when required. Before performing servicing (including installation/removal, inspection and replacement of parts), be sure to read the following precautions.
    • Before starting work, wait at least 90 seconds after the ignition switch is turned OFF and after the cable of the negative (-) battery terminal is disconnected. (SRS parts are equipped with a backup power source. If work is started within 90 seconds of turning the ignition switch OFF and disconnecting the cable from the negative (-) battery terminal, SRS parts may deploy.)
    • Do not expose SRS parts directly to hot air or flames.
    NOTE:
    • Malfunction symptoms of SRS parts are difficult to confirm. DTCs are the most important source of information when troubleshooting. During troubleshooting, always confirm DTCs before disconnecting the cable from the negative (-) battery terminal.
    • For minor collisions where SRS parts do not deploy, always inspect the SRS parts.
    • Before performing repairs, remove airbag sensors as necessary if any kind of impact is likely to occur to an airbag sensor during repairs.
    • Never use SRS parts from another vehicle. When replacing SRS parts, replace them with new ones.
    • Never disassemble or attempt to repair SRS parts.
    • If an SRS part has been dropped, or if there are any cracks, dents or other defects in the case, bracket or connector, replace the SRS part with a new one.
    • Use an ohmmeter/voltmeter with high impedance (10 kΩ/V minimum) for troubleshooting the electrical circuits.
    • Information labels are attached to the periphery of SRS parts. Follow the cautions and instructions on the labels.
    • After work on SRS parts is completed, perform the SRS warning light check.
    • When the cable is disconnected from the negative (-) battery terminal, the memory settings of each system will be cleared. Because of this, be sure to write down the settings of each system before starting work. When work is finished, reset the settings of each system as before. Never use a backup power supply from outside the vehicle to avoid erasing the memory in a system.
    1. SPIRAL CABLE
      1. The steering wheel must be fitted correctly to the steering column with the spiral cable at the neutral position, as cable disconnection and other problems may occur. Refer to the information about correct installation of the steering wheel.
    2. AIRBAG ASSEMBLY
      1. Airbag assembly with pad:

        Always place a removed or new airbag assembly with the pad surface facing upward. Placing the airbag assembly with the airbag inflation direction facing downward could cause a serious accident if the airbag inflates. Also, do not place anything on top of the airbag assembly.

      2. Never measure the resistance of the airbag squib. This may cause the airbag to inflate, which could cause a serious injury.
      3. Grease or detergents of any kind should not be applied to the airbag assembly.
      4. Store the airbag assembly in an area where the ambient temperature is below 93°C (200°F), the humidity is not high and there is no electrical noise.
      5. When using electric welding anywhere on the vehicle, disconnect the airbag ECU connectors. These connectors contain shorting springs. This feature reduces the possibility of the airbag deploying due to currents entering the squib wiring.
      6. When disposing of the vehicle or the airbag assembly by itself, the airbag should be deployed using SST before disposal. Activate the airbag in a safe place away from electrical noise.
    3. SEAT OUTER BELT ASSEMBLY WITH PRETENSIONER
      1. Never measure the resistance of the seat outer belt. This may cause the pretensioner of the seat outer belt to activate, which could cause a serious injury.
      2. Never install the seat outer belt on another vehicle.
      3. Store the seat outer belt in an area where the ambient temperature is below 80°C (176°F), the humidity is not high and there is no electrical noise.
      4. When using electric welding anywhere on the vehicle, disconnect the airbag ECU connectors (2 pins). These connectors contain shorting springs. This feature reduces the possibility of the pretensioner deploying due to currents entering the squib wiring.
      5. When disposing of a vehicle or the seat outer belt by itself, the pretensioner should be activated before disposal. Activate the pretensioner in a safe place away from electrical noise.
      6. As the seat outer belt is hot after the pretensioner is activated, allow some time for it to cool down sufficiently before disposal. Never apply water to try to cool down the seat outer belt.
      7. Grease, detergents, oil or water should not be applied to the seat outer belt.
    4. AIRBAG SENSOR ASSEMBLY
      1. Never reuse an airbag sensor assembly that has been involved in a collision where the SRS has deployed.
      2. The connectors to the airbag sensor assembly should be connected or disconnected with the sensor placed on the floor. If the connectors are connected or disconnected while the airbag sensor assembly is not placed on the floor, the SRS may activate.
      3. Work must be started at least 90 seconds after the ignition switch is turned OFF and the cable is disconnected from the negative (-) battery terminal, even if only loosening the set bolts of the airbag sensor assembly.
  3. ELECTRONIC CONTROL 
    1. REMOVAL AND INSTALLATION OF BATTERY TERMINAL
      NOTE: Certain systems need to be initialized after disconnecting and reconnecting the cable from the negative (-) battery terminal.
      Fig 8: Disconnecting Cable From Negative (-) Battery Terminal
      G04434588Courtesy of © TOYOTA, LICENSE AGREEMENT TMS1002
      1. Before performing electronic work, disconnect the cable from the negative (-) battery terminal to prevent component and wire damage caused by accidental short circuits.
      2. When disconnecting the cable, turn the ignition switch OFF and the headlight dimmer switch OFF and loosen the cable nut completely.

        Perform these operations without twisting or prying the cable. Then disconnect the cable.

      3. Clock settings, radio settings, audio system memory, DTCs and other data are erased when the cable is disconnected from the negative (-) battery terminal. Write down any necessary data before disconnecting the cable.
    2. HANDLING OF ELECTRONIC PARTS
      1. Do not open the cover or case of the ECU unless absolutely necessary. If the IC terminals are touched, the IC may be rendered inoperative by static electricity.
      2. Do not pull the wires when disconnecting electronic connectors. Pull the connector.
      3. Be careful not to drop electronic components, such as sensors or relays. If they are dropped on a hard surface, they should be replaced.
      4. When cleaning the engine with steam, protect the electronic components, air filter and emission-related components from water.
        Fig 9: Precaution For Handling Of Electronic Parts
        G04434589Courtesy of © TOYOTA, LICENSE AGREEMENT TMS1002
      5. Never use an impact wrench to remove or install temperature switches or temperature sensors.
      6. When measuring the resistance of a wire connector, insert the tester probe carefully to prevent terminals from bending.
  4. REMOVAL AND INSTALLATION OF FUEL CONTROL PARTS 
    1. PLACE FOR REMOVING AND INSTALLING FUEL SYSTEM PARTS
      1. Work in a location with good air ventilation that does not have welders, grinders, drills, electric motors, stoves, or any other ignition sources.
      2. Never work in a pit or near a pit as vaporized fuel will collect in those places.
    2. REMOVING AND INSTALLING FUEL SYSTEM PARTS
      1. Prepare a fire extinguisher before starting the operation.
      2. To prevent static electricity, install a ground wire to the fuel changer, vehicle and fuel tank, and do not spray the surrounding area with water. Be careful when performing work in this area, as the work surface will become slippery. Do not clean up gasoline spills with water, as this may cause the gasoline to spread, and possibly create a fire hazard.
      3. Avoid using electric motors, working lights and other electric equipment that can cause sparks or high temperatures.
      4. Avoid using iron hammers as they may create sparks.
      5. Dispose of fuel-contaminated cloth separately using a fire resistant container.
  5. REMOVAL AND INSTALLATION OF ENGINE INTAKE PARTS 
    Fig 10: Covering Openings
    G04381249Courtesy of © TOYOTA, LICENSE AGREEMENT TMS1002
    1. If any metal particles enter inlet system parts, they may damage the engine.
    2. When removing and installing inlet system parts, cover the openings of the removed parts and engine openings. Use gummed tape or other suitable materials.
    3. When installing inlet system parts, check that no metal particles have entered the engine or the installed parts.
  6. HANDLING OF HOSE CLAMPS 
    1. Before removing the hose, check the clamp position so that it can be reinstalled in the same position.
    2. Replace any deformed or dented clamps with new ones.
    3. When reusing a hose, attach the clamp on the clamp track portion of the hose.
    4. For a spring type clamp, you may want to spread the tabs slightly after installation by pushing in the direction of the arrows as shown.
      Fig 11: Identifying Spring Type Clamp
      G04434591Courtesy of © TOYOTA, LICENSE AGREEMENT TMS1002
  7. FOR VEHICLES EQUIPPED WITH MOBILE COMMUNICATION SYSTEMS 
    1. Install the antenna as far away from the ECU and sensors of the vehicle electronic systems as possible.
    2. Install the antenna feeder at least 20 cm (7.87 in.) away from the ECU and sensors of the vehicle electronic systems. For details about ECU and sensor locations, refer to the article of the applicable components.
      Fig 12: Installing Antenna
      G04434592Courtesy of © TOYOTA, LICENSE AGREEMENT TMS1002
    3. Keep the antenna and feeder separate from other wiring as much as possible. This will prevent signals from the communication equipment from affecting vehicle equipment and vice versa.
    4. Check that the antenna and feeder are correctly adjusted.
    5. Do not install a high-powered mobile communication system.
  8. FOR VEHICLES EQUIPPED WITH VEHICLE STABILITY (VSC) SYSTEM 
    1. NOTICES WHEN USING DRUM TESTER
      1. Before beginning testing, disable the VSC. To disable the VSC, turn the ignition switch OFF and connect SST to terminals 12 (TS) and 4 (CG) of the DLC3.

        SST 09843-18040 

        Fig 13: Identifying DLC3
        G04434593Courtesy of © TOYOTA, LICENSE AGREEMENT TMS1002
        NOTE:
        • Confirm that the VSC warning light blinks.
        • The VSC system will be reset when the engine is started.
        • For safety, secure the vehicle with restraint chains while using a wheel dynamometer.
    2. NOTICES OF RELATED OPERATIONS TO VSC
      1. Do not carry out unnecessary installation and removal procedures as they might affect the adjustment of VSC related parts.
      2. Be sure to follow the instructions for work preparation and final confirmation of proper operation of the VSC system.
  9. WHEN SERVICING FULL-TIME 4WD VEHICLES 

    The full-time 4WD LAND CRUISER is equipped with a mechanical lock type center differential system. During tests using a brake tester or chassis dynamometer, such as braking force tests or speedometer tests, if only the front or rear wheels are to be rotated, it is necessary to set the position of the center differential to FREE or LOCK depending on the type of test being performed.

    Fig 14: Identifying Transfer Select Lever & Shift Position
    G04434594Courtesy of © TOYOTA, LICENSE AGREEMENT TMS1002

    Center differential FREE condition: 

    CENTER DIFFERENTIAL FREE REFERENCE TABLE

    Item Condition Wheel
    Center differential switch OFF A lifted wheel cannot be rotated even if only one wheel is lifted up, as long as transmission is in N position
    Indicator light OFF
    Transfer select lever (H/L) w/VSC: H or L position
    w/o VSC: H position only

    Center differential LOCK conditions (w/VSC): 

    CENTER DIFFERENTIAL LOCK (w/VSC) REFERENCE TABLE

    Item Condition Wheel
    Center differential switch ON A lifted wheel cannot be rotated even if only one wheel is lifted up, as long as transmission is in N position
    Indicator light ON
    Transfer select lever (H/L) H or L position

    Center differential LOCK conditions (w/o VSC): 

    CENTER DIFFERENTIAL LOCK (W/O VSC) REFERENCE TABLE

    Item Condition Wheel
    Center differential switch ON A lifted wheel cannot be rotated even if only one wheel is lifted up, as long as transmission is in N position
    Indicator light ON
    Transfer select lever (H/L) H position
    Transfer select lever (H/L) L position
    Fig 15: Identifying Center Differential Lock Indicator Light
    G04434595Courtesy of © TOYOTA, LICENSE AGREEMENT TMS1002

    HINT:

    w/o Vehicle Stability Control (VSC) system:

    When the transfer select lever is put in the "L" position, the center differential is put in the LOCK condition regardless of the position of the center differential lock switch.

    CAUTION: Center differential "LOCK" <--> "FREE" selecting procedure:
    • Operate the switch only when all 4 wheels are stopped or driven in a straight line. 
    • Never operate the switch when any wheel is slipping. 
    • Never operate the switch when any wheel is spinning freely. 
    • Never operate the switch when swerving or cornering. 

    HINT:

    • Center differential "LOCK" <--> "FREE" selecting procedure:

      Move the vehicle forward or backward slightly if the indicator light does not operate correctly when the center differential lock switch is turned ON or OFF.

    • Transfer gear "H" <--> "L" gear shifting procedure:

      When shifting, always put the shift lever of the transmission in the N position. In other positions, the gears of the transfer clash, and switching cannot be performed.

      Fig 16: Identifying Transfer Select Lever & Shift Position
      G04434596Courtesy of © TOYOTA, LICENSE AGREEMENT TMS1002
  10. WHEN TESTING BRAKES, SPEEDOMETER, ETC. 
    1. When carrying out any kind of servicing or testing on a full-time 4WD in which the front or rear wheels are to be rotated (braking test, speedometer test), be sure to observe the precautions given below. Incorrect preparations or test procedures may cause a hazard as well as unsuccessful test results. Before starting any such servicing or test, be sure to check the following items:
      • Center differential mode position (FREE or LOCK)
        Fig 17: Identifying Transfer Select Lever & Shift Position
        G04434597Courtesy of © TOYOTA, LICENSE AGREEMENT TMS1002
      • Vehicle Stability Control (VSC) system (with or without):

        If the vehicle is equipped with the VSC system, the slip indicator light, the VSC / TRAC indicator light and the VSC OFF indicator light come on with the ignition switch turned ON. They will go off after a few seconds.

        Fig 18: Identifying Vehicle Stability Control (VSC) Indicator Light
        G04434598Courtesy of © TOYOTA, LICENSE AGREEMENT TMS1002
      • Whether wheels should be touching ground or jacked up
      • Transmission gear position (N position)
      • Transfer gear position (H or L position)
      • Maximum testing vehicle speed
      • Maximum testing time

      HINT:

      w/o Vehicle Stability Control (VSC) system:

      When the transfer select lever is put in the "L" position, the center differential is put in the LOCK condition regardless of the position of the center differential lock switch.

    2. Using Braking Tester:

      Measure by low-speed type (vehicle speed: below 0.5 km/h or 0.3 mph) brake tester and observe the following instructions before performing the test.

      1. Position the wheels to be tested (front or rear) on the tester.
      2. Put the center differential in the FREE position.
      3. If the vehicle is equipped with a Vehicle Stability Control (VSC) system, prohibit the system from activating (see  2 ).
        Fig 19: Putting Center Differential In Free Position
        G04434599Courtesy of © TOYOTA, LICENSE AGREEMENT TMS1002
      4. Shift the transmission shift lever to the "N" position.

        HINT:

        Do not forget to change the Vehicle Stability Control (VSC) & Traction Control (TRAC) system to the operational condition after the test.

        Check that the VSC warning indicator light goes off when restarting the engine.

    3. Using Speedometer Tester:

      Observe the following instructions and then measure with the rear wheels.

      1. Position the rear wheels on the tester roller.
      2. Position the front wheels on the free roller or jack them up.
      3. Put the center differential in the FREE position.
      4. If the vehicle is equipped with a Vehicle Stability Control (VSC) & Traction Control (TRAC) system, prohibit the system from activating (see  3 ).
        Fig 20: Positioning Rear Wheels On Tester Roller
        G04434600Courtesy of © TOYOTA, LICENSE AGREEMENT TMS1002
      5. Ensure that the vehicle does not move using wires.
        CAUTION: The maximum speed should be less than 60 km/h (37 mph) and maximum driving time should be 1 minute.

        HINT:

        • Sudden shifting, braking, acceleration or deceleration is not allowed.
        • Do not forget to change the Vehicle Stability Control (VSC) & Traction Control (TRAC) system to the operational condition after the test. Check that the VSC warning indicator light goes off when restarting the engine.
    4. Using Chassis Dynamometer:

      Observe the following instructions and then measure with the rear wheels.

      1. Remove the front propeller shaft.
      2. Put the center differential in the LOCK position.
      3. If the vehicle is equipped with a Vehicle Stability Control (VSC) & Traction Control (TRAC) system, prohibit the system from activating (see  2 ).
      4. Ensure that the vehicle is securely fixed in place.
        Fig 21: Removing Front Propeller Shaft
        G04434601Courtesy of © TOYOTA, LICENSE AGREEMENT TMS1002

        HINT:

        • Sudden shifting, braking, acceleration or deceleration is not allowed.
        • Do not forget to change the Vehicle Stability Control (VSC) & Traction Control (TRAC) system to the operational condition after the test. Check that the VSC warning indicator light goes off when restarting the engine.
    5. On-Vehicle Wheel Balancing:

      When doing on-vehicle wheel balancing on a full-time 4WD vehicle, to prevent each wheel from being rotated at a different speed and in different directions (which could damage the center differential), always be sure to observe the following precautions.

      1. All 4 wheels should be jacked up (lifted off of the ground completely).
      2. Put the center differential in the LOCK position.
      3. If the vehicle is equipped with a Vehicle Stability Control (VSC) & Traction Control (TRAC) system, prohibit the system from activating (see  2 ).
      4. The parking brake lever should be fully released.
      5. None of the brakes should be applied.
      6. The wheels should be driven on the wheel balancer with the engine running.
      7. Carry out the wheel balancing with the transmission in the D position.
        Fig 22: Precaution For - Wheel Balancing
        G04434602Courtesy of © TOYOTA, LICENSE AGREEMENT TMS1002

        HINT:

        • When doing the wheel balancing, pay attention to the other wheels rotating at the same time.
        • Sudden acceleration, deceleration or braking is not allowed.
        • Do not forget to change the Vehicle Stability Control (VSC) & Traction Control (TRAC) system to the operational condition after the test. Check that the VSC warning indicator light goes off when restarting the engine.
  11. WHEN TOWING FULL-TIME 4WD VEHICLES 
    • Use one of the methods shown below to tow the vehicle.
    • If the vehicle has trouble in the chassis and drive train, use method 1 (flat bed truck).
      4WD VEHICLES TOWING METHODS

      Towing Method Parking Brake Condition Transmission Shift Lever Position
      1. Flat Bed Truck
      G04434603Courtesy of © TOYOTA, LICENSE AGREEMENT TMS1002
      Applied Any Position
      2. Wheel Lift Type Truck From Front
      G04434604G04434605Courtesy of © TOYOTA, LICENSE AGREEMENT TMS1002© TOYOTA, LICENSE AGREEMENT TMS1002

      P From Rear
      G04434604G04434605Courtesy of © TOYOTA, LICENSE AGREEMENT TMS1002© TOYOTA, LICENSE AGREEMENT TMS1002
      Applied
      NOTE: Do not use any towing method other than those shown above.
      • For example, the towing methods shown below are dangerous or may damage the vehicle, so do not use them.
        VEHICLES TOWING METHODS

        G04434606Courtesy of © TOYOTA, LICENSE AGREEMENT TMS1002
        • Never tow the vehicle using a method where the lifted-up wheel cannot rotate.
        • If this towing method is used, either from the front or rear:
          1. There is a danger of the drive train heating up and causing a breakdown, or of the wheels flying off the dolly.
          2. In addition, if the vehicle is equipped with a Vehicle Stability Control (VSC) & Traction Control (TRAC) system, the system will apply the rotating wheels brake unless the engine is shut off.
        G04434607Courtesy of © TOYOTA, LICENSE AGREEMENT TMS1002
        Do not use the sling type method, either from the front or rear, as this method causes damage to the body.
  12. FOR VEHICLES EQUIPPED WITH CATALYTIC CONVERTER 
    CAUTION: If a large amount of unburned gasoline or gasoline vapors flow into the converter, it may cause overheating and create a fire hazard. To prevent this, observe the following precautions.
    1. Use only unleaded gasoline.
    2. Avoid idling the engine for more than 20 minutes.
    3. Avoid performing unnecessary spark jump tests.
      1. Perform a spark jump test only when absolutely necessary. Perform this test as rapidly as possible.
      2. While testing, never race the engine.
    4. Avoid a prolonged engine compression measurement. Engine compression measurements must be performed as rapidly as possible.
    5. Do not run the engine when the fuel tank is nearly empty. This may cause the engine to misfire and create an extra load on the converter.